LDS
1 paнг
- Регистрация
- 5 Июл 2019
- Сообщения
- 4,992
- Реакции
- 3,258
- Баллы
- 145
- Возраст
- 38
- Страна
- Украина
- Имя
- Дмитрий
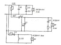
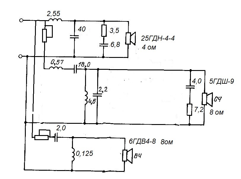
25 ГДН-4-4 (15 ГД-17) | ldsound.info
Круглая низкочастотная динамическая головка разработки ВНИИРПА. Диапазон частот 63–5000 Гц. Чувствительность - 87 дБ. Предельная мощность - 25 Вт.
- г. Великий Березный, Закарпатская область, Украина;
- “Ферроприбор”, г. Красное Село, Россия.
Диапазон воспроизводимых частот: 63 – 6300 Гц
Неравномерность АЧХ: 12 дБ
Чувствительность в диапазоне 63-6300: 87 дБ
Номинальная мощность: 15 Вт
Максимальная шумовая мощность: 25 Вт
Номинальное значение сопротивления: 4 Ом
Частота основного резонанса: 35 Гц (±5 Гц)
Эквивалентный объем: 24 л (±2 л)
Полная добротность: 0,35 (±0,15)
Габаритные размеры: 160х160х78 мм
Масса: 1,4 кг
Конструкция:
Головка электродинамического типа, низкочастотная, круглая, с неэкранированной магнитной цепью. Корзина изготовлена методом литья под давлением из алюминиевого сплава. Максимальная выходная мощность усилителя должна быть не более 25 Вт.
Магнитная цепь:
- Склеен из двух кольцевых ферритовых магнитов марки М28РА180 размером 84х45х10,75 мм.
- Керн диаметром 25 мм.
- Звуковая катушка намотана медным проводом диаметром 0,18 мм на алюминиевом каркасе высотой 27 мм. намотка двухслойная, в первом слое 31 витков, во втором – 30, омическое сопротивление 3,8 ±0,2 Ом. Высота ЗК 7,5 мм, внутренний диаметр 25,4 мм, внешний (вместе с намоткой) 26,6 мм. На верхний край звуковой катушки наклеено резиновое кольцо весом 1,6 гр.
- Диффузор из бумажной массы. Под колпачком имеет четыре отверстия для вентиляции.
- Подвес тороидальной формы из резины, подклеиваемый к внутреннему краю диффузора.
- Центрирующая шайба из ткани с пропиткой.
- Колпачок сферической формы из металлизированной лавсановой плёнки, толщиной 0,1 мм.
Еще фото, но колпачок не родной, видны следы небрежного приклеивания:
Спасибо Николаю за сканы паспорта:

Последнее редактирование:







. Переход 4/5кГц будет заметен при высокой частоте раздела. Наверное, с первым порядком с 1 кГц тоже.



