Постройка басовой секции

  • Автор темы Автор темы Пётр
  • Дата начала Дата начала
отдельно взятый ВЧ должен при такой АЧХ звучать противно. Это не заметно?
Я мерил розовым шумом. Шипит он себе... я бы не сказал, что прям противно.
Буду планировать с трёх метров перемерить. В надежде.
Ну и может - что другие люди подскажут чуть позже здесь...
 
Как он мог появиться
Нехорошая догадка: с А.Б. измеряли один ВЧ, а сейчас - другой. ПосмОтрите завтра второй. Может, этот просто раскрутился или расклеился? Да, сч тоже разные, но это в самом конце (сведЕние левой с правой).
 
Нехорошая догадка: с А.Б. измеряли один ВЧ, а сейчас - другой. ПосмОтрите завтра второй. Может, этот просто раскрутился или расклеился? Да, сч тоже разные, но это в самом конце (сведЕние левой с правой).
Пишки 409-е я привез в тот раз. Других пока не предвидится. С емкостишкой в одну микру ачх крайне пологая, торчащих углов нет. шкварить некому.

Не отходя от кассы - зафиксировал АЧХ ВЧ динамика через фильтр (отдельно):
Посмотреть вложение 81154
На графике
- малиновым цветом это то, что засняли вместе с А. Бокарёвым в 2019
- синим цветом - это то, что наснимал я сейчас

Почему наверху отдача увеличилась - логичное объяснение как бы есть - были заменены выходные трансформаторы. А старые - имели завал наверху.
А вот, как получилось, что нижняя граница вниз по частоте уехала - объяснений не могу найти. Может ВЧ динамик со временем как бы "разрабатываться"? При замере с А.Б. - они были новые, из коробки.

Ну и заснял суммарную АЧХ (при работе СЧ и ВЧ секций одновременно)
Посмотреть вложение 81156
красная линия - результирующая
синяя линия- ВЧ отдельно
зелёная линия - СЧ отдельно (нормальное подключение делителя из резисторов)

В надежде что кто-нибудь даст комментарии...
сМОТРИ ВЫШЕ, где советую врезать в ВЧ контур катушку, сразу за кондером, в землю сидящую. бери 0,68-0,8 мгн, присядет резонансный торчок на 1300, подтянется полочка
в районе 507 кил. Сейчас фильтр отрезал слишком высоко.
Емкость можно добавить, сделав скажем, 1, 5 мкф.

Теперь только завтра. Смотал всё. Поздно.

Микрофон ставил - примерно 1 м напротив средней точки между СЧ и ВЧ по высоте. Ноя микрофон двигал - выше/ниже этот пычок - везде присутствовал. Если только стена напротив как-то может отражать... даже и не знаю.

Больше всего смущает, что с Александром этот же динамик мерили, с таким же фильтром - и этого горба не было. Как он мог появиться
Пик мог давиться высоким выходным усилителя.

Не отходя от кассы - зафиксировал АЧХ ВЧ динамика через фильтр (отдельно):
Посмотреть вложение 81154
На графике
- малиновым цветом это то, что засняли вместе с А. Бокарёвым в 2019
- синим цветом - это то, что наснимал я сейчас

Почему наверху отдача увеличилась - логичное объяснение как бы есть - были заменены выходные трансформаторы. А старые - имели завал наверху.
А вот, как получилось, что нижняя граница вниз по частоте уехала - объяснений не могу найти. Может ВЧ динамик со временем как бы "разрабатываться"? При замере с А.Б. - они были новые, из коробки.

Ну и заснял суммарную АЧХ (при работе СЧ и ВЧ секций одновременно)
Посмотреть вложение 81156
красная линия - результирующая
синяя линия- ВЧ отдельно
зелёная линия - СЧ отдельно (нормальное подключение делителя из резисторов)

В надежде что кто-нибудь даст комментарии...
Удавишь пик на пищалке, уровень ее убавишь, будет правильный стык.
Катуху ставь на пищалу. Непременно.
 
Давайте по-порядку, пожалуйста. Сначала - разобраться с СЧ. Что я своим умишком уяснил. АЧХ СЧ с фильтром - можно считать, что совпадает - тот вариант, что замеряли с Александром в 2019, тот вариант что я подключил резисторы неправильно и тот вариант что я подключил резисторы-делитель как положено. Отсюда я как бы делаю вывод: нужно уяснить правильное расположение L-pad (делителя), сделать как правильно. И закрыть пока тему с СЧ. Хотелось бы услышать комментарий А. Бокарёва - насчёт того, можно ли считать, что АЧХ по СЧ одинаковые https://ldsound.club/attachments/2-png.81153/
Следующий вылезший момент - по ВЧ. Я конечно, могу перемерить с трёх метров - но спокойствия не будет, даже если там всплеска на частоте резонанса не будет. Я точно помню - с Александром мы мерили примерно метр от пищалки. И всплеска понизу на АЧХ - не было. Планирую подобным образом замерить второй ВЧ - есть ли там выброс АЧХ в районе 1700 Гц. И потом уже - читать ваши рекомендации по изменению фильтра ВЧ. Признаюсь - в этот тёмный лес не хотелось бы заходить. Но вижу - что АЧХ - совсем не такая, как тогда и с теми выходниками. Ситуация абсурдная - ущербные выходные трансформаторы, с завалом поверху - выравнивали АЧХ пищалки. Теперь же, с нормальными трансами - АЧХ стала задираться вверх к 20 кГц.
 
А сейчас тем же микрофоном измеряли?
 
А сейчас тем же микрофоном измеряли?
да

Замерил второй ВЧ динамик.
1.png

красным - замеры с Александром в 2019
синим - мои замеры сейчас

чуть ниже уехал нижний срез по частоте. Но такое впечатление, что Марков Николай прав - с Александром мы мерили похоже именно этот ВЧ динамик. Ну и похоже - что они отличаются (два ВЧ динамика друг от друга)

вот как бы сравнение двух ВЧ (наложенных на эталонный для меня - замер 2019):
2.png


Что делать дальше?
Совет от А. Бокарёва услышал - увеличивать номинал конденсатора в фильтре ВЧ с 1 мкФ до 1,5 мкФ и поставить катушку индуктивности (сразу за кондёром в землю) - я так понимаю, это переход с 1-го порядка фильтра на 2-ой. Ну и хотелось бы услышать - в связи с моими замерами по второму ВЧ динамику - что-то меняется? Или - рекомендации по моим действиям остаются те же?
 
Последнее редактирование:
Пик мог давиться высоким выходным усилителя.
Ну и шуточки у тебя, боцман!(С) Оно как раз повышает пик резонанса, уменьшая демпфирование. Но реактивное сопротивление 1 мкФ на частоте 1,6 кГц равно 100 Ом (!), и добротность подвижки ВЧ головки равна механической добротности.
Если в зазоре высохла магнитная жижа (просто предположение), то запросто...
Рабочая версия для СЧ из Ямахи!
сМОТРИ ВЫШЕ, где советую врезать в ВЧ контур катушку, сразу за кондером, в землю сидящую. бери 0,68-0,8 мгн, присядет резонансный торчок на 1300, подтянется полочка
в районе 507 кил. Сейчас фильтр отрезал слишком высоко.
Емкость можно добавить, сделав скажем, 1, 5 мкф.
Можно и так. Частоту раздела надо вернуть на 3 кГц минимум. Но последовательным контуром если править пик, то крутизна ската снижается, а если просто катушкой, то повышается.
да

Замерил второй ВЧ динамик.
Посмотреть вложение 81162
красным - замеры с Александром в 2019
синим - мои замеры сейчас

чуть ниже уехал нижний срез по частоте. Но такое впечатление, что Марков Николай прав - с Александром мы мерили похоже именно этот ВЧ динамик. Ну и похоже - что они отличаются (два ВЧ динамика друг от друга)

вот как бы сравнение двух ВЧ (наложенных на эталонный для меня - замер 2019):
Посмотреть вложение 81163

Что делать дальше?
Совет от А. Бокарёва услышал - увеличивать номинал конденсатора в фильтре ВЧ с 1 мкФ до 1,5 мкФ и поставить катушку индуктивности (сразу за кондёром в землю) - я так понимаю, это переход с 1-го порядка фильтра на 2-ой. Ну и хотелось бы услышать - в связи с моими замерами по второму ВЧ динамику - что-то меняется? Или - рекомендации по моим действиям остаются те же?
Ну вот. а ты боялась... Оба ВЧ растоптались, но по-разному. Выше 2,5 кГц - никакой разницы.
Не вижу кайфа в том, чтобы ВЧ работали до частоты своего резонанса (1,5 и 1,8 кГц), независимо от того, пик там или ровно. (А динамики-то точно против.) Следовательно, частота раздела 3 кГц. Идя по пути наименьшего сопротивления, добавляем просто катушку на землю по заветам А. Б., и для ДВУХ ВЧ смотрим картинку. Если АЧХ резко приближаются друг к дружке - обойдёмся без последовательного контура, уменьшив номинал катушки для болящей ВЧ.. В противном случае (уйди, працивный) лучше поставить последовательные контуры на частоты резонанса, и резистором в них вырулить идентичные АЧХ. Напоминаю: на этих частотах для данной конструкции идентичная АЧХ = идентичная ФЧХ. И чем АЧХ мягче валится, тем линейнее ФЧХ.
Хотелось бы услышать комментарий А. Бокарёва - насчёт того, можно ли считать, что АЧХ по СЧ одинаковые https://ldsound.club/attachments/2-png.81153/
Были бы разные - он "рассказал" бы Вам за СЧ, а не за ВЧ.
Ситуация абсурдная - ущербные выходные трансформаторы, с завалом поверху - выравнивали АЧХ пищалки. Теперь же, с нормальными трансами - АЧХ стала задираться вверх к 20 кГц.
Всё логично, сэр. Посмотрите на монотонно задирающуюся АЧХ ФВЧ первого порядка #3,447 . А Пишка вверху - ровная. Это - работа фильтра.

Совет от А. Бокарёва услышал - увеличивать номинал конденсатора в фильтре ВЧ с 1 мкФ до 1,5 мкФ и поставить катушку индуктивности (сразу за кондёром в землю) - я так понимаю, это переход с 1-го порядка фильтра на 2-ой. Ну и хотелось бы услышать - в связи с моими замерами по второму ВЧ динамику - что-то меняется? Или - рекомендации по моим действиям остаются те же?
Возьмите лучший ВЧ, добавьте катушку на землю (сначала не трогая номинал 1 мкФ), посмотрите верхний стык.
*****
Сложно плыть против водопада. Вы пока-что всё измеряете в предположении возврата к трёхполосной АС? Дело в том, что настраивать всю лабуду надо с тем УМ, с которым и будет фильтр работать. Причём, при выходном сопротивлении УМ 6 Ом, подключение полосы НЧ скажется на уровне полосы СЧ и наоборот, причём с Вашими 60 мкФ (Вы их пока не изменили?) ФСЧ повлияет на НЧ полосу сильнее. Надо определиться сейчас: какой УМ, сколько УМ. Надо для того, чтобы мы увидели полку НЧ. Пока мы её не видим, мы не знаем: поднимать уровень для СЧ или валить горб вверху для ВЧ. В биампинге не так критично: полки НЧ и СЧ/ВЧ ровняются регулировкой уровня УМ СЧ/ВЧ в сторону уменьшения. А в трёхполоске...
 
Последнее редактирование:
Сложно плыть против водопада. Вы пока-что всё измеряете в предположении возврата к трёхполосной АС? Дело в том, что настраивать всю лабуду надо с тем УМ, с которым и будет фильтр работать. Причём, при выходном сопротивлении УМ 6 Ом, подключение полосы НЧ скажется на уровне полосы СЧ и наоборот, причём с Вашими 60 мкФ (Вы их пока не изменили?) ФСЧ повлияет на НЧ полосу сильнее. Надо определиться сейчас: какой УМ, сколько УМ. Надо для того, чтобы мы увидели полку НЧ. Пока мы её не видим, мы не знаем: поднимать уровень для СЧ или валить горб вверху для ВЧ. В биампинге не так критично: полки НЧ и СЧ/ВЧ ровняются регулировкой уровня УМ СЧ/ВЧ в сторону уменьшения. А в трёхполоске...
Николай, то что Вы говорите (руководство к действию) - для меня страшно (не понятно).
Александр - уже имел дела с подобными пищалками PHT-409. Я как бы склонен считать что у него именно с этими пищалками - именно опыт. Ну и пишет он в шуточно-лёгкой форме - мозгу легче поверить, легче довериться. Не в обиду Вам. Вы мне - тоже многими советами тут уже помогли.
Что касается биамп/не биамп. В идеале - я хотел бы иметь SE 6С4С на всю трёхполосную АС. Но если по-новой покажется "каша" на басу - уже мыслями почти смирился с тем, чтобы PP 6П41С отдельно на басовую секцию работал (биамп). СЧ/ВЧ же секция - в любом случае планируется подключаться к SE 6С4С. И свои замеры АЧХ по СЧ/ВЧ сейчас - я делаю именно через усилитель SE 6С4С. Так как АЧХ сравниваю с полученной в 19 году - то и детали применяю те же, что в 19 году: 5,1 Ом, 3 Ом (2 шт.), 60 мкФ, 1 мкФ, 0,68 мГн. Если и переходить на другие номиналы - то постепенно осознанно. А не так - что возьму и махом заменю на 1,5 мкФ, 40 мкФ и т.д. Надеюсь - поймёте.
1.jpg
 
Последнее редактирование:
Николай, то что Вы говорите (руководство к действию) - для меня страшно (не понятно).
Александр - уже имел дела с подобными пищалками PHT-409. Я как бы склонен считать что у него именно с этими пищалками - именно опыт. Ну и пишет он в шуточно-лёгкой форме - мозгу легче поверить, легче довериться. Не в обиду Вам. Вы мне - тоже многими советами тут уже помогли.
Что касается биамп/не биамп. В идеале - я хотел бы иметь SE 6С4С на всю трёхполосную АС. Но если по-новой покажется "каша" на басу - уже мыслями почти смирился с тем, чтобы PP 6П41С отдельно на басовую секцию работал (биамп). СЧ/ВЧ же секция - в любом случае планируется подключаться к SE 6С4С. И свои замеры АЧХ по СЧ/ВЧ сейчас - я делаю именно через усилитель SE 6С4С. Так как АЧХ сравниваю с полученной в 19 году - то и детали применяю те же, что в 19 году: 5,1 Ом, 3 Ом (2 шт.), 60 мкФ, 1 мкФ, 0,68 мГн. Если и переходить на другие номиналы - то постепенно осознанно. А не так - что возьму и махом заменю на 1,5 мкФ, 40 мкФ и т.д. Надеюсь - поймёте.
Всё делаете правильно.
 
Не дождался дополнительных комментариев А.Б., - полез ваять.
Припаял катушку индуктивности 0,68 мГн в цепь ВЧ, сразу после конденсатора на землю:
1.jpg

Замерил АЧХ:
1.png

красным цветом - АЧХ ВЧ в 2019;
синим цветом - то что получилось сейчас с катушкой 0,68 мГн.
Динамик замерялся - тот, у которого вчера был всплеск побольше в районе 1,7 кГц. Этот выброс - ушёл. Но АЧХ - с наклоном уходит вверх по отдаче, с увеличением частоты. Что мне делать дальше?
P.S. Замер данного синего графика пришёлся на момент усиления дождя за окном - поэтому спад слева пологий. В более тихой обстановке этот вариант ниже сообщением.
 
Последнее редактирование:
Тут такое дело, что собственное низкое активное сопротивление катушки (проволока) должно помогать "давить" резонанс. А резистор 3 (Ома, если я правильно понял) препятствует этому. Здесь для достижения лучшего результата, наверное, имеет смысл "подвигать" как самими детальками, так и их номиналами. ИМХО
 
Сделал доп измерения (динамик левый, у которого всплеск на АЧХ на частоте резонанса)
3.png

На графике:
красная линия - правый ВЧ динамик, 2019
малиновая линия - левый динамик без индуктивности сейчас
синяя линия - левый динамик с индуктивностью сейчас

Ещё одно наложение:
4.png

здесь:
синяя линия - левый динамик с индуктивностью сейчас
зелёная линия - правый динамик без индуктивности сейчас
Мистика, фантастика. Такие графики приводят меня в ступор и к осознанию - что я ничего не понимаю. Хоть целую вечность замерять. Лишь на ваши советы надежда.
Здесь для достижения лучшего результата, наверное, имеет смысл "подвигать" как самими детальками, так и их номиналами. ИМХО
К сожалению, "подвигать" (т.е. - самого важного) я не умею

Сделал ещё замер. Поменял конденсатор с 1 мкФ на 1,5 мкФ. Схемка такая:
2.jpg

Динамик левый, у которого всплеск на Fрез был больше
1.png

Здесь
красная линия - правый ВЧ, 2019
зелёная линия - конденсатор 1 мкФ
синяя линия - конденсатор 1,5 мкФ
Что лично я могу отметить. При увеличении номинала конденсатора - можно считать, что АЧХ чуть выровнялась - т.к. вверху они сходятся, а внизу у синего - отдача побольше. Ну и общее - в нижней части АЧХ поднялась по отдаче при увеличении номинала конденсатора до 1,5 мкФ. Уровни и замеры - были те же что и при зелёной линии (с конденсатором 1 мкФ).
Таким образом, я выполнил советы (по внедрению катушки и по увеличению конденсатора). Но итог не вижу, и куда дальше двигаться.
 
Последнее редактирование:
Даешь ФВЧ в составе 1мкФ, катушка на землю, 3 Ома, и к нему - СЧ полосу! Смотрим стык. Чуйка, что катушку надо будет убавить там, где она есть (где ВЧ с выбросом), и поставить 0,68 там, где сейчас нет. Патамушта перегиб АЧХ ВЧ полосы на 2 кГц вылезет горбом на суммарной АЧХ в ненужном месте 2,5 кГц - раз, и резонансная частота ВЧ головок находится в полосе рабочих частот - два.
Видно, что вторым порядком обойдется.
 
К сожалению, "подвигать" (т.е. - самого важного) я не умею
Размотать катуху на половину.
Намотахать обратно, делая отводы через 10-15 витков.
(аналогично, втыкая в дырку катухи железяку – магнетик/диамагнетик, а потом замеряя всякие Генри)
Ну и несколько кондёров и резючков, которые последовательно/параллельно.
То будет "подвигать" (номиналами);)
 
Последнее редактирование:
Даешь ФВЧ в составе 1мкФ, катушка на землю, 3 Ома, и к нему - СЧ полосу! Смотрим стык. Чуйка, что катушку надо будет убавить там, где она есть (где ВЧ с выбросом), и поставить 0,68 там, где сейчас нет. Патамушта перегиб АЧХ ВЧ полосы на 2 кГц вылезет горбом на суммарной АЧХ в ненужном месте 2,5 кГц - раз, и резонансная частота ВЧ головок находится в полосе рабочих частот - два.
Видно, что вторым порядком обойдется.
Чувствую, что какая-то мысль вложена. Но ничего не понял. Можете чуть проще, для чайников? "И к нему СЧ полосу" - это как? Это замер совместный попробовать сделать АЧХ (СЧ+ВЧ), в надежде что как-то на суммарной компенсируется что-то?
 
"И к нему СЧ полосу" - это как? Это замер совместный попробовать сделать АЧХ (СЧ+ВЧ), в надежде что как-то на суммарной компенсируется что-то?
Да, именно так. Если стык получится нормальный, уровень на стыке вырастет на 5...6дБ, и 1,5 мкФ будут не нужны, хватит и 1 мкФ в ФВЧ. А там посмотрим, уменьшать катушку или нет.
Не бойтесь, меняйте, измеряйте, выкладывайте.
 
Проделал. Так как я понял.
Схема такая (ВЧ динамик левый):
1.jpg

Замерял АЧХ суммарно СЧ+ВЧ и отдельно - СЧ и ВЧ. Графики получил такие:
1.png


Дабы не терять время в ожидании советов - сделал ещё замеры. С конденсатором 1,5 мкФ в ВЧ звене. Левый ВЧ динамик.
Схемка:
2.jpg

Результаты:
2.png
 
Последнее редактирование:
Проделал. Так как я понял.
Схема такая (ВЧ динамик левый):
Посмотреть вложение 81215
Замерял АЧХ суммарно СЧ+ВЧ и отдельно - СЧ и ВЧ. Графики получил такие:
Посмотреть вложение 81216
Неплохо по суммарной АЧХ, но странно на стыке. Взаимопомощь по-прежнему слабая, выше 3кГц отсутствует напрочь. Наблюдается перехлёст полос в зоне 1,8...3кГц, а суммарный горб 2,3 кГц к удивлению несильный.
Спрошу кой-чего. Когда Вы снимаете эти три АЧХи, микрофон не двигается с места? Я к тому, что суммарная ВЧ должны бы совпадать с полосой ВЧ, а у Вас - расхождение до 3дБ.
Если уровень СЧ здесь достаточный (а это не видно, пока Вы не добавили НЧ полосу), то достаточно увеличить на Ома четыре гасящий резистор и таки уменьшить катушку, до 0,5 мГн, чтобы ушло наложение полос.

Дабы не терять время в ожидании советов - сделал ещё замеры. С конденсатором 1,5 мкФ в ВЧ звене. Левый ВЧ динамик.
Схемка:
Посмотреть вложение 81217
Результаты:
Посмотреть вложение 81218
Тут ВЧ пашет на частоте резонанса вовсю. Весь стык влез в 1,5...1,8кГц, и это печалька. Его надо поднимать вверх, и сильно. Вариант с 1 мкФ лучшее.
 
Последнее редактирование:
Спрошу кой-чего. Когда Вы снимаете эти три АЧХи, микрофон не двигается с места? Я к тому, что суммарная ВЧ должны бы совпадать с полосой ВЧ, а у Вас - расхождение до 3дБ.
Я при съёмке АЧХ - держу микрофон в руке, примерно метр от динамика. При этом - позволяю себе его (микрофон) двигать: 20 см вверх/вниз и ещё 20 см вправо/влево. И, откровенно говоря, ищу при этих движениях такое положение, где нет острых всплесков на АЧХ. Нашёл такое - фиксирую как итог. То есть, как бы - пытаюсь найти наиболее красивый вариант, подсознательно.
А мне что - поставить микрофон на стойку мёртво и снимать? Там не так красиво (хоть и это не особо красиво) может получиться.
Если уровень СЧ здесь достаточный (а это не видно, пока Вы не добавили НЧ полосу), то достаточно увеличить на Ома четыре гасящий резистор и таки уменьшить катушку, до 0,5 мГн, чтобы ушло наложение полос.
Пока что предлагаю считать, что уровень СЧ достаточный для НЧ полосы. Вроде с СЧ примерно совпало с тем что было в 2019. Хоть на что-то надо опереться.

Перезамерил. Благо - все спят уже, не мешают.
Микрофон установил жёстко. Напротив средины между СЧ и ВЧ по высоте и на расстоянии от динамиков на 1 м. Во время всех измерений он оставался строго на одном и том же месте.
Результаты:
1.jpg

2.png


и

2.jpg

1.png



По мотивам Николая (и исходя из наличия деталей) собрал и замерил ещё пару схем. Может это поспособствует вам дать мне совет далее действовать.
4.jpg

4.png


и

5.jpg

5.png
 
Последнее редактирование:
Я бы ограничился увеличением резистора 8,1ом(в несколько приемов, ом до 20), выравнивая уровень СЧ-ВЧ, а индуктивность вернуть для начала 0,68 мгн и потом изменять(увеличивать), ликвидируя появившийся провал на стыке полос.
 
Последнее редактирование:
А я бы измериловку перепроверил...Сколько раз было непонятное, то обновление винды прошло и все не так, то файл коррекции "отпал", то "линейность" пропала, и опять все по другому. В конце концов сделал отдельный ноут, только для измерений. и перед измерением брал подписанный динамик с "эталонной АЧХ" и "поверял".
Сейчас попроще, с нормальным капсюлем, постабильнее стало :).
 
В конце концов сделал отдельный ноут, только для измерений. и перед измерением брал подписанный динамик с "эталонной АЧХ" и "поверял".
Все как доктор велел.
Инструмент отдельный, и специальная приблуда для его калибровки. А иначе только цену бананов в зимбабве показывать будет.
 
Я при съёмке АЧХ - держу микрофон в руке, примерно метр от динамика. При этом - позволяю себе его (микрофон) двигать: 20 см вверх/вниз и ещё 20 см вправо/влево. И, откровенно говоря, ищу при этих движениях такое положение, где нет острых всплесков на АЧХ. Нашёл такое - фиксирую как итог. То есть, как бы - пытаюсь найти наиболее красивый вариант, подсознательно.
А мне что - поставить микрофон на стойку мёртво и снимать? Там не так красиво (хоть и это не особо красиво) может получиться.
Спалились. smile_1
Пока что предлагаю считать, что уровень СЧ достаточный для НЧ полосы. Вроде с СЧ примерно совпало с тем что было в 2019. Хоть на что-то надо опереться.
А я бы измериловку перепроверил...
Сведём две полосы. Потом окажется - надо было на 2дБ выше. Хотя, есть гасилки, ими и вырулим, ОК.
Перезамерил. Благо - все спят уже, не мешают.
Микрофон установил жёстко.
Поздравляю с нормальными стыками, наконец!
Напротив средины между СЧ и ВЧ по высоте и на расстоянии от динамиков на 1 м. Во время всех измерений он оставался строго на одном и том же месте.
Результаты:
Посмотреть вложение 81219
Посмотреть вложение 81220
Стык - протяжённый, но добавка на переходе 2,7 кГц всего 3дБ, не 6дБ. Есть перехлёст полос и перебор ВЧ.
Стык умер, ВЧ пашет на частоте резонанса.
По мотивам Николая (и исходя из наличия деталей) собрал и замерил ещё пару схем. Может это поспособствует вам дать мне совет далее действовать.
Посмотреть вложение 81223
Посмотреть вложение 81224
Правильным путём!
Особо интересный вариант. Хотя стык уехал на 4 с лишним кГц, есть желанные +6дБ на стыке! Спляшем отсюда. Увеличьте ёмкость на 220 нФ или 500 нФ, гасящий дальше увеличиваем, ещё на 4 Ома. Хорошо ввести второй гасящий резистор, перед всем фильтром. Резистор перед фильтром снижает крутизну среза фильтра, резистор перед динамиком - повышает крутизну, будет дополнительный инструмент влияния на АЧХ. Катушка пусть стоИт эта.
Особо радует, что ВЧ избавился от частот, близких к резонансной.
 
Николай, спасибо. Александр Бокарёв - занят наверное своими делами. А Вы - прониклись уже моей ситуацией, хотя бы отчасти (думаю). Выходные на исходе - поэтому попробую рулить под Вашим началом. Хотя - мне не понятно как рулится именно по этому пути. Предложение от kolobrkin мне казалось более понятным.
Особо интересный вариант. Хотя стык уехал на 4 с лишним кГц, есть желанные +6дБ на стыке! Спляшем отсюда. Увеличьте ёмкость на 220 нФ или 500 нФ, гасящий дальше увеличиваем, ещё на 4 Ома. Хорошо ввести второй гасящий резистор, перед всем фильтром. Резистор перед фильтром снижает крутизну среза фильтра, резистор перед динамиком - повышает крутизну, будет дополнительный инструмент влияния на АЧХ. Катушка пусть стоИт эта.
Особо радует, что ВЧ избавился от частот, близких к резонансной.
Конденсатор 1,5 мкФ, резистор перед динамиком ВЧ 12 Ом - верно?
 
Николай, спасибо. Александр Бокарёв - занят наверное своими делами. А Вы - прониклись уже моей ситуацией, хотя бы отчасти (думаю). Выходные на исходе - поэтому попробую рулить под Вашим началом. Хотя - мне не понятно как рулится именно по этому пути. Предложение от kolobrkin мне казалось более понятным.

Конденсатор 1,5 мкФ, резистор перед динамиком ВЧ 12 Ом - верно?
Судя по предлагаемым Вами номиналам, с элементами не густо... Да, пробуйте.
Такая мысля. Пишка очень туго реагирует на гасящий резистор. Попробуйте вариант с 16 Ом в параллель Пишке.
 
Николай, вот такой результат:
1.jpg

1.png



а с индуктивностью поменьше, получается так:

2.jpg

2.png


Такая мысля. Пишка очень туго реагирует на гасящий резистор. Попробуйте вариант с 16 Ом в параллель Пишке.
А 12 Ом последовательно Пишке при этом остаются?

Не дождавшись ответа, попробовал:
3.jpg

3.png



Далее самовольничал. В катушку индуктивности вставил стальные кусачки:
4.jpg

4.png

если та же схема, но без кусачек:
5.png
 
Последнее редактирование:
Николай, вот такой результат
Шыкардос.
Попробуйте
ф.png
Смысл происходящего: подтянуть зону 3...4 кГц с обеих сторон. Дальше пробуйте с 2,5 мкФ в ФВЧ.
Вот я провёл средний уровень: Зелёная - суммарная с НЧ полосой (прогноз).
ф3.png
НЧ добавит уровень ниже 1,5 кГц, гарантия. А 3...4 кГц останутся там же. Вы бы таки посмотрели полку НЧ.
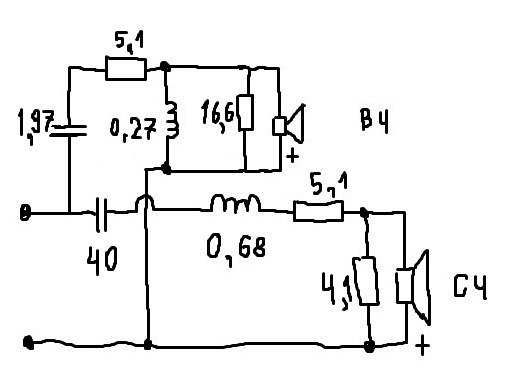
И опробуйте такую топологию ФВЧ. Она более спокойная по ФЧХ и импедансу.
ф4.png
 
Последнее редактирование:
Последнее редактирование:
ОК! СЧ полосе пошло на пользу, ибо акцент на зону нижних СЧ уменьшился или даже исчез, есть полочка 500...2000 Гц . ВЧ полосе и стыку в целом пошло не на пользу изменение топологии: крутизна ската упала, и резонансная частота опять вылезла.
То же самое, перемерил при сглаживании 1/9 октавы (против 1/6 ранее):
Не надо 1/9, лучше уж 1/3!
СЧ пока фиксируем, по -6дБ сверху есть искомые 3,5 кГц.
ВЧ снимите со схемой 2 мкФ; 0,27мГн; 14 Ом; 16 Ом.
Не успел... Топология не годится для Пишки: пролезла резонансная частота ВЧ головки.
А по суммарной АЧХ посмотришь и скажешь - почти отлично ))) Средник- то действительно ляля.
Перейдите к сглаживанию 1/3 и добавьте НЧ полосу. Микрофон пусть стоИт, где стоял.
 
Последнее редактирование:

Статистика форума

Темы
3,305
Сообщения
263,161
Пользователи
2,544
Новый пользователь
vlad'mir
Назад
Сверху Снизу