Германиевые УНЧ

Шикарная основа для сочинения АВшника на легендарных AD161-AD162.
Юрию Робертовичу респект. Как раз ищу похожую схему.

Может для Тлф, или небольшой мощности, проще как в книжке Иржи Свобода(1976 год!), подумаю.Посмотреть вложение 7791
Транзисторы есть из HARMAN /KARDON, 2SA1859 и 2SK4883
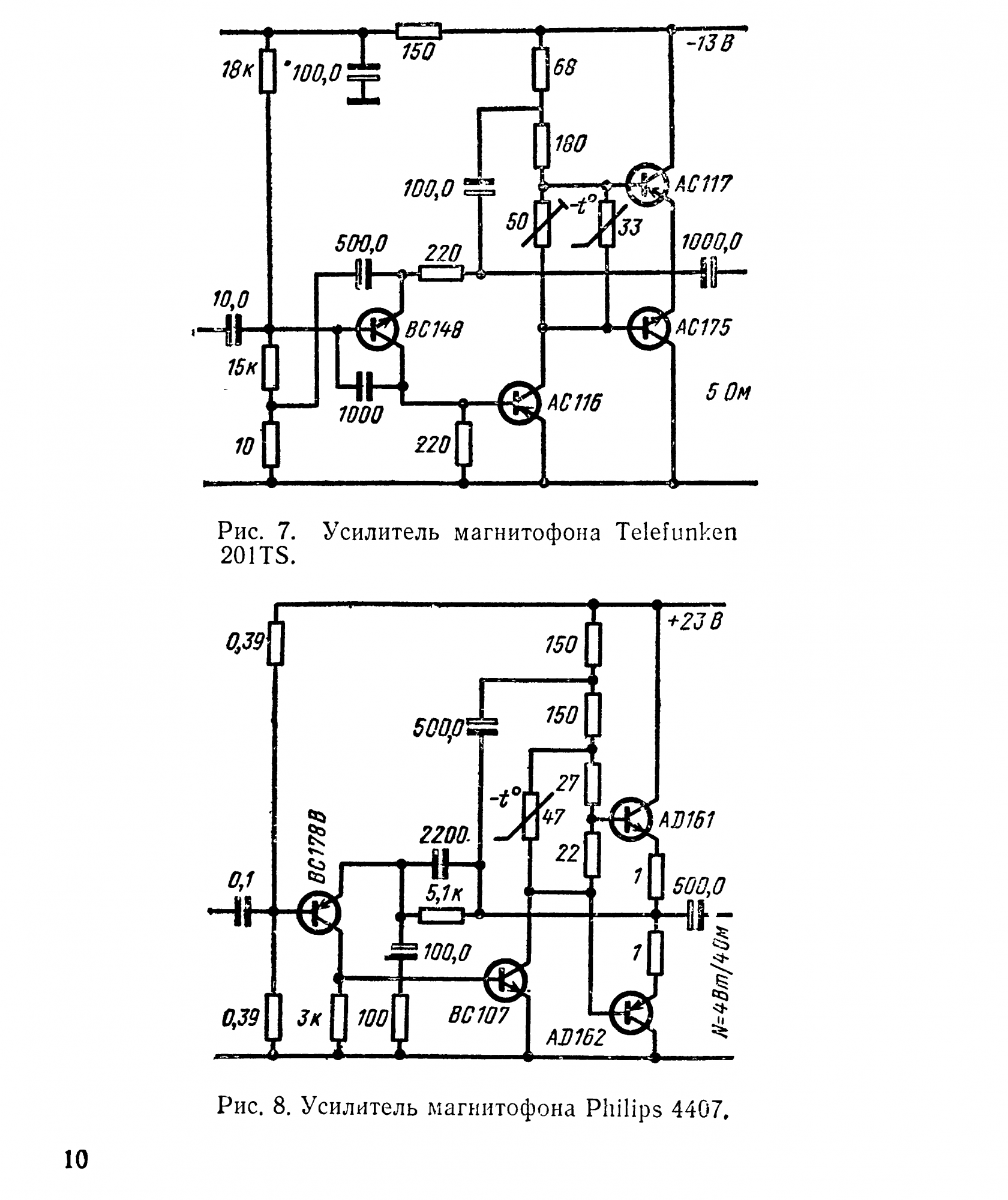
Схема от Филипса 4407 у меня пела на нашей паре П605-П701

Извиняйте, это не для меня... А сейчас нет ни здоровья, и средств(денег), на пенсию можно или как? зимой на дрова, летом готовлюсь к зиме.
Импорт повторять - себя не ценить!

Георгий Крылов о германии
Посмотреть вложение 8201
А это вообще гениальная схема , то, что надо. Крутим полярность и на входе ставим 2П303.
Вместо германия МП37 ставим круть от Филипса. ВС 327 . У него усиление конское и предельные высокие. AD-шки на выход. Между базами пара резюков, один-термик.
 
А это вообще гениальная схема , то, что надо. Крутим полярность и на входе ставим 2П303.
Вместо германия МП37 ставим круть от Филипса. ВС 327 . У него усиление конское и предельные высокие. AD-шки на выход. Между базами пара резюков, один-термик.
Естественно гениальная. Но из за одного ватта ее все игнорировали((( додики!
 
Все изделия от почившей в бозе Акай играли и играют супер плохо. Причину я не знаю, никогда из за их звукового почерка изделия этого бренда не покупал. Даже в молодости .
Да ладно... И магнитофоны они не умели делать?

А это вообще гениальная схема , то, что надо. Крутим полярность и на входе ставим 2П303.
Вместо германия МП37 ставим круть от Филипса. ВС 327 . У него усиление конское и предельные высокие. AD-шки на выход. Между базами пара резюков, один-термик.
Собирал такую в детстве, вместо 402-404 (хрен тогда найдёшь), были 703-705, но работала на 10ГД-36 хорошо.
 
Вот она, Свобода
 

Вложения

  • Свобода Модульные усилители mrb0908 1976г_002.png
    Свобода Модульные усилители mrb0908 1976г_002.png
    178 KB · Просмотры: 245
  • Свобода Модульные усилители mrb0908 1976г_042.png
    Свобода Модульные усилители mrb0908 1976г_042.png
    669 KB · Просмотры: 234
  • Свобода Модульные усилители mrb0908 1976г_043.png
    Свобода Модульные усилители mrb0908 1976г_043.png
    502.1 KB · Просмотры: 230
  • Свобода Модульные усилители mrb0908 1976г_044.png
    Свобода Модульные усилители mrb0908 1976г_044.png
    912.2 KB · Просмотры: 228
  • Свобода Модульные усилители mrb0908 1976г_047.png
    Свобода Модульные усилители mrb0908 1976г_047.png
    657.5 KB · Просмотры: 245
  • Свобода Модульные усилители mrb0908 1976г_048.png
    Свобода Модульные усилители mrb0908 1976г_048.png
    675.7 KB · Просмотры: 259
Вот она, Свобода
Схема рис 27 уже проблемная, два недостатка, низкое изначальное усиление и входное сопротивление, требуется согласующий каскад. Хотя, как-то играть будет .
На такой нужно тренироваться, потом довести до нормальной. Вот для нее как раз лучше всего применить на входе ВС337или 2SC2240
 
Да ладно... И магнитофоны они не умели делать?
Кассетники Акай играли хуже, по сравнению с Пионерами. У Акай "тощий" звук, хотя и прозрачный. У меня такой опыт. Катушечник Акай у меня был только один одномоторный с ручкой и то не свой. Вроде 4000, в итоге электроника 003 с усилителями Сухова играла лучше. Катушки с пластинок я не писал, а получал готовые из мск. А все 646, 747 стояли для понтов в студиях, чтобы кассеты и пленки заказывали у них. Усилители Акай мне не нравятся. Они сухие. Все эти впечатления из ранней молодости.
 
Кассетники Акай играли хуже, по сравнению с Пионерами. У Акай "тощий" звук, хотя и прозрачный. У меня такой опыт. Катушечник Акай у меня был только один одномоторный с ручкой и то не свой. Вроде 4000, в итоге электроника 003 с усилителями Сухова играла лучше. Катушки с пластинок я не писал, а получал готовые из мск. А все 646, 747 стояли для понтов в студиях, чтобы кассеты и пленки заказывали у них. Усилители Акай мне не нравятся. Они сухие. Все эти впечатления из ранней молодости.
У приятеля были усилители Акай на STK-шках. Рассчитаны были строго на 8 Ом, 4-омные колонки их палили. Приятель откидывал крышку у горелой STK-шки. вместо упаленных выходных транзисторов паял на площадки для выводов наши 819-е, усилитель после этого спокойно тащил 4 Ома.
Звук тех Акаев- да. сухой. Его JVC AX-40 звучал куда интереснее
 
У приятеля были усилители Акай на STK-шках. Рассчитаны были строго на 8 Ом, 4-омные колонки их палили. Приятель откидывал крышку у горелой STK-шки. вместо упаленных выходных транзисторов паял на площадки для выводов наши 819-е, усилитель после этого спокойно тащил 4 Ома.
Звук тех Акаев- да. сухой. Его JVC AX-40 звучал куда интереснее
Я как то пол года проработал в магазине торговавшие муз инструментами, па усилителями и колонками. Там в дистрибуции была Ямаха. И вот, абсолютно все, кто эту Ямаха до меня много лет продавал говорили, что она очень надёжная, но даёт сухой звук в сравнении с другими брендами. И Ямаху музыканты тогда покупали в основном из за раскрученности бренда и привычки, но никак не из за звука. Вот та Ямаха (усилители) сильно напомнили Акай из молодости.

Немного не в тему. Посмотрел только что ролик в Ютубе об очередном посещении кем- то зала всем известного Балаева с его магнитофонами и вечными перестройками и переделками всего и вся ... Блин! Сотый раз убедился, что Львович музыку не слушает вообще. Он слушает только звуки. Барабаны там. Бас гитары. Фрагменты. Т.е. он махровый аудиофил. Я это к тому, что у людей абсолютно разное восприятие. И всем нужно что-то своё.

Это касается и пппаратуры и музыки. Универсальных решений, которые можно назвать эталоном и примером для всех в аудио не существует. Аббас. Львович. Кондо и т.д. все слышат и понимают по разному. Поэтому усилители. Худы, Дьяволы, 2а3, гм70 и т.д. нужно подбирать исключительно под свои собственные уши, если это нужно именно вашим ушам.
 
Как раз наоборот - спорить есть о чем. Один держится за ногу слона, другой за его хвост, третий за ухо, четвертый за хобот. А эхо от споров обрисовывает полную его картину.
Еще желательно сим мудрецам каждому потрогать и ногу, и хвост, и гриву.
А то если германий, то вечное топтание вокруг разных вариантов Худа. Или возврат к еще более старым решениям.
 
У кого что есть, кт342в, кт3102д до фига
 
Как раз наоборот - спорить есть о чем. Один держится за ногу слона, другой за его хвост, третий за ухо, четвертый за хобот. А эхо от споров обрисовывает полную его картину.
Еще желательно сим мудрецам каждому потрогать и ногу, и хвост, и гриву.
А то если германий, то вечное топтание вокруг разных вариантов Худа. Или возврат к еще более старым решениям.
Для меня схема Худа самое простое решение для применения на выходе одинаковой проводимости транзисторов без выкручивания с квазипарами.

Собрал примитивную измермакаку на весу и соплях, чисто глянуть ворота рамок усиления по току разных транзисторов, собранных в эти дни .
перемерил заново по верной методике, цифры получились правильные.
На токе в 1 Ампер усиление ГТ906 оказалось 50, на токе 0,5а те же 50
1Т910 АД на 1 Ампере выдали бету 166, AD162 на ампере выдал 111 .
Это по-нашему. по-бразильски!

Собрал волю, соорудил правильную измерилу, глянул усиление на токе в 0,2ампера.
У П605 и 605А от 60 до 150. У ГТ906А всех по 60 . П 609 и 609А от 50 до 150.
1Т910 меньше сотни нет, в основном 120-180 . AD161 AD162 150-200.
 
Последнее редактирование:

Вложения

  • Свобода, стр.48.png
    Свобода, стр.48.png
    229.4 KB · Просмотры: 211
В момент запуска или по-другим причинам?
 
В момент запуска или по-другим причинам?
Гальваника между питанием, выходом и динамиком. Горит транзистор-горит динамик.
нужно либо по Акулиничеву делать выход, средняя точка в воздухе. Либо защиту от постоянки.
 
Мда.., за всё хорошее придётся платить. Всё же это лучше чем 5000мкФ подбирать?
 
Мда.., за всё хорошее придётся платить. Всё же это лучше чем 5000мкФ подбирать?
Зачем подбирать 5000мк? Там вообще-то хватает и 2200 и 4700 если 8 Ом.
А ежели так сделать выход , то в сумме по переменке все 10 тыс мк
 
Вот, что слушает и на чем А.С.Бокарев мы вчера узнали, а Юрий Робертович расскажет...!?
 
Я вариант подключения акустики по Акулиничеву пробовал в макете - звучит хорошо. Только в момент запуска есть бросок напряжения на выходе,, на всякий пожарный ставил резистор-эквивалент нагрузки, потом подключал динамики. При выключении - более-менее, скачка нет.
5000 мкФ - я имел в виду качество конденсатора. Лишь бы что туда не поставишь...
 
Гальваника между питанием, выходом и динамиком. Горит транзистор-горит динамик.
нужно либо по Акулиничеву делать выход, средняя точка в воздухе. Либо защиту от постоянки.
Либо делать цирклотрон. Там гальваническая связь выхода с динамиком безопасна.
 
цирклотрон. Там гальваническая связь выхода с динамиком безопасна.
Можете коротенько так рассказать о безопасности циклотрона? Что будет с АС если "прострелит" один из транзисторов?
 
Если прострелит с обрывом выводов, то на нагрузке будет ноль. Если транзистор сварится на КЗ, то сработает предохранитель его узла питания.
А если надо рассказать длинненько, то заходите в темы цирклотронов. Там об этом уже сказано.
 
Акулиниччева из 1-74 года и на вых п601-605 или гт806
 
Вот, что слушает и на чем А.С.Бокарев мы вчера узнали, а Юрий Робертович расскажет...!?

Акулиниччева из 1-74 года и на вых п601-605 или гт806
Юра, я нарыл в офисе фирмы ящик ГТ906 в металле и 905 в пластике. Они сильно крепче 605-х. Хотя, с усилением швах.

Я вариант подключения акустики по Акулиничеву пробовал в макете - звучит хорошо. Только в момент запуска есть бросок напряжения на выходе,, на всякий пожарный ставил резистор-эквивалент нагрузки, потом подключал динамики. При выключении - более-менее, скачка нет.
5000 мкФ - я имел в виду качество конденсатора. Лишь бы что туда не поставишь...
Ставлю проверенные Jackon ы , у них ESR мизерный в широкой полосе, промышленный Тайвань.
 
Меня устраивают п601би, 1т806в, и они дома

к50-24, к50-29 круче
 
Меня устраивают п601би, 1т806в, и они дома
605й с эмиттерным резистором в 15 Ом и раскачкой от Худа (одна из схем нынешней статьи) около ватта дает на выходе. Звучит красиво. Чем-то даже интереснее прочих.

к50-24, к50-29 круче
На базаре уже нет таких , практически. разве что из хлама добывать.
зато есть К50-77. И 77-И. Где они применяются- секрет.
"Кто даст правильный ответ. тот получит восемь лет" :)

Я вариант подключения акустики по Акулиничеву пробовал в макете - звучит хорошо. Только в момент запуска есть бросок напряжения на выходе,, на всякий пожарный ставил резистор-эквивалент нагрузки, потом подключал динамики. При выключении - более-менее, скачка нет.
5000 мкФ - я имел в виду качество конденсатора. Лишь бы что туда не поставишь...
Щелчок в акустике не от способа подключения динамика, к земле или средней точке. а от самой схемы усилителя. И самый идиотский вариант- когда к усилителю с двухполярным питанием и бесшумному при включении цепляется однополярный пред с однополярным питанием, создающий при включении дикий перепад на выходе , само собой, в динамике тоже.
Хорошая симметричная схема не нуждается в защите динамиков от постоянки, не хлопает при включении или выключении, такие схемы просто включаются вилкой в сеть и слушаются без фона, шума или грохота.
 
На базаре уже нет таких , практически. разве что из хлама добывать.
зато есть К50-77. И 77-И. Где они применяются- секрет.
"Кто даст правильный ответ. тот получит восемь лет" :)
Этот "музыкальный" инструмент-фагот называется.Вернее один из них.
 
Коллеги. , я не разработчик, а экспериментатор. Всегда пользуюсь чужими знаниями и трудами. Сам только сравниваю, и если - Вау! тогда применяю либо себе, либо людям. Большинство любителей музыки наших форумов не читают и безмерно далеки от схем и деталей. Вот им много лет помогаю. Это к тому, что я всегда прислушиваюсь у специалистам. Но как правило сравниваю по звучанию уже готовые решения. Без глубокого залезания в теорию и расчеты. В частности всегда слушаю советы здешних обитателей, кое кого с нового А Портала, Вегалаба и т.д. Но основные практические знания я почерпнул у двух людей, это Юра Грибанов и Аббас Зульфагаров. Я их считаю своими преподавателями. Все, что они делают делает хорошо моим ушам. Хоть оба "заточены" на разработку техники под классическую музыку.

Вот одна мысль Аббаса, которую я полностью разделяю и поддерживаю "

Что касается "чисто инженерного подхода", не бывает в хорошем аудио только инженерного или только эзотерического подхода. Хороший звук - это всегда комплексный подход. Когда все составляющие более менее учтены.
Если это трансформатор - то с технической стороны должны быть обеспечены параметры, а со звуковой - выбраны подходящие материалы на слух, проволока и железо. Нельзя намотать трансформатор с хорошим звуком исходя только из цифр, ведь говно получается. Или получается хорошо, но совершенно случайно - взяли удачную проволоку и хорошее железо. Сейчас получилось хорошо, завтра плохо, параметры и способы намотки не изменились, всего лишь проволоку поменяли.

Как они , эти корифеи, аудио занимаются, когда до таких простых вещей за 20 -30 лет дойти не могут?


Чисто инженерный подход - это как жену выбирать по цифрам. Есть такие объявления. Вес 60, рост 165, жопа 90, грудь 3 размера, хорошо готовлю, один ребенок от предыдущего брака. Вывод: "я твоя мечта". И делай с ней что хочешь, ведь цифры то хорошие! А что у нее там в голове и в душе, ты узнаешь спустя лет двадцать, если будешь с ней жить.
Так они и аудио строят, как в этих объявлениях женятся. Живут с кем попало 20 лет и не могут понять, почему им вместе так хреново. Так по цифрам выбирали друг друга!
Целиком нужно реальность воспринимать, ЦЕЛИКОМ.
 
Стесняюсь спросить:
- а может быть какая " засада", если брать непаянный мощный германий 70-х, 80-х, 90-х годов выпуска...!?

Все мыслимые сроки хранения и гарантии давно закончились...На свой страх и риск:(
На различных сайтах есть объявления о продаже наборов для усилителя на "германии", где в качестве выходных П605 вып. ...77 года, правда с "пз"...
- а отзывы хорошие...
 

Статистика форума

Темы
3,296
Сообщения
262,243
Пользователи
2,543
Новый пользователь
vlad'mir
Назад
Сверху Снизу