JLH на германиевых транзисторах

Интересно, тут на форуме есть ли где нибудь сравнение схем Беслика и МУН.
По совершенству схемотехники, и на качество звука ???
 

Вложения

  • IMG_20231123_192505.JPG
    IMG_20231123_192505.JPG
    189 KB · Просмотры: 213
  • IMG_20231106_232242.JPG
    IMG_20231106_232242.JPG
    155.9 KB · Просмотры: 192
Вы врятли найдёте человека ,который бы собрал все три схемы сразу и сравнил бы их.Но по "совершенству" JLH-АБ на германии с термостабилизацией (последняя версия АБ) будет как по параметрам ,так и по звуку лучше,но мощность меньше почти в три раза.Акустика у Худа должна от 8 Ом и выше быть.
 
Интересно, тут на форуме есть ли где нибудь сравнение схем Беслика и МУН.
По совершенству схемотехники, и на качество звука ???
Схемы с дифкаскадом что-то не то делают со звуком. ТОСник лучче.

Вы врятли найдёте человека ,который бы собрал все три схемы сразу и сравнил бы их.Но по "совершенству" JLH-АБ на германии с термостабилизацией (последняя версия АБ) будет как по параметрам ,так и по звуку лучше,но мощность меньше почти в три раза.Акустика у Худа должна от 8 Ом и выше быть.
Сравнив на слух схемы на AD161-162 , с куриным током покоя , с недавно выруленной по Агееву на германии а до того с Ашником на ГТ806 , выбор пал однозначно не на классику , по схемам Филипса, Телефункена , Сименса и проч. Там зажатость в звуке, с ростом тока покоя звук свободнее . Агеевский вообще чемпион по звучанию. Идеальный баланс у него.
 

Вложения

  • IMG_20231014_092903.jpg
    IMG_20231014_092903.jpg
    287.9 KB · Просмотры: 269
По мне.такая, и то лежит под кроватью, люблю СЕ ламповые
 

Вложения

  • IMG_1799.jpg
    IMG_1799.jpg
    150.4 KB · Просмотры: 173
Одного усилителя мало, чтобы звук сложился . При мне друг составил систему, поменяв усилитель и источник. Только после этого комнату наполнила благодать. Даже ламповый однотактник на 2А 3 проиграл в звучании гибридному Ашнику на латералах с ламповым предом. А цап на 1541 уступил место на полке фирменному DAC64 MK2
Отсюда мораль. Нет заведомо удачной схемы. Все нужно слушать в сборе.
 
Сравнив на слух схемы на AD161-162 , с куриным током покоя , с недавно выруленной по Агееву на германии а до того с Ашником на ГТ806 , выбор пал однозначно не на классику , по схемам Филипса, Телефункена , Сименса и проч. Там зажатость в звуке, с ростом тока покоя звук свободнее . Агеевский вообще чемпион по звучанию. Идеальный баланс у него.
Я правильно понял,что на первом месте AD161-162,по Агееву,на втором Худ-АБ,на ГТ806,и потом все остальные по звуку?

Одного усилителя мало, чтобы звук сложился . При мне друг составил систему, поменяв усилитель и источник. Только после этого комнату наполнила благодать. Даже ламповый однотактник на 2А 3 проиграл в звучании гибридному Ашнику на латералах с ламповым предом. А цап на 1541 уступил место на полке фирменному DAC64 MK2
Отсюда мораль. Нет заведомо удачной схемы. Все нужно слушать в сборе.
Больше всего "слаживаемость" зависит от правильного подбора усилитель -акустика,затем всё остальное.Ещё лет 20 назад я в это не верил,пока не услышал сам ,как мои полочники на альнико ужасно играли с Маранцем рм 17-как радиоточка в квартире.Но когда их подключил,к германиевому Лику 30,то АС сразу перешли в разряд наверное самых любимых.До этого я слепо верил в то ,что хорошего звука на малой громкости не бывает.И кривые равной громкости здесь виной,но всё оказалось не совсем так,или вернее почти не так.
 
,пока не услышал сам ,как мои полочники на альнико ужасно играли с Маранцем рм 17-как радиоточка в квартире.Но когда их подключил,к германиевому Лику 30,то АС сразу перешли в разряд наверное самых любимых.До этого я слепо верил в то ,что хорошего звука на малой громкости не бывает.
Может, дело в конденсаторах на выходе усилителя? Электролит 1000мкФ на частоте 50Гц имеет импеданс 3.2 Ома, что добавляет динамику добротности и отдачи на низах. Тогда как динамик на резонансной частоте имеет повышенное сопротивление, и это понижает частоту среза RC - фильтра.
 
Может, дело в конденсаторах на выходе усилителя? Электролит 1000мкФ на частоте 50Гц имеет импеданс 3.2 Ома, что добавляет динамику добротности и отдачи на низах. Тогда как динамик на резонансной частоте имеет повышенное сопротивление, и это понижает частоту среза RC - фильтра.
Если бы всё было так просто,то германиевый Leak 30 и кремниевый Leak 30+ играли бы одинаково .Но с первым поют а со вторым нет.Но с кремнием поёт более современная АС на керамике,но хуже чем в первом случае.
 
Я правильно понял,что на первом месте AD161-162,по Агееву,на втором Худ-АБ,на ГТ806,и потом все остальные по звуку?
Думаю, все именно так. Хотя, времени от выслушивания Худа на германии ушло вагон.
 
Претендент на первое место, но лампы не убьешь, они всегда ПЕРВЫЕ
 

Вложения

  • IMG_1829.jpg
    IMG_1829.jpg
    158.5 KB · Просмотры: 218
Мой убитый ковидлой слух устроит унч на чем угодно,хоть на соленых огурцах. На лампах и капиталист звук спаяет.А ты на кремнях попробуй.
 
Лампы самые стойкие к кривым ручкам и лени. Спишут все, кроме грубых ошибок.
 
Разрядные резисторы - надо проверять их наличие в схеме. Особенно чужой.
Поймал один раз банки на пальцы, но схема была паяна не мной.
Сэкономил паяльщик на них. ПальцАм особого вреда не отметил. Схавали 600 В.
Ну и левая рука за спиной. Аксиома лампового монтажа.
В этом плане низковольтные транзисторные схемы с "ламповым звуком" куда предпочтительнее.
 
Последнее редактирование:
Разрядные резисторы - надо проверять их наличие в схеме. Особенно чужой.
Поймал один раз банки на пальцы, но схема была паяна не мной.
Сэкономил паяльщик на них. ПальцАм особого вреда не отметил. Схавали 600 В.
В наших краях было иначе. Спаяли двухблочный унч , соединялся с питанием кабелями на разъемах. Хозяин стал переносить отключенный унч и взялся рукой за открытый разъём-папу, с сидящим на нем анодным. Уронил усилитель, лампы вдрысь.
Паяльщик не я, у меня резисторов на 120 и 180 кил вагон, паяю их не задумываясь в питание.
 
Повадился параллелить разрядные резисторы. Ставлю разные по номиналу. С использованием по мощности и предельному напряжению не выше четверти и половины максимально допустимых пределов, соответственно.
Не часто вижу на форумах, чтобы народ упоминал, что у резисторов есть еще и предельно допустимое напряжение.
 
У меня всегда 200 ком на конденсаторах, даже хотели поймать меня на разряд на бестрансформаторный источник
 
Форсируют динамику?
Традиционно считаются "отстоем" из-за подавления четных гармоник, и возвеличивания нечетных.
Что характерно для любых двухтактных каскадов, не только дифференциального.
Но ведь никто не мешает использовать приборы, которые сами не плодят нечетных гармоник.
 
Ну очень возвеличивают
Class-A (Graham Maynard)_2.jpg
Class-A (Graham Maynard)_1.jpg
 
Последнее редактирование:
Ну очень возвеличивают
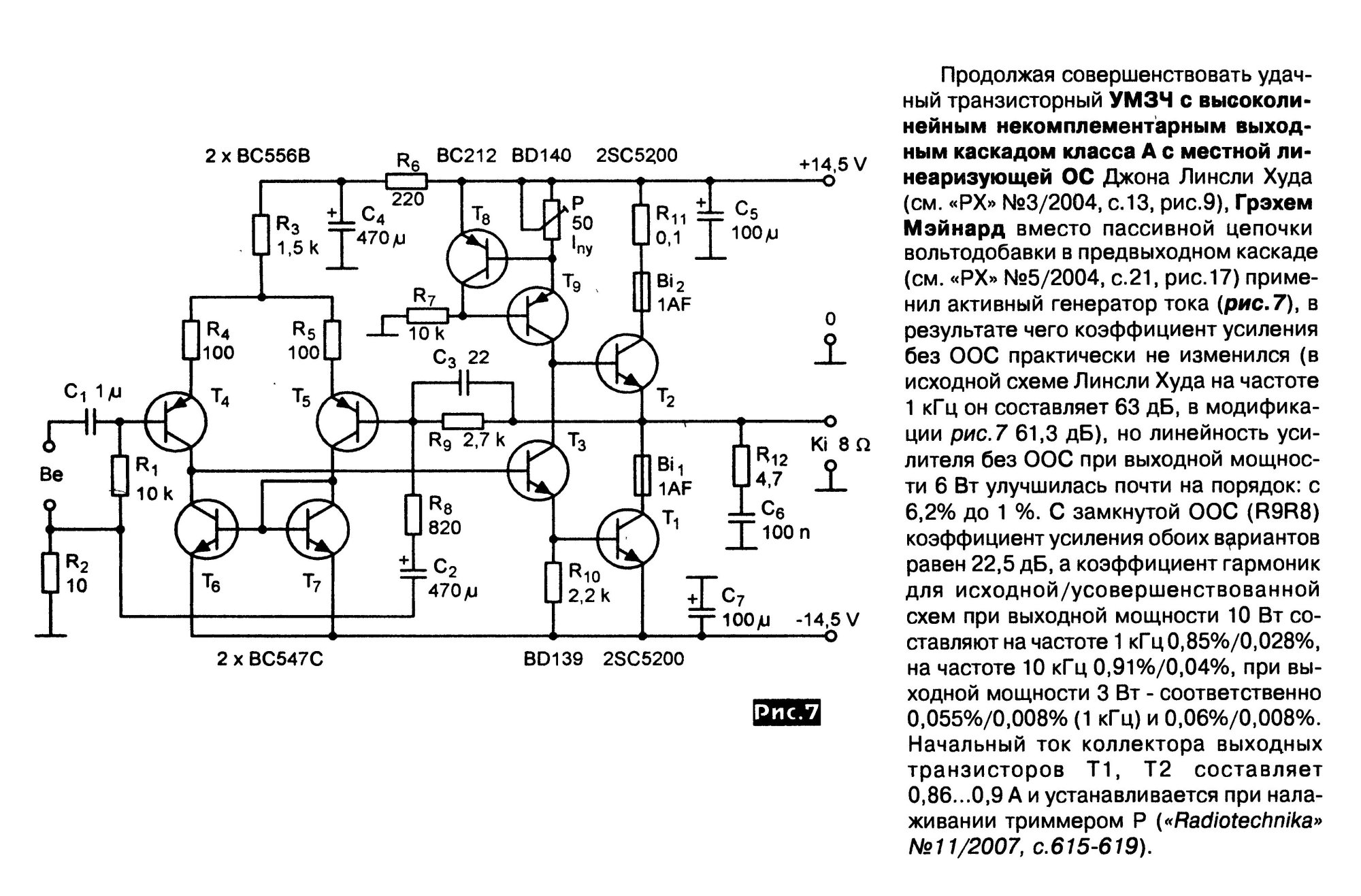
Они от идеи Худа оставили только одиночный ВК. Который - да - при токовом управлении дает высокую линейность. Выше обычной "двойки", и уж тем более "тройки" ВК.
И выдавили нули гармоник увеличением глубины ОООС, за счет работы дифкаскада на токовое зеркало.
 
Схемы с дифкаскадом что-то не то делают со звуком. ТОСник лучче.


Сравнив на слух схемы на AD161-162 , с куриным током покоя , с недавно выруленной по Агееву на германии а до того с Ашником на ГТ806 , выбор пал однозначно не на классику , по схемам Филипса, Телефункена , Сименса и проч. Там зажатость в звуке, с ростом тока покоя звук свободнее . Агеевский вообще чемпион по звучанию. Идеальный баланс у него.
Александр Сергеевич. Как в этой схеме с температурным режимом транзисторов? Какой, примерно, радиатор применить?
Хочу попробовать, все есть.
 
Александр Сергеевич. Как в этой схеме с температурным режимом транзисторов? Какой, примерно, радиатор применить?
Хочу попробовать, все есть.
На фото пара транзисторов сидит на листочке из алюминия размером с печеньку. И как бы все живы. Серёжа Торопов посадил эти пары на листок побольше, примерно 10 на 10 см. Там больше не нужно, радиаторы еле теплые. Питание невелико, ток скромный, мА 120-150 на канал.
В плане осторожного запуска схемы , чтобы не жахнуть по бесценным транзисторам, есть пара советов, сам запускал крайне осторожно, по-пластунски. Получилось.
Если коротко- сначала запускаем пред каскад, потом подпаиваем выходные транзисторы, не замкнутые эмиттерами, контролируя ток питания , замыкаем эмиттеры через 0,5- 1 Ом, ток покоя не должен улететь за 100ма. Если так, коротим эмиттерный резистор, смотрим за током покоя. И среднюю точку делаем парой резисторов, цепляем на базы предвыхолного каскада.
 
Последнее редактирование:
Петров симулировал JLH с дифкаскадом на кремнии и мосфетах и нахваливал покойного Г.Мэйнарда.
А если бы ещё согласовать повторителем дифкаскад с усилителем напряжения-тока !
 

Статистика форума

Темы
3,302
Сообщения
262,884
Пользователи
2,544
Новый пользователь
vlad'mir
Назад
Сверху Снизу