Чисто полевые, простые. Цирклотрон КП903В. Цирклотрон КП1

Jpatay, кп903 с гт806 на одном радиаторе без прокладок, а потом через прокладку на общий радиатор!!! Также мыслилось, а печатка есть или платы на продажу?
 
Чем и хорош КП903, что все электроды изолированы от корпуса. По той же причине и параллелить его легко.
 
Jpatay, кп903 с гт806 на одном радиаторе без прокладок, а потом через прокладку на общий радиатор!!! Также мыслилось, а печатка есть или платы на продажу?
Да, уголки через прокладку прикручены к радиатору, но уголки разрезанные, между ними контакта нет. Платы уже заказаны в Китае, но под КП802/1Т813. В принципе можно вместо КП802 закрутить и КП903. Я уже приготовил пару радиаторов под КП802/1Т813. В начале февраля Юрик приедет с командировки и сделает так, чтобы все могли заказывать в Китае. А пока он заказал только 10 плат.

Jpatay, а печатка есть?
Нашёл свою макетную печатку. Она рассчитана под односторонний текстолит. Печатка рисовалась под мосфеты, поэтому ВК придётся сделать на отдельной плате и разместить под уголком. Я так и сделал, только на китайской плате.

Как бы всё... Снял карту всех напруг на транзюках, но они могут отличаться, всё зависит от начальных токов полевиков и смещения на выходе драйвера. Вчера и сегодня гонял усилитель по несколько часов на разной мощности. Звук обалденный. А главное схема получилась термостабильная, без всяких термодатчиков. Ток покоя при нагревании радиатора доходит до 200 мА, останавливается и стоит, как вкопанный. КП903 здесь выполняет роль термодатчика. Температура в комнате + 20°С, на радиаторах + 37,6°C.
КП903.GIF
Есть одна проблема, при включении стаба, во время переходных процессов, напряжение смещения "гуляет" от -5 В до +5 В. Так, что все напруги одновременно включать нельзя. Не хочется ставить задержку включения питания ВК. На мосфетах в ВК со смещением +3,8 В, я просто тормознул плюсовую напругу стаба, поставив на управляющий вход ЛМки кондёр 100 мкФ. Попробую ещё здесь над стабами поколдовать, но тут надо, чтобы при включении, на выходе драйвера, напруга не опускалась ниже -2,4 В. И при выключении - тоже. _da
 

Вложения

  • КП1.png
    КП1.png
    1.2 MB · Просмотры: 212
  • кп-.jpeg
    кп-.jpeg
    138.3 KB · Просмотры: 206
  • КП1.lay6
    КП1.lay6
    96.1 KB · Просмотры: 113
Последнее редактирование:
Классное решение. применить в предусилении транзистор с падающей от нагрева крутизной.
Сам не ожидал такого... Аля-Агеев получился. :)

Есть одна проблема, при включении стаба, во время переходных процессов, напряжение смещения "гуляет" от -5 В до +5 В.
Посидел над стабом..., поставил перед LM337 эл.лит на 4700 мкФ. Теперь при выключении питания напряжение смещения долго стоИт, всё ок, а вот при включении ничего не получается. Напряжение на ВК быстрее приходит, чем с выхода стабов и получается кратковременный большой скачок тока. Короче буду ставить задержку включения силового транса. Тем более, что у меня есть готовая плата. Там буквально надо задержку в несколько секунд. Стаб питается от отдельного небольшого транса.
 
Сам не ожидал такого... Аля-Агеев получился. :)


Посидел над стабом..., поставил перед LM337 эл.лит на 4700 мкФ. Теперь при выключении питания напряжение смещения долго стоИт, всё ок, а вот при включении ничего не получается. Напряжение на ВК быстрее приходит, чем с выхода стабов и получается кратковременный большой скачок тока. Короче буду ставить задержку включения силового транса. Тем более, что у меня есть готовая плата. Там буквально надо задержку в несколько секунд. Стаб питается от отдельного небольшого транса.
Те же мысли , но применительно к затее цирклотрона на могучих СИТах , нормально открытых. Мудрить не хочется с всякими батарейками таймерами и дежурными режимами. А просто не получается. Кроме софтстарта пока идей нет.
 
А просто не получается. Кроме софтстарта пока идей нет.
Так отож. И это будет надёжней.

но применительно к затее цирклотрона на могучих СИТах
Следующий мой макет будет на связке КП802/1Т813. ;)
 
И здесь можно будет прибавить вольт питания, добыв больше мощности. По пробойным напряжениям, и по мощности, ограничения отодвигаются.
 
Наверное, 4х30 было бы самый раз. Как компромисс между током покоя, и рассеиваемой мощностью.
Даже в случае 1Т813А запас по пробойному напряжению, в импульсе, будет полуторакратный.
 
Наверное, 4х30 было бы самый раз.
ОК.

Прикрутил временно транзюки КП802/1Т813 к уголку с радиатором, чтобы посмотреть как оно будет выглядеть. Всё ничего то, но был у меня уголок длиной 0,5 м. Поделил его на 4 части по 12,5 см. Два - на КП903/ГТ806 и два - на КП802/1Т813. И, блин, для крепления 1Т813 по пол см. по краям не хватило, но как-то прикручу крайние болты к плате. _da
 

Вложения

  • КП802.JPG
    КП802.JPG
    233 KB · Просмотры: 129
Следующий мой макет будет на связке КП802/1Т813. ;)
Кстати, сейчас мелькнула мыслишка, в режиме софтстарта давать смещение завышенное, а потом реле софтстарта вторым контактом подшунтирует цепь смещения и оно плавно упадет до нормы с полным питанием.
 
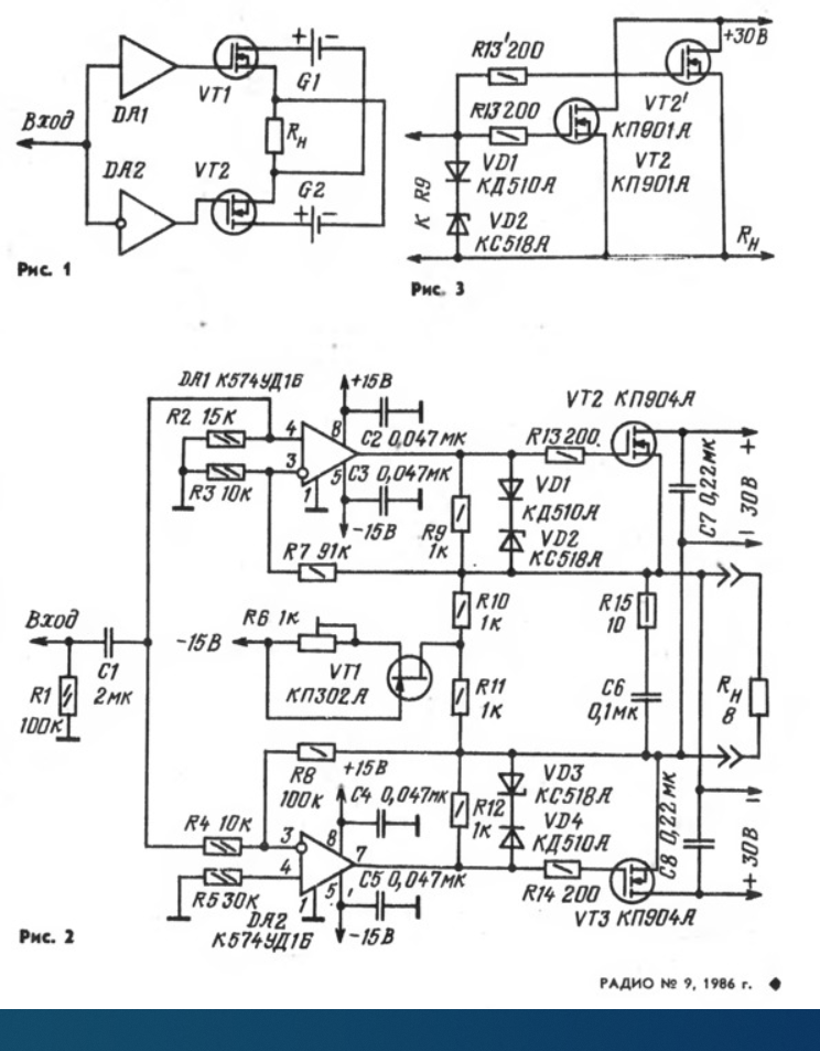
Журнал *Радио* №9 за 1986 год.
радио 9 1986 год.png
 
Журнал *Радио* №9 за 1986 год.
Не не, это не тот табак. Я оперы не люблю, да и схема с ООС. На Веге есть тема по этой схеме.

в режиме софтстарта давать смещение завышенное, а потом реле софтстарта вторым контактом подшунтирует цепь смещения и оно плавно упадет до нормы с полным питанием.
Хорошая мысль. _da Но может и с одним софт-стартом прокатит, будем посмотреть.
 
Александр Петрович Сырицо, фирма АПС. Его фирменный почерк.
И кстати, сколько схем делал на неохваченных ООС повторителях, все они привносят непонятную странность в звук. если хуже не сказать. У них с балансом низ-средина какие-то проблемы. И есть знакомый эксперт, который шарахается от такого звука, уговоры не работают.

Кстати, внутре КП904-го на одной рельсе приварены три транзистора КП901.
 
Импортные мосфеты гораздо лучше и разброс минимальный.
 
Александр Петрович Сырицо, фирма АПС. Его фирменный почерк.
И кстати, сколько схем делал на неохваченных ООС повторителях, все они привносят непонятную странность в звук. если хуже не сказать. У них с балансом низ-средина какие-то проблемы. И есть знакомый эксперт, который шарахается от такого звука, уговоры не работают.
Не понял немного, каких повторителях , на биполярах , на мосфетах ? А как же 2SK1058.
 
Импортные мосфеты гораздо лучше и разброс минимальный.
У 904-х порог открывания феерический, от минуса до плюса _hm_
Кому свезло- выбрал нормальные. Остальную "легенду хаенду" продал счастливцам.
 
А вы про наши кп901-904, ну тут действительно палка о двух концах, 904 ещё можно не менее 3-х штук в параллель на плече .
 
Не понял немного, каких повторителях , на биполярах , на мосфетах ? А как же 2SK1058.
И на биполярах и на латералах. Капкан. У латералов главная беда высоченное внутреннее.Без ООС на выходе лажа.
 
Последнее редактирование:
Купил 4 шт. IRL540N и все по параметрам как один. Проверял китайским прибором, ёмкость и Vg одинаковые. Хорошо для цирка подошли и смещение у них +1,8 В.
 
Последнее редактирование:
То есть выходной двухтактный каскад на любом каменном повторителе без ООС звучит так себе, а в классе А то же капкан ? Или мы имеем только цирклотроны.
Однотактный повторитель тоже не фонтан, свистит. Поэтому отказался от такого включения, несмотря на главные ништяки в виде нижайшего выхсопра и полосы в мегагерцы.
 
Латерали забракував для класу АВ, причому в підсилювачі із загальним зворотним зв'язком. Термічні спотворення таки даються взнаки. Чутно їх. Для класу А не повинно бути з латералами проблем. Або в підсилювачах меншої потужності.
В тих же умовах "вертикальні" в класі АВ працюють без цих спотворень.

Мабуть, в гібридному ВК Шиклаї на виході зможуть нормально працювати і П217. Резистор база-емітер в районі одного ома. Майже умови роботи при включенні з загальною базою.
 
А что значит свистит, возбуд что ль.
Звук с оскоминой, кислотный. Трубы и скрипки режут слух. Ерунда.
Потому не верю в восторги насчет Семынинского чуда.
Опять же- МНЕ режут слух. Как вам- я не знаю. Сами пробуйте, слушайте, сравнивайте.
 
Латерали забракував для класу АВ, причому в підсилювачі із загальним зворотним зв'язком. Термічні спотворення таки даються взнаки. Чутно їх. Для класу А не повинно бути з латералами проблем. Або в підсилювачах меншої потужності.
В тих же умовах "вертикальні" в класі АВ працюють без цих спотворень.

Мабуть, в гібридному ВК Шиклаї на виході зможуть нормально працювати і П217. Резистор база-емітер в районі одного ома. Майже умови роботи при включенні з загальною базою.
Немного не понял Вас, языком не очень владею, тем не менее согласен про латералы в АВ классе и мне понятно по чему, вертикалы в этом более подходят из-за огромной крутизны.
 
В цирклотроне без ООС всё ОК. Звук отменный.
 
Звук с оскоминой, кислотный. Трубы и скрипки режут слух. Ерунда.
Потому не верю в восторги насчет Семынинского чуда.
Опять же- МНЕ режут слух. Как вам- я не знаю. Сами пробуйте, слушайте, сравнивайте.
Ну тут много факторов, я вот в своё время от цирклотрона отказался, да же в классе А , он имеет слишком большое выходное сопротивления . по сравнению с обычным повторителем в мосту. Ну и не надо забывать , что в без ООС - ном усе на звук очень сильно влияют пассивные элементы, те же электролиты и а их ёмкость должна быть намного больше , чем с ООС. Сложная тема, дорого и долго.
 

Статистика форума

Темы
3,311
Сообщения
264,370
Пользователи
2,550
Новый пользователь
Александр Н.
Назад
Сверху Снизу