Германиевые УНЧ

Я из нормально работающих, признаю Корвет/Маяк/Юпитер, Тоника/Вильма, Зыкова из Радио 1968-7
 
Звучание редкое по своей пакости.
Так именно пакость и разыскивается. Судя по всяческим концертным и уралам-авто.

201-го "Юпитера" не слышал, а вот 202-й, как он мне запомнился, можно прямо-таки в граните отлить в учебниках, как эталонную иллюстрацию к главам о "транзисторном звучании" и динамических искажениях.

"Маяк" нормально играл - тот, что 203/205. Несмотря, что там выход в классе B. Только мелкосхема в ём сильно шумела - та, которая К2УС371/К237УН1. Но из всего германия там только предоконечник на ГТ402/404.
 
Последнее редактирование:
Так именно пакость и разыскивается. Судя по всяческим концертным и уралам-авто.

201-го "Юпитера" не слышал, а вот 202-й, как он мне запомнился, можно прямо-таки в граните отлить в учебниках, как эталонную иллюстрацию к главам о "транзисторном звучании" и динамических искажениях.
Добавьте в список его пороков громыхаюший механизм, чудовище стучащее. Зато- на стенке висит, места не просит.
 
Добавьте в список его пороков громыхаюший механизм, чудовище стучащее. Зато- на стенке висит, места не просит.
Механику пока оставим в покое. Она тогда почти у всего 2-го класса была практически одинаково унифицированно-пакостная. У "Юпитера" хотя бы перемотка более-менее работала, в "Маяках" почему-то дохла быстрее.
 
О "транзисторном звучании" и динамических искажениях, до сих пор талдычат. С какого перепуга взялось... с бужуазного новизма, мы их задавим, и силой, где технологией слабо...
 
О "транзисторном звучании" и динамических искажениях, до сих пор талдычат. С какого перепуга взялось... с бужуазного новизма, мы их задавим, и силой, где технологией слабо...
Ну, не знаю, как еще без наукообразностей с одной стороны, и без мата с другой, назвать этот ядовитый шипящий свист на том месте, где у здорового человека должны быть высокие.

Зыкова из №7/1968 не пробовал, но выглядит вполне убедительно, как вся и статья. Крылова из №1/1970 собирал на излете детства - тоже на П605. Не знаю, как сейчас, а тогда звук понравился. Но тогда и источники были совсем другие, и акустика (какой-нибудь 2ГД-3 из радиолы с помойки был мне в ту пору за Счастье с большой буквы "Щ").
 
Последнее редактирование:
Назло всем, делает простые понятные схемы, по Корвету и JLH Class-A 1969г
 
Механику пока оставим в покое. Она тогда почти у всего 2-го класса была практически одинаково унифицированно-пакостная. У "Юпитера" хотя бы перемотка более-менее работала, в "Маяках" почему-то дохла быстрее.
Пасики у маяка тянулись раньше юпитерских. Но в Ростове от Ростова пасики годились на Маяк , механика один в один, маяковская.
 
Мой по Зыкову на П601И работал с 1981г по 2000г, и просто продал, и дальше работает
 
Не вижу для него ни единой причины, чтобы не проработать и еще лет 50. Если только кто-нибудь принудительно его не сожжет или не раскурочит.
 
Последнее редактирование:
Так он сам у тебя как трактор на поле. :)


Таки Эдисон прав был, в войне токов. Ай да Томас, ай да Альва.
Сети постоянного тока создавали помех не меньше сетей переменного тока, ибо постоянный ток был пульсирующий.
 
Сети постоянного тока создавали помех не меньше сетей переменного тока, ибо постоянный ток был пульсирующий.
Так ведь сначала появились электросети. Потом - беспроволочный телеграф, а еще позже - беспроволочный же телефон. И только в ходе решения возникающих с ними проблем рождались представления об электромагнитной совместимости. До появления радиосвязи об этих вопросах просто не задумывались, ввиду отсутствия потребности. Сейчас, с массовым переходом от аналоговой техники к цифровой, засильем импульсных ИП, а также сворачиванием АМ-вещания, снова регресс происходит. Диапазон от десятков кГц до единиц МГц в городах загажен помехами насмерть.
 
Последнее редактирование:
Написать то можно, режим В с отсечкой, к.н.и. больше 10%, а вам НАДО?
 
Написать то можно, режим В с отсечкой, к.н.и. больше 10%, а вам НАДО?
Нет там номинал написано 2 Вт в автомобильно режиме
Максимальная 4 Вт
Обычно номинал это не 10%кни
Но я со свечкой и осцилографом не стоял не мерял))
 
Да и "...-авто" подразумевает питание не 12, а 13,2 В (при измерении Pвых). А по факту там и 14 с копейками может наличествовать, и даже больше. Так и натягивают по чуть-чуть.

Кстати, если выход качать rail-to-rail, то при 12 В на 4 Ома получится 4 Вт. А при 15 - и все 6. Причем номинальных, без ограничения.
 
Качать то можно. Но сами, плиз...
 
Да я-то уже накачал. Лет 30 назад, как. И звучит уж точно не хуже "Концертного", как минимум. Но - говорят: сложно очень. Аж целых 4 транзистора + ОУ. Так что роемся в помойках дальше.

Вот, очередной кандидат - Весна-202. Питание 9 вольт. При этом 1 Вт номинальной и 2 Вт максимальной. Если поднять до 12, то значения, как минимум, удвоятся. Выходное напряжение разгоняется автотрансформатором. Вместо ГТ703 вполне возможны П21х, как мне предсталяется. По воспоминаниям ранних студенческих лет, на встроенный 2ГД-40 орет очень громко, и при этом не слишком гадко.

Снимок экрана в 2021-04-20 13-05-24.png
 
Последнее редактирование:

Вложения

  • Новинки в электроакустике и технике магнитной звукозаписи Д.Чабаи 1977-600M_012.jpg
    Новинки в электроакустике и технике магнитной звукозаписи Д.Чабаи 1977-600M_012.jpg
    134.6 KB · Просмотры: 362
  • Новинки в электроакустике и технике магнитной звукозаписи Д.Чабаи 1977-600M_013.png
    Новинки в электроакустике и технике магнитной звукозаписи Д.Чабаи 1977-600M_013.png
    1 MB · Просмотры: 360
  • Новинки в электроакустике и технике магнитной звукозаписи Д.Чабаи 1977-600M_014.png
    Новинки в электроакустике и технике магнитной звукозаписи Д.Чабаи 1977-600M_014.png
    1.1 MB · Просмотры: 364
  • Новинки в электроакустике и технике магнитной звукозаписи Д.Чабаи 1977-600M_015.png
    Новинки в электроакустике и технике магнитной звукозаписи Д.Чабаи 1977-600M_015.png
    988.5 KB · Просмотры: 366
  • Новинки в электроакустике и технике магнитной звукозаписи Д.Чабаи 1977-600M_016.png
    Новинки в электроакустике и технике магнитной звукозаписи Д.Чабаи 1977-600M_016.png
    1,022.2 KB · Просмотры: 377
вспомнил что у меня есть автомобильный приемник Videoton, достал его, разобрал, там двухтактный выходной каскад на германии АD 161, AD 162, питание 12-14 вольт, подал на вход сигнал, по качеству звука не уступает tpa 3116d2, но вывод сделать сложно, т.к приемник моно, хотелось бы в стерео режиме послушать(нужно ещё один приемник найти). В юности был аккорд стерео, я его распотрошил, теперь жалею, эх)))). Кстати выходной каскад очень похож на схему из сообщения выше, только четыре транзистора а не пять
 

Вложения

  • post-145741-0-34127100-1336156010.gif
    post-145741-0-34127100-1336156010.gif
    59.8 KB · Просмотры: 279
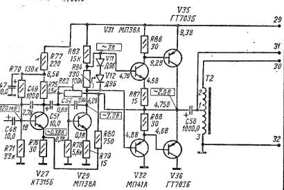
Перед ним был CV12 ,почти весь на германии,мощность поменьше не 9 ,а 6Вт,зато звук получше.Но и этот поёт неплохо.
 
В Аккорде - ничего, 1956г Лин
Вильма, Тоника гораздо лучшее
 

Вложения

  • 1956_H.C.Lin_amplifier_schematic_-_The_Original_Lin.png
    1956_H.C.Lin_amplifier_schematic_-_The_Original_Lin.png
    94.1 KB · Просмотры: 304
Можно по теме, а...?
Случайно нашел http://publ.lib.ru/ARCHIVES/S/''Sovetsko-vengerskaya_biblioteka_po_radioelektronike''/Chabai_D._Novinki_v_elektroakustike_.(1977).[djv-fax].zip
Была раньше одной из моих настольных книжек... Конечно, есть очепятки
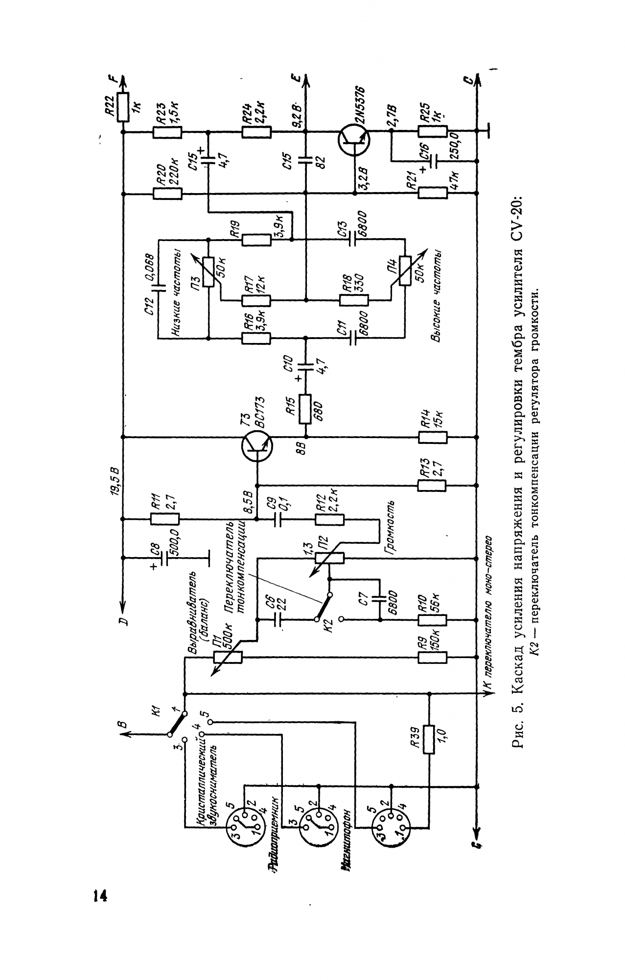
Корректор из CV20 -первая , точнее, вторая схема , которой пытался улучшить звучание дрянной ADC K9 . Не помогло, да и в схеме ошибка, резистор R7 не шунтирован емкостью, усиление без ООС мизерное.
 
CV20 отличный усилитель, 5 вт хватало, и зачем? гармоники плодить, и эта мощность реальная при к.н.и. ~0,1%. И никто и не собирался больше. Корректор стандартный, как у всех, ничего особенного. В УМ много опечаток...
Классный усилитель, простая схема.
 
вспомнил что у меня есть автомобильный приемник Videoton, достал его, разобрал, там двухтактный выходной каскад на германии АD 161, AD 162, питание 12-14 вольт, подал на вход сигнал, по качеству звука не уступает tpa 3116d2, но вывод сделать сложно, т.к приемник моно, хотелось бы в стерео режиме послушать(нужно ещё один приемник найти). В юности был аккорд стерео, я его распотрошил, теперь жалею, эх)))). Кстати выходной каскад очень похож на схему из сообщения выше, только четыре транзистора а не пять
Тут всюду убиваются за эти АД161-162, а у вас дармовые да ещё в работающем устройстве.
 

Статистика форума

Темы
3,304
Сообщения
263,090
Пользователи
2,544
Новый пользователь
vlad'mir
Назад
Сверху Снизу