Германиевые УНЧ

Тоже Иржи Свобода
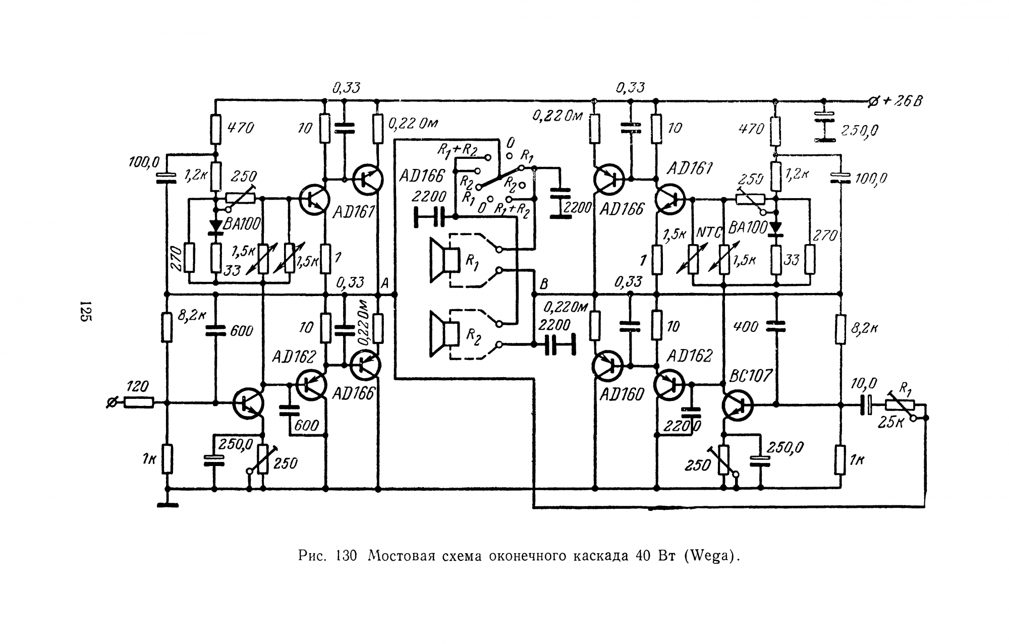
СССР-Чехи mrb0955 1979г_105.png
 
Этот унч знаком с 80-х , делали эту схему, но знаний мало было, довести до ума , хотя в макете работало.Книга называлась конструкции советских и чешских радиолюбителей, выпуск 1. Увесистая книга.
 
Вых. каскад по мостовой схеме, может 40вт на канал
Стерео вещание, Годинар mrb0865 1974г_126.png


По мосту на кт816/817 стояли в ВАЗ-2102, 1975г,пробег под 1.000.000 км, нагрузка по одной в канал 3гд-32, доска во весь багажник...

Люблю такие схемы, можно p-n-p и n-p-n на выходе
 
И на германии, забугорном
mrb0951_039.png
 
Еще немного
Так и не сделали разной полярности германиевые, только ГТ703/705...
mrb0756_023.png
 
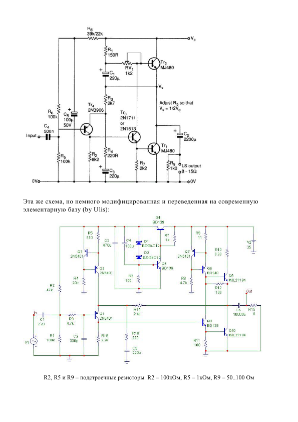
И сделать решил John Linsley Hood 1969 года...
Описание-JLH-ldsound.ru__002.png
 
А такой транс мне нужен? Вряд ли.
IMG_1625.jpg
IMG_1627.jpg

Меня устроит этот, с 2005г лежит, 1-2-3, сеть 220в и 380в, вакуумная пропитка.
И электролиты, по 22.000мкф*90в

Или от Rod Elliott, например Simple Current F/B Amp

Или https://sound-au.com/project36.htm
 
Может для Тлф, или небольшой мощности, проще как в книжке Иржи Свобода(1976 год!), подумаю.
И.Свобода Модульные усилители mrb0908 1976г_011.png

Транзисторы есть из HARMAN /KARDON, 2SA1859 и 2SK4883
 
Тоже делал на П701/П605, схема В.Васильев Зарубежные радиолюбительские конструкции, 1977г
Васильев Зарубежные усилители mrb0928_005.png
 
Интересно, делал кто такую схему? Как вам нижнее плечо...
Радио-радиолюбителям mrb1003 1974-77г_040_.jpg
 
Нижнее плечо правильно сделано, входы оконечного каскада , привязанные к Т5 , симметричны относительно средней токи схемы по числу эмиттерных переходов , что в типовой схеме не выполняется. Из=за этого там несимметрия, которую обязана устранять оос.
Вспомнил эту схему, из-за примененного автором забавного транзистора кт118, задуманного для модуляторов.
 
Все правильно, Саша! Как я забыл эту схему!?!?! Макетил, работала класс, вчера случайно натолкнулся...
 
И снова, смотри, как грамотно выполнено согласование низкоомного мощника по его входу с помощью спарки на т3-т4. Про которую обычно или забывают или вообще не понимают, зачем она. Параллельная оос по постоянке, но и по переменке через R28, -33к, здорово снижает входное мощника, отчего просто взять и включить его в схему преда нельзя без перегрузки .

Сейчас забрал остаток тошибовских парных транзисторов, теперь можно макетить, есть из чего выбрать идеальные пары.
 
Вот такой собрал в 80 году когда пришел работать в ОКБ "Полёт". Благо было на чем настроить. Много лет служил мне верой и правдой.
_1977_г._№12.djvu.jpeg
 
Делал такой! только ОУ 140уд6, лет десять на работе слушал, хоть и нельзя было...
 
Вот такой собрал в 80 году когда пришел работать в ОКБ "Полёт". Благо было на чем настроить. Много лет служил мне верой и правдой.Посмотреть вложение 7892
Помню эту схему! Друг по институту, с кем вместе занимались в студенческом КБ, повторил схему, но с поведением 140 УД2 не смог ничего сделать. Тогда других не было, а эта уд вторая была перемудренная, запас по устойчивости- со знаком минус, генерила . Позже Поляков сочинил шикарный стереодекодер. на куске тестолита, резанного стамеской.
Моя схема на основе дифкаскада 159НТ1 и предусилителя вч на 1Т311 хоть и работала, но вечером одновременно ловились несколько станций, перестройка с громкими щелчками, поигрался и выкинул.
 
Последнее редактирование:
Жан ЦИХИСЕЛИ на ГТ705/ГТ703, "Практика AV" 6/03
amp_2.eps.gif
 
Я уважаю подобную схему за отказ от повторителя в выходном каскаде в пользу схемы с ОЭ, но в своей схеме, которую сейчас макечу, сделаю усиление выходной ступени примерно 2.5 раза, при этом каскад очень устойчивый, а с усилением 1 он генерит.
Схема на биполярах удобна тем, что выходные транзисторы сидят на общем радиаторе. Правда, у Эллиотта там врезаны по 0,33 Ома. Не получится на одном и без изолятора.
 
Корпуса 2SC5200 и 2SA1943 изолированы, все просто.
 
Слушаю целый день, с перерывами на подбор режимов. Сейчас все классно, четыре транзистора, SF137, 2SA1360, и 2SA1859/2SC4883. Мощность 3вт, -22в питание, нагр. 8ом, от Симфонии. Еще будет на Тлф, пока желания нет. Схема почти такая
Васильев Зарубежные усилители mrb0928_005.png
 
Уважаемые, появились в продажеДэДэЭровские транзюки GD160b по 30 центов за штуку. В схемах выше они встречались. Параметры у них совершенно кислые 🙁 Или есть в них незамеченные мной преимущества?
 
Если вам мощю качать, это не вас https://alltransistors.com/pdfdatas...gd175_gd180_gd240_gd241_gd242_gd243_gd244.pdf
Биполярный транзистор GD160B - описание производителя.
Тип материала: Ge
Полярность: PNP
Максимальная рассеиваемая мощность (Pc): 5.3 W
Макcимально допустимое напряжение коллектор-база (Ucb): 20 V
Макcимально допустимое напряжение коллектор-эмиттер (Uce): 20 V
Макcимально допустимое напряжение эмиттер-база (Ueb): 12 V
Макcимальный постоянный ток коллектора (Ic): 3 A
Предельная температура PN-перехода (Tj): 90 °C

Статический коэффициент передачи тока (hfe): 60
Корпус транзистора: TO3

Все молчат... кто понимает, Ft=180кгц, это мах частота передачи тока, или проще, в схеме с ОБ. В схеме с ОЭ частота в бетта раз ниже. Транзисторы ненамного лучше П213-П215.
Для звука, это AD161 и далее.
 
Видел, что они хуже наших 905-ых. Но мало-ли, вдруг - особенные 🙂
 
Корпус хороший ТО3. Цена 30 центов за штуку.
Схема ВКН
DSC00186.jpg
 
Юра, пару слов о методике подбора по частотке. Не уверен, что найду в архивах Радио этот номер, там сейчас мрак творится. ни глянуть ни скачать, одни ссылки-перессылки на всякие воровские сайты, только напиши слово Радио.
http://www.radioman-portal.ru/
При необходимости качаю тут. Качество хорошее, по вирусам пока проблем не было
 
Ginalex, я никогда НЕ повторяю готовые схемы...

Видели схему Батя, немного другая, больше германия, Радио 1974-6
f.1974-06.030.jpg
 
Последнее редактирование модератором:
Саша, Одиссей-001 не напоминает...
008.jpg

Еще от Сергея Давидовича
f.1973-09.054.jpg
 

Статистика форума

Темы
3,196
Сообщения
248,065
Пользователи
2,455
Новый пользователь
Станислав В..
Назад
Сверху Снизу