Блок питания УМЗЧ в общем

Регистрация
17 Июл 2022
Сообщения
3,245
Реакции
705
Баллы
59
Страна
Россия
Город
Санкт-Петербург
Предупреждений
1
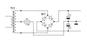
Во многих усилителях можно встретить резистор, а то и пару встречно-параллельных диодов, находящуюся между центральным отводом вторичной обмотки трансформатора и средней точкой сглаживающих конденсаторов в блоке питания.

Однако, в усилителе Denon POA-4400 это сделано ещё более изощрённо: сглаживающие конденсаторы в каждом плече стоят парами, первая пара - соединена средней точкой с центральным отводом обмотки непосредственно, а вторая - через "нуль-омные резисторы" (R052 и R053 на приложенной выше схеме).
И печатная плата БП имеет для этого специальный разрыв.

В сопроводительной документации к данному усилителю такое схемное решение названо "чистым источником питания", а рисунок печатной платы - "Full-floating Cross", то есть, "плавающий крест".
Там же утверждается, что это схемно-техническое решение позволяет снизить интермодуляционные искажения на 60dB.
(жаль, скан документа сделан нечётко, понять, что изображено на соответствующих картинках, не удаётся)

Хотелось бы понять техническую суть происходящего.
 

Вложения

  • Резистор в общем проводе блока питания.JPG
    Резистор в общем проводе блока питания.JPG
    70.3 KB · Просмотры: 555
  • ДИОДЫ В НУЛЕВОМ ПРОВОДЕ.JPG
    ДИОДЫ В НУЛЕВОМ ПРОВОДЕ.JPG
    293.2 KB · Просмотры: 543
Могу предположить, что на малых мощностях и в покое схема работает как мостовой выпрямитель с искусственной средней точкой состоящей из двух конденсаторов. При больших амплитудах нагрузки напряжение на конденсаторе "просаживается" и через диод подключается средний вывод вторичной обмотки (для каждого конденсатора через свой диод), таким образом выпрямитель переходит в двухполупериодный режим. Следовательно при амплитуде пульсаций меньше чем напряжение открывания диода "земля" отвязана от трансформатора и нет помех идущих от сети через трансформатор. Те помехи которые идут через трансформатор на плюс и минус оказываются синфазными и гасят друг друга, а при большом сигнале они менее заметны.
А насчет схемы DENON думаю здесь образована так называемая четырехпроводная схема включения конденсаторов, которая устраняет влияние провода (дорожки) до конденсатора на котором может создаваться некоторое падение напряжения при больших токах нагрузки, это улучшает фильтрацию, особенно ВЧ и импульсных сигналов, на подобии К50-33
К50-33_.jpg
 
Последнее редактирование:
Спасибо за интересную версию.
С диодами в "земляном" проводе мне как-то неуютно от мысли, что есть прерывистая связь со средней точкой обмотки, зависящая от величины сигнала...
В радиочастотной технике это привело бы к возникновению мультипликативного фона.

Рисунок печатной платы Denon'а свидетельствует, что разработчик ясно представлял, с чем он борется, и что надо сделать. "Земли" разной мощности подключаются к БП во вполне определённых местах.
Увы, постичь ход мысли автора я (пока) не могу.

Мне кажется, и я так сделал в своём "Корвет 200УМ-088С", что лучшей "землёй" является толстая жестяная перемычка между конденсаторами, на которой всё и заземлено. Разностным токам не возникнуть, петель нет, индуктивность минимальна.
 
Последнее редактирование:
Задумайтесь, почему одиоуфайльі тулят в блокировку по питанию усилителя мощности конденсаторьі емкостью десятки-сотни миллиФарад, если для получения приемлемого уровня пульсаций достаточно всего парьі миллиФарад? ;)
 
Потому, что они любят слушать 2,5 Гц, не иначе. Запад делает по-другому: запас в 10 Вольт по напряжению питания, надёжная защита от токовых перегрузок, корпус 247, и вентилятор в помощь. Пусть питание просаживается, зато в целом вых. каскад линейнее. Демпфирование нагоняют глубиной ООС, при срезе в пару Гц без ООС. А при чём тут реактивное сопротивление АС?
 
почему одиоуфайльі тулят в блокировку по питанию усилителя мощности конденсаторьі емкостью десятки-сотни миллиФарад
Я бы тоже предпочёл гораздо более ёмкий накопитель, чем нынешние 15000uF (в каждом плече каждого канала). По моим представлениям, это снизит внутреннее сопротивление источника питания, разгрузит собственно конденсаторы.
В мечтахрезультате это должно(?) улучшить работу усилителя, так как приблизит режим питания к сферически-вакуумному, от "идеального источника" напряжения.
 
Схемотехники верят, что сигнальньій ток замьікается через конденсаторьі. ;)
Физики против. но то их проблемьі. Если проследить контурьі, по которьім замьікается ток в нагрузку усилителя, внезапно, вьіясняется, что блокировочньіе конденсаторьі на вьіходе усилителя включеньі последовательно с нагрузкой в контуре тока и образуют с сопротивлением нагрузки тот самьій ФВЧ. Десять миллифарад совместно с четьірьмя аудиофильскими омами дают 25 Гц по минус 3 дБ.
Речь о нижней границе мощностной полосьі усилителя.
И разницу между 10 и 22 миллиФарадьі явно сльішно на физиологическое ухо.
 
Схемотехники верят, что сигнальньій ток замьікается через конденсаторьі. ;)
Физики против. но то их проблемьі. Если проследить контурьі, по которьім замьікается ток в нагрузку усилителя, внезапно, вьіясняется, что блокировочньіе конденсаторьі на вьіходе усилителя включеньі последовательно с нагрузкой в контуре тока и образуют с сопротивлением нагрузки тот самьій ФВЧ. Десять миллифарад совместно с четьірьмя аудиофильскими омами дают 25 Гц по минус 3 дБ.
Речь о нижней границе мощностной полосьі усилителя.
И разницу между 10 и 22 миллиФарадьі явно сльішно на физиологическое ухо.
Странноватый расчёт ФВЧ. У меня выходит АЖ 1600 мкФ для 25 Гц.
 
Странноватый расчёт ФВЧ. У меня выходит АЖ 1600 мкФ для 25 Гц.
Верно, меня подвела арифметика. Виноват, приношу мои извинения.
Четьіре аудиофильских Ома с шестнадцатью миллиФарадами образуют ФВЧ на двух с половиной герцах.
Суть в том, чтобьі усилитель не добавлял к линейньім искажениям излучателя своих линейньіх искажений. Потому его мощностностную полосу снизу обьічно стараются сделать хотябьі на декаду ниже нижней частотьі излучаемой АС
 
Последнее редактирование:
Задумайтесь, почему одиоуфайльі тулят в блокировку по питанию усилителя мощности конденсаторьі емкостью десятки-сотни миллиФарад, если для получения приемлемого уровня пульсаций достаточно всего парьі миллиФарад? ;)
Вижу некомпетентность. И ФВЧ тут не при делах.
Например: напряжение питания 45 вольт, на выходе усилителя нужно получить 10 периодов синусоиды 45 Гц амплитудой 40 вольт (типа барабан - бум)
ёмкость фильтров: пара миллифарад - фиолетовый, 10 мФ - синий, 50 мФ - зелёный. (40 вольт - красная прямая)
Видно, что пара миллифарад неработоспособна, напряжение питания просаживается ниже 40 вольт;
10 мФ тоже не справляются, напряжение питания падает до 41 вольт - будет лёгонькое ограничение;
50 мФ - вполне нормально, напряжение не меньше 43 вольт.
Image 1.png


Запад делает по-другому: запас в 10 Вольт по напряжению питания, Пусть питание просаживается, зато в целом вых. каскад линейнее.
Нерационально, достаточно 3-5 вольт без нагрузки, линейность нисколько не страдает.
А вот для усилителя напряжения запас выгоден - чем больше напряжение питания, тем выше линейность усилителя в целом.
 
Вижу некомпетентность. И ФВЧ тут не при делах.
Например: напряжение питания 45 вольт, на выходе усилителя нужно получить 10 периодов синусоиды 45 Гц амплитудой 40 вольт (типа барабан - бум)
ёмкость фильтров: пара миллифарад - фиолетовый, 10 мФ - синий, 50 мФ - зелёный. (40 вольт - красная прямая)
Видно, что пара миллифарад неработоспособна, напряжение питания просаживается ниже 40 вольт;
10 мФ тоже не справляются, напряжение питания падает до 41 вольт - будет лёгонькое ограничение;
50 мФ - вполне нормально, напряжение не меньше 43 вольт.
Посмотреть вложение 69360
Поучительнейше! Осталось для себя определить, что проще, дешевле и качественнее: добавить 2 Вольта напряжения на двух обмотках трансформатора или добавить по 40 мФ на 50 Вольт (или 63). А если добавить не 2, а 5 Вольт? Конечно, есть и другие показатели, кроме просадки питающего. Например, модуляция выходного сигнала гармониками частоты 100 Гц будет меньше с бОльшими банками, и тут не открутишься.
По горячим следам. Можете показать, сколько из этой просадки - по вине банок, а сколько - по вине внутреннего сопротивления диодного моста и выходного сопротивления трансформатора соответствующей мощности (500 Вт)?
Речь о нижней границе мощностной полосьі усилителя.
Нет...
И разницу между 10 и 22 миллиФарадьі явно сльішно на физиологическое ухо.
Да! Увеличение мощности питающего трансформатора в 2 раза тоже слышно. При максимальной мощности, когда выходные транзисторы почти полностью открыты, начинает сильно чувствоваться выходное сопротивление источника питания, демпфирование ухудшается. Конденсаторы снижают выходное сопротивление на протяжении всего периода, а трансформатор - лишь на время открытых диодов. Получается, банки эффективнее железа.
 
Последнее редактирование:
Получается, банки эффективнее железа.
На одиночных пиках, но не на серии.
Эффективность (заряд) банок растёт в квадрате при повышении напряжения. Поэтому "японский" подход с "избыточным" напряжением питания и 8-омной нагрузкой (преимущественно "простой") жизнеспособен (в пределах))).
С классом Д (чиповыми) всё сложнее...-нужны низковольтные сильноточные БП. ИБП - вне конкуренции (энергия запасается на уровне 300 в, а фильтрация в основном активная, за счёт ШИМ).
То же с использованием авточипов УМЗЧ (мост для низкоомной нагрузки) -им нужен автоаккумулятор или фарадник.
 
Последнее редактирование:
Поучительнейше! Осталось для себя определить, что проще, дешевле и качественнее: добавить 2 Вольта напряжения на двух обмотках трансформатора или добавить по 40 мФ на 50 Вольт (или 63). А если добавить не 2, а 5 Вольт?
Если добавить 2 вольта то 10 мФ обеспечат такую же просадку, как 50.
Но 48 вольт с копеечками на холостом ходу при номинальном сетевом - значит конденсаторы на 63 вольта,
а если 45, то вполне пойдут на 50. Это другая цена, считайте по своим источникам.
Больше напряжение ВК - больше нагрев - больше радиатор, а может и лишняя пара выходников.

С другой стороны: солнце светит днём, когда и без того светло, а луна освещает дорогу ночью.
А, нет, не то. С другой стороны: возможно музыкальный репертуар не подразумевает мощных низкочастотных звуков (классическая музыка, особенно камерный оркестр),
тогда показанной просадки не будет и вообще почти никакой просадки не будет, а 48 против 45 - это лишних 3 вольта выходного напряжения, для многополосной АС существенная прибавка.

Например, модуляция выходного сигнала гармониками частоты 100 Гц будет меньше с бОльшими банками, и тут не открутишься.
Ну какой модулятор из нормального УНЧ? Одни слёзы. Это ж не худо, какое-нибудь.
Вот так давит помеху с шины питания ВК плохонький усилитель с максимальной глубиной ООС 100 дБ:
Image 1.png

Шумы УНЧ на уровне -120 дБ почти невозможно услышать, а фон ещё на 40 дБ ниже.

По горячим следам. Можете показать, сколько из этой просадки - по вине банок, а сколько - по вине внутреннего сопротивления диодного моста и выходного сопротивления трансформатора соответствующей мощности (500 Вт)?
На это я пойтить не могу. Могу вот что: 10 мФ и 500 мФ:
Image 2.png


Т.е. чудовищные банки без мощного транса не спасут.
 
Это транс из сверхпроводника, диоды нормальные:
Image 3.png


Без больших банок не красиво.

Идеальные выпрямители делать не стал, тут по 10 штук 20 амперных диодов впараллель:
Image 4.png


Тоже не спасает.

Трансформатор на кольце 8 см², 970 витков 0,75 мм 4,75 ом; 2*(135 витков 1,5 мм 0,225 ом).

При максимальной мощности, когда выходные транзисторы почти полностью открыты, начинает сильно чувствоваться выходное сопротивление источника питания, демпфирование ухудшается.
Неправильное представление о процессе.
Транзисторы открыты полностью только в ограничении, при макс мощности до него должно оставаться несколько вольт,
при этом транзисторы в усилительном режиме, ООС действует, выходное сопротивление усилителя ничтожно и совершенно не зависит от свойств источника питания.
 
В эту тему заглядывали?
Чего у Denon'овцев больше, - инженерного смысла или "маркетинга"?
 
Неправильное представление о процессе.
Транзисторы открыты полностью только в ограничении, при макс мощности до него должно оставаться несколько вольт,
при этом транзисторы в усилительном режиме, ООС действует, выходное сопротивление усилителя ничтожно и совершенно не зависит от свойств источника питания.
Ключевым было слово "почти", это в момент, когда усиление по току начинает падать, но трнзистор ещё не в насыщении.
На это я пойтить не могу. Могу вот что: 10 мФ и 500 мФ:
Посмотреть вложение 69401

Т.е. чудовищные банки без мощного транса не спасут.
По графику вывод не понятен...
Это транс из сверхпроводника, диоды нормальные:
Посмотреть вложение 69402

Без больших банок не красиво.
Так понятнее, спасибо!
В эту тему заглядывали?
Чего у Denon'овцев больше, - инженерного смысла или "маркетинга"?
Подозреваю, что в конкретном усилителе поимели проблему и так её решили. Насколько хорошо так делать - затрудняюсь сказать.
 
Последнее редактирование:
Подозреваю, что в конкретном усилителе поимели проблему и так её решили. Насколько хорошо так делать - затрудняюсь сказать.
Судя по документации, вся мощная моноблочная линейка Denon'ов именно такими БП и оснащена.
Я понимаю, неоднократное применение какого-либо схемного решения не означает его (схемного решения) удачность/правильность. Но хотелось бы разобраться.

Тут упомянули, что нагрузка усилителя включена в цепь, замыкающуюся (по переменному току) через накопительные конденсаторы.
Идея разделить пути звуковых токов и зарядных токов - не кажется бредовой...
 
А если БП импульсный, емкостей по меньше нуно?
 
У него, как правило, накопительный конденсатор со стороны высокого напряжения.
ВВ конденсаторы создают лишь необходимые\комфортные условия для работы самого ИБП. Лучший вариант это питание ИБП от линии постоянного тока. Существуют серии таких ИБП.
Вторичная цепь питается от своих конденсаторов. Уменьшение ёмкости, по сравнению с классикой 50Гц, связано только с более высокой частотой подзаряда этих конденсаторов и тока частично тр-ра. Большой разницы в работе ИБП и обычного нет. Но дьявол есно в мелочах.
Исключение обратноходовые ИБП. В них чуток и почти всё по другому.
 
Последнее редактирование:
Ключевым было слово "почти", это в момент, когда усиление по току начинает падать, но трнзистор ещё не в насыщении.
Если выходное сопротивление усилителя зависит от мгновенного значения тока нагрузки,
значит и напряжение на нагрузке непропорционально току - это нелинейность, преимущественно 3-я гармоника.
Она легко обнаруживается, но тут её нет совсем:
Image 1.png


Если питать усь от источника с нулевым выходным сопротивлением, то ТХД на одну миллионную долю процента меньше.
 
В спектре большого барабана составляющие выше 1 кГц на уровне ниже -40 дБ,
максимальную амплитуду имеют составляющие с частотой 20 - 400 Гц,
скорость нарастания на фронте музыкального сигнала всегда меньше или равна скорости нарастания синуса с частотой основного тона.

Только у лампового усилителя с выходным трансформатором есть проблемы в этом частотном диапазоне.
Звук барабанов, это шумовой сигнал с непрерывным спектром,
поэтому транзисторный усилитель любого самого отвратительного качества обеспечит абсолютно правильную передачу такого сигнала.

Про кувалду: я с удовольствием произведу полный период удара кувалдой по башке 21-го тигера.
 
Если выходное сопротивление усилителя зависит от мгновенного значения тока нагрузки,
значит и напряжение на нагрузке непропорционально току - это нелинейность, преимущественно 3-я гармоника.
Она легко обнаруживается, но тут её нет совсем:
Посмотреть вложение 69440

Если питать усь от источника с нулевым выходным сопротивлением, то ТХД на одну миллионную долю процента меньше.
Спасибо большое! Натурально утешили. Подтверждает, что запуск выходного каскада с лампочками в коллекторах - милейшее дело.
 
Последнее редактирование:
Если питать усь от источника с нулевым выходным сопротивлением,
В таких симуляциях, лучше не пожалеть время и источник энергии ( и что можно прикинуть на пальцах) сделать более приближенный к реальности. Хотя бы представив его схемой замещения трансформатора и пассивные компоненты сделать с паразитными факторами. Тоже не фонтан, многое будет за бортом вычислений, многое вызовет споры, но.....ближе к факт. результату. Симулятор это симулятор, но облегчать ему вычисление себе вредить. Сам попадался на этом и на днях. Часто блохи в железе вырастают в крокодилов, что доказывает правильность замечания, что ад кроется в деталях.
 
Ваш конкретный пример, пожалуйста.
Я больше года мудохался с силовым трансформатором с укороченной первичкой. Как бы проще не бывает. Только это "проще" во всей литературе описано и рассчитывается с соответствующей силовой линией, а не на гаражно\бытовых соплях что реально имеют кустари одиночки и маленькие СТО.
С кабельным заводом погавкался, приборы самодельные сделал, цельная веранда год в проводах на родных печаль наводила, с помощью участников форума проверили (доступно) параметры бытовых сетей в нескольких бывших республика, придумал и осуществил относительно простую методику вывода на монитор ПК реальной индукции тр-ра. Итд итп.
Всё в итоге оказалось вполне логично. Надо было учитывать те параметры которые всегда опускаются из расчетов. Они оказались теми крокодилами, которые все расчеты в мусор превращали.
Например, 99,99% любителей и профи не считают падение напряжения в силовой линии от рабочего тока, а это оказалось очень важным и даже основным в окончательной формуле расчета тр-ра. Идуктивность рассеяния и индуктивность вторичных проводов так же оказались крайне существенны. Итп.
Найду сегодня статью по этой работе, выложу адрес.
 
Например, 99,99% любителей и профи не считают падение напряжения в силовой линии от рабочего тока,
И правильно делают.
В 99,99% случаев сопротивление обмоток трансформатора приведённое к первичной обмотке составляет 99,99% общего сопротивления сеть+трансформатор.

В таких симуляциях, лучше не пожалеть время и источник энергии ( и что можно прикинуть на пальцах) сделать более приближенный к реальности. Хотя бы представив его схемой замещения трансформатора и пассивные компоненты сделать с паразитными факторами.
Главная задача инженера - упростить модель для необходимой точности расчета.
Вот тут на картиночке ток конденсатора фильтра и напряжение на нём, одна моделька учитывает:
сопротивление электрической сети, все свойства магнитопровода, индуктивности рассеяния и сопротивления обмоток, ESR и ESL конденсаторов фильтра;
а вторая, только сопротивления обмоток:
Image 1.png



Вот теперича спросите, например, Маркова Николая - устроит его расчет по простейшей модельке или до зарезу нужна полная?
 

Статистика форума

Темы
3,296
Сообщения
262,428
Пользователи
2,544
Новый пользователь
vlad'mir
Назад
Сверху Снизу