Германиевые УНЧ

Ща:
Но мадам с ником Светлана
Вдохну-выдохну... Для Светлан-Ы...
---------------
БЭ накоротко. Перед транзюко-диодным мостом термик 5D11 -> 1000 мкФ + катуха L(1Ω акт.) + -> 2х3300мкФ + 2х0,47 плёнка.
10В, 0.5А. На транзюке-диоде упало 0,3В. ОК!
UP. Добавили ещё 3300 мкФ + 0,47. Кореш доволен.
 
Последнее редактирование:
У П213 - П215 максимальный ток базы 0,5А, у П216 - П217 ток базы 0,75А.
Из вторых обратный ток коллектора меньше у П216,А (при 40В), П217,А,Б(при 60В)
 
Когда у меня был Аккорд-стерео(1979-1982годы), сделал по Радио 1977-номер 3, играл класс, так и продал. Дальше пошли самодел УНЧ на П601, и в комиссионке взял Электронику Б1-01
 

Вложения

  • f.1977-03.041-1.jpg
    f.1977-03.041-1.jpg
    502.2 KB · Просмотры: 464
  • f.1977-03.042.jpg
    f.1977-03.042.jpg
    387.7 KB · Просмотры: 421
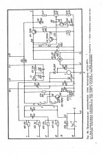
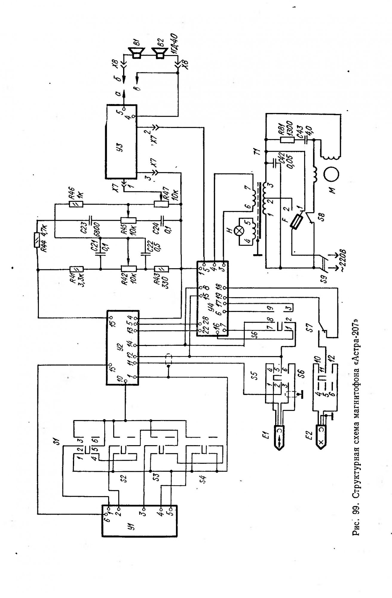
Астра 207
Нет звука
При включении шуршит кратко в динамиках
Минимального шипения нет вк сгорел?
27 вольт приходит
плюс питания и 1 нога подстроечника
Там 13 вольт
Кондеры смонтированы на резинках все.
Я думал выпала резинка
Нет такой монтаж
Посмотреть вложение 28209Посмотреть вложение 28210Посмотреть вложение 28211Посмотреть вложение 28212Посмотреть вложение 28213Посмотреть вложение 28214Посмотреть вложение 28215
Кстати какой мощности там транс?
27 вольт 1 ампер хоть даст?
Там же вроде до 10 вт макс мощность
 
Астра 207: 27в/2=13,5в*кпд 0,6=13,5*0,6=8в ампл*0,7=5,6в действ
5,6*5,6/4 Ома=7,5 Вт, это МАКСИМУМ, реально 6,5-7 Вт при 10% искажений, на 4 Ома. На 8 Ом - 4 Вт
 
Сил. транс есть, по габаритам можно узнать мощность. И сечение вторичной обмотки, даже померять микрометром или линейкой, для прикидки. Какие проблемы???
 
Там стоит трансформатор ТС - 40 -1
Вот вам ссылка с данными, где видно, что есть 2 обмотки по 18вольт/0.95 ампер. https://20-20000.ru/trans_ts/ts_40_1.htm
Номинальная мощность трансформатора ТС-40-1 - 40 Ватт.


 
Меня интересует мощность транса
Выдает он 1 ампер или нет
Грузите вторичку на резистор, чтобы получить ваш ампер, смотрите просадку напряжения. Десять процентов это хороший результат.
 
Меня интересует мощность транса
Выдает он 1 ампер или нет
В Астре-207 трансформатор ТС-40-1 на 40 Вт, но 2 обмотки: 27В 0,35А и 6,3В 0,7А
Есть другие ТС-40-1, т.е. с другими напряжениями
 
Последнее редактирование:
ТС-40 дофига разных, причем одинаковых по названию, но разных по обмоткам, здесь кроме типа важно какое ТУ стоит на трансформаторе, например в Астре-207 стоит ТС-40-1 2Ф0.470.025 ТУ https://priborazbor.ru/katushechnyj-magnitofon-astra-207/
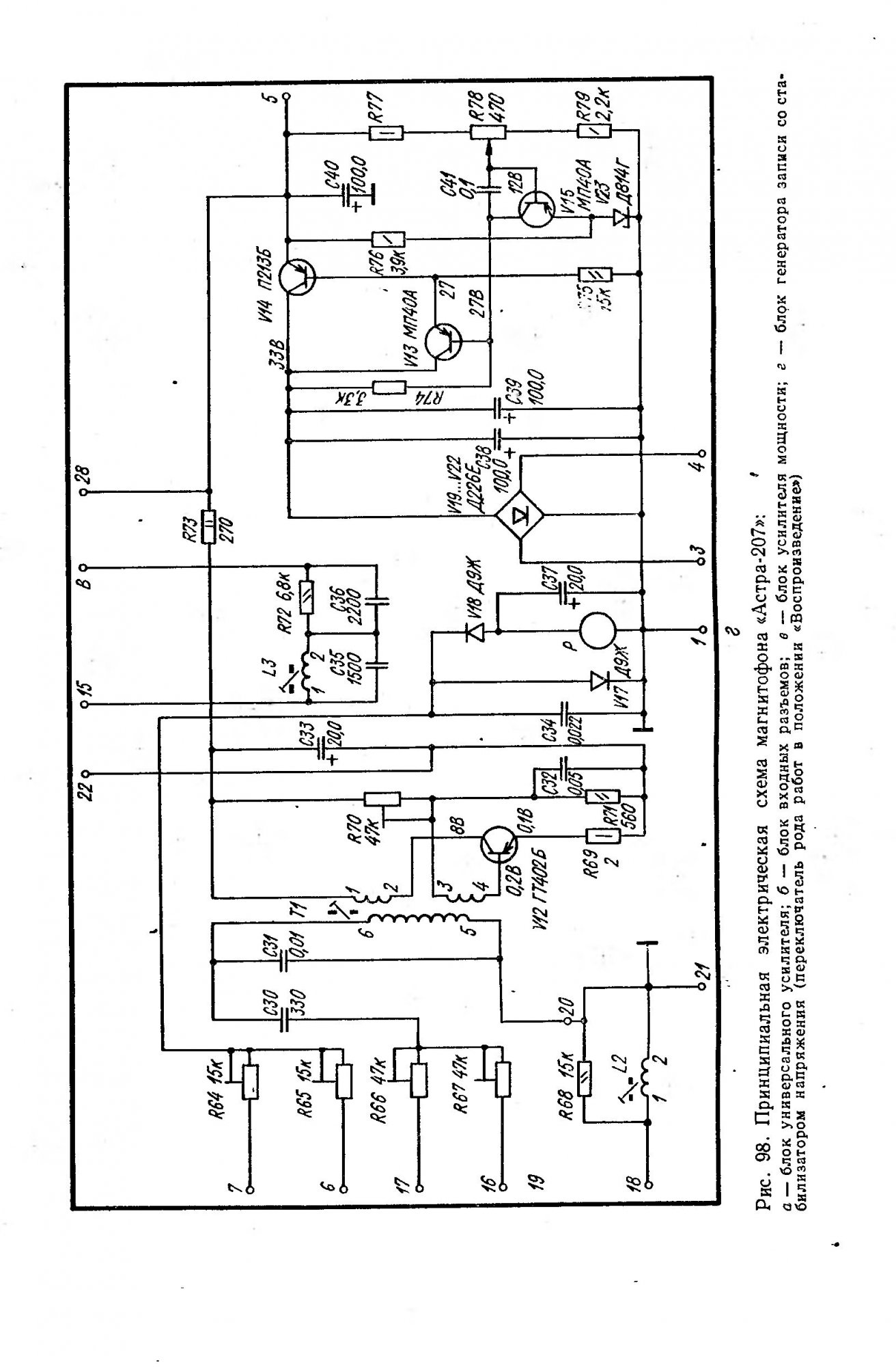
Схема от Астры-207
p0338.jpgp0339.jpg
У него 2 вторичные обмотки
p0388.jpg
Но по моему здесь опечатка, написано 2х121,5 витков (2х19,5В или 39В) (разбито на 2 катушки). Поясняю почему: напряжение после выпрямителя 33В, как раз под нагрузкой 28В переменки примерно, то есть на холостом ходу 32-33В, то есть 2х100 витков примерно, поэтому думаю должно быть 2х101,5 или 2х102,5 витков вместо 2х121,5
Данные из справочника Анисимова за 1980г
 
Последнее редактирование:
ТС-40 дофига разных, причем одинаковых по названию, но разных по обмоткам, здесь кроме типа важно какое ТУ стоит на трансформаторе, например в Астре-207 стоит ТС-40-1 2Ф0.470.025 ТУ https://priborazbor.ru/katushechnyj-magnitofon-astra-207/
Схема от Астры-207
Посмотреть вложение 39034Посмотреть вложение 39035
У него 2 вторичные обмотки
Посмотреть вложение 39036
Но по моему здесь опечатка, написано 2х121,5 витков (2х19,5В или 39В) (разбито на 2 катушки). Поясняю почему: напряжение после выпрямителя 33В, как раз под нагрузкой 28В переменки примерно, то есть на холостом ходу 32-33В, то есть 2х100 витков примерно, поэтому думаю должно быть 2х101,5 или 2х102,5 витков вместо 2х121,5
Данные из справочника Анисимова за 1980г
ТС-40 был и у меня, работал в стиралке развязкой по сети, 220 на 220 в. Был удобен тем, что выдавал малый ток, терпел и кз, я им чинил блоки питания для телеков . Сейчас он у Сашика Титова работает на подхвате, 110 на 110 или 220 на 110 или наоборот.
 
кроме типа важно какое ТУ стоит на трансформаторе
Емнип, ТУ регламентирует кучу параметров изготовления и эксплуатации, как то : тип влагозащищенности, электроизоляции, климатическое исполнение и пр.и пр. Но никак не число обмоток и величину выходных напряжений.
То есть ТС 40-1 при любом ТУ будет иметь одинаковые величины оных, за исключением откровенного брака.
 
27 вольт там DC уже приходит на унч
По схеме приведенной выше там стабилизатор напряжения 27В, входное которого 33В
Емнип, ТУ регламентирует кучу параметров изготовления и эксплуатации, как то : тип влагозащищенности, электроизоляции, климатическое исполнение и пр.и пр. Но никак не число обмоток и величину выходных напряжений.
То есть ТС 40-1 при любом ТУ будет иметь одинаковые величины оных, за исключением откровенного брака.
Из ГОСТа приведенного Вами:

2. ОСНОВНЫЕ ПАРАМЕТРЫ

2.1 В стандартах или технических условиях на конкретные группы или типы трансформаторов должны быть указаны следующие основные параметры:
- номинальная мощность трансформатора (указывают также мощности основных обмоток трехобмоточных трансформаторов и мощность обмотки НН трехобмоточных автотрансформаторов);
- номинальные напряжения основных обмоток на всех ответвлениях;
- условное обозначение схемы и группы соединений обмоток;
Также обратите внимание по ссылке приведенной Вами (www.vprl.ru), там есть ТС-40-1 двух видов с ПЛ-сердечником и Ш-сердечником, что противоречит сказанному Вами, НО в то же время Вы правы, ТУ аФ0.470.025 принадлежит всей серии ТС-40 (ТС-40-1, ТС-40-2, ТС-40-6...):cool:.
Откровенным браком не может быть, так как обмоточные данные есть и они разные, возможно какие-то ещё должны быть документы, например на целевое использование. Раньше с ТУ указанном на трансформаторе и в документации проблем не возникало:unsure:
 
Вы правы, с ПЛ и Ш сердечником, это фактически разные трансформаторы.
Имел в виду в пределах ПЛ или Ш серии.
Внятно не объяснил, виноват......
А насчет брака - у меня с десяток ТС 40 валяется,в заводской упаковке, новые, у некоторых ток ХХ 20мА , у других под сотню. Это брак или нет ?
 
Последнее редактирование:
Если ток холостого тока выходит за допустимые нормы, то это брак, конкретно у ТС-40 не знаю, но ТА56, например, при мощности 40Вт ток х.х. не более 0,1А, поэтому может и не брак. Разброс мог возникнуть в следствии хранения и при привышении определенного срока хранения может выходить за рамки. "ТС" вообще мутная тема, те же ТС-180 (без дополнительных цифр через тире) тоже попадаются с разными немного напряжениями, например у разных телевизоров. В ГОСТах даже пишут по соглашению между заказчиком и предприятием-изготовителем могут быть внесены изменения.
 
с десяток ТС 40 валяется,в заводской упаковке, новые, у некоторых ток ХХ 20мА , у других под сотню. Это брак или нет ?
если ток хх менее 10% от номинального заявленного, то эксплуатирую, выше ток, нагрев избыточный. Часто использую недомотанные трансы от бесперебойников. У вас при большом токе хх трансформатора на ПЛ возможно сердечник недотянут или криво, с зазором, с посторонним предметом в нем, собрали на заводе.
 
Гт806 относятся к подобным гт906
Терморезистор, диод, тразистор все равно. Главное - обеспечить термоконтакт.
 
Кто нибудь объяснит, зачем два резистора параллельно 300 и 22к, а не один на 20к ?
 
Кто нибудь объяснит, зачем два резистора параллельно 300 и 22к, а не один на 20к ?
Резистором который на 300 кОм подбирается половина напряжения питания на выходе, он на схеме должен быть со звездочкой (подборный)
 
Кто нибудь объяснит, зачем два резистора параллельно 300 и 22к, а не один на 20к ?
это сопротивление подборное.... для установи половины напряжения от Uпитания на выводе минуса С110 (4700мкф)
 
Последнее редактирование:
Только терморезистор лишний. Д311 + 100 Ом подстроечник куда лучше.
Терморезистор ничем не хуже диодно-резисторной цепочки.

Резистором который на 300 кОм подбирается половина напряжения питания на выходе, он на схеме должен быть со звездочкой (подборный)
Обычный макетно настроенный вариант, подгонка. Кому охота, может найти одиночный резистор одинакового номинала.
 
Можно и транзистор использовать ,например, ГТ322 ...в диаметре порядка 4мм ...сверлишь такое отверстие в радиаторе выходных транзисторов ...вставляешь его туда . Транзистор имеет 4 вывода ,корпус ИЗОЛИРОВАН от выводов к-б-э ,что в контакте с радиатором хорошо.

термодатчик.jpg гт322 -термодатчик.jpg
 
Не знал, спасибо!
На здоровье...
Ещё вариант включения ГТ322 в качестве термодатчика...

гт322 -термодатчик _2.jpg

Это всё от одного основателя большого количества схем по германиевым усилкам ,одна из которых на этой странице в посте 1,565 ,по которой был вопрос про резисторы.
 
Что скажете об этой схеме?
 

Статистика форума

Темы
3,296
Сообщения
262,430
Пользователи
2,544
Новый пользователь
vlad'mir
Назад
Сверху Снизу