Постройка басовой секции

Meshin

1 ранг
Регистрация
16 Июл 2020
Сообщения
6,775
Реакции
9,168
Репутация
307
Страна
Россия
Имя
Игорь
Это ж какой труд, а?! Обоим участникам браво!!!
Я бы уже давно с катушек слетел и кукушку упустил...
 

fvvn

1 ранг
Регистрация
4 Окт 2021
Сообщения
1,210
Реакции
1,220
Репутация
65
Страна
Россия
Имя
Вячеслав
Предупреждений
1
Иногда лучше послушать ушами чем верить линейке на графиках... идеально для самостроя только вред...
Думаю вылизывать есть смысл если будет требовательный заказчик...решать Вам
.... а Николаю низкий поклон за-то что никому не отказывает в помощи! Уважение_kefir
 
Регистрация
11 Окт 2019
Сообщения
1,220
Реакции
1,129
Репутация
65
Страна
Россия
Предупреждений
1
.... а Николаю низкий поклон за-то что никому не отказывает в помощи! Уважение_kefir
Поддержу: Николаю прям огромный плюс (и в карму тоже:) ) за такое терпение
 

Shef

2 ранг
Регистрация
5 Дек 2023
Сообщения
444
Реакции
315
Репутация
21
Город
British Columbia
Предупреждений
2
с целью сберечь динамики. Жена и дети - норовят на эти басовые секции понаставить предметов разных. Беседы ни к чему не привели. В итоге - я поднял СЧ/ВЧ фанерку
Имею поделИться собственным IMHO.. Как-то поставил полочники Advent на пол, на невысокие подставки с небольшим наклоном назад.. Звук настолько понравился, что они так и простояли года три. Конечно же это не моё "изобререние", посмотрите на Klipsch Heresy - та же парадигма. Невысокие напольники с СЧ/ВЧ на уровне коленей, отличны и для КДП (кресла для прослушивания) и для ходячего меломана / фона во всей квартире. Я бы их купил, но очень они кубатурные, поэтому юзаю towers.
Совершенно не понимаю как можно слушать СЧ-ВЧ поднятые так высоко, на мой УхЪ максимум на уровне груди.
Если б у меня была проблема с домочадцами, я бы переделал ваш угловой вариант на манер Heresy. Пусть кладут сверху что хотят. А если сделать и верх наклонным - вопрос будет решён кардинально, включая кота ))
 

Пётр

1 ранг
Регистрация
29 Ноя 2019
Сообщения
1,582
Реакции
938
Репутация
55
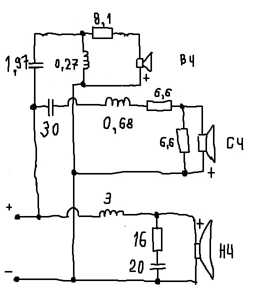
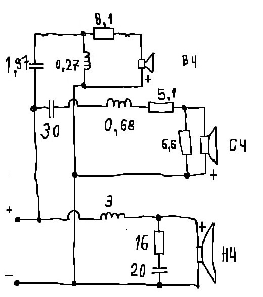
Замерил предлагаемую схему:
1.jpg

1.png
 
Регистрация
23 Июл 2019
Сообщения
6,677
Реакции
5,253
Репутация
203
Страна
Украина
Регистрация
23 Июл 2019
Сообщения
6,677
Реакции
5,253
Репутация
203
Страна
Украина
Оно. Мелкая ямка 3кГц - на пользу. Частота раздела в норме. Уровень на частоте резонанса ВЧ головки -15дБ от полки. Лёгкий наклон СЧ полки в сторону ВЧ. +6дБ полка ВЧ относительно СЧ. Финиш!
Слушайте, по факту можете уменьшать 8 Ом, на слух. Или поставьте сразу 6 и посмотрите, пока не разобрали.
 

Пётр

1 ранг
Регистрация
29 Ноя 2019
Сообщения
1,582
Реакции
938
Репутация
55
Ура!
Попробую водрузить на басовую секцию и сделать общий замер, как в прошлый раз.
Любопытно, что насчёт всего этого скажет Александр Бокарёв. Что-то его давно нет.
 
Регистрация
23 Июл 2019
Сообщения
6,677
Реакции
5,253
Репутация
203
Страна
Украина
Любопытно, что насчёт всего этого скажет Александр Бокарёв. Что-то его давно нет.
Так мы ж ничего не меняли. Получили его же АЧХ, убрав вылезший пик ВЧ, всё. Не проклянёт точно.
Посмотрите из двух точек.
 
Последнее редактирование:

apalych

1 ранг
Регистрация
7 Июн 2021
Сообщения
2,825
Реакции
2,782
Репутация
113
Страна
UA
Город
Кам'янець-Подільський
Имя
Андрій
Регистрация
23 Июл 2019
Сообщения
6,677
Реакции
5,253
Репутация
203
Страна
Украина
Практически порядок. Жаль, увеличилась ямка 3 кГц и потянула 4 кГц. Я бы, конечно, уменьшил 6,6 Ома, стоЯщие последовательно с контуром СЧ, но то - дело хазяйское.
 

Пётр

1 ранг
Регистрация
29 Ноя 2019
Сообщения
1,582
Реакции
938
Репутация
55
Слушаю тихонечко Найтвиш через одну АС с этим фильтром. Однозначно - этот вариант для меня на этой музыке гораздо лучше, чем предыдущий - вчерашний. Сейчас слышу в основном голос. Нижний бас не особо - может просто из-за того, что очень тихо (спят уже дети). Завтра планирую погромче послушать.
Но эффект такой - слушаешь и как будто оказываешься в сказочной стране из фильма Властелин колец - все эти эльфы, орки... Синтезатор забойный. Голос чёткий, но и в то же время без "циканий". Малый барабан - чёткий.
В общем - Николай кудесник! Вот так, дистанционно, за пару дней получить такой результат! Но, думаю, что и настройка А. Бокарёва ранее - здесь сыграла не последнюю роль.
Насчёт нижнего баса - не понятно пока, надо будет слушать завтра, погромче.
 
Регистрация
23 Июл 2019
Сообщения
6,677
Реакции
5,253
Репутация
203
Страна
Украина
Насчёт нижнего баса - не понятно пока, надо будет слушать завтра, погромче.
С Вашей расческой +/-10дБ, торчащей из угла, удивительно что вообще слушаете )))
Если надо больше баса, замените 16 Ом на 10. Но - А. Б. не говорите)
 

Пётр

1 ранг
Регистрация
29 Ноя 2019
Сообщения
1,582
Реакции
938
Репутация
55
Жаль, увеличилась ямка 3 кГц и потянула 4 кГц. Я бы, конечно, уменьшил 6,6 Ома, стоЯщие последовательно с контуром СЧ, но то - дело хазяйское.
Уменьшил бы до 6 Ом?
У меня сейчас, если не применять параллеливание резисторов - либо эти 6,6 Ом, либо по 5,1 Ом могу попробовать.
 

apalych

1 ранг
Регистрация
7 Июн 2021
Сообщения
2,825
Реакции
2,782
Репутация
113
Страна
UA
Город
Кам'янець-Подільський
Имя
Андрій
Но - А. Б. не говорите
smile_1
У меня сейчас, если не применять параллеливание резисторов - либо эти 6,6 Ом, либо по 5,1 Ом могу попробовать.
Приходим к тому, что нужна тонкомпенсация на малом волюмэ. Угу.
Пара-тройка резюков + пара-тройка кондюков smile_10
 
Регистрация
23 Июл 2019
Сообщения
6,677
Реакции
5,253
Репутация
203
Страна
Украина
Приходим к тому, что нужна тонкомпенсация на малом волюмэ. Угу.
Пара-тройка резюков + пара-тройка кондюков smile_10
Нормальная ТК никогда не помешает. Нормальная - та, которая чуть слабее полной, но чуть сильнее неслышной.
С Вашей расческой +/-10дБ, торчащей из угла, удивительно что вообще слушаете )))
А что с трёх метров видно?
 
Регистрация
23 Июл 2019
Сообщения
6,677
Реакции
5,253
Репутация
203
Страна
Украина
Разница - на грани точности измерения. Если можете наложить графики СЧ полосы с верхней точки измерения с 6,6 и и 5,1 Ом - покажите. Мне последний вариант нравится больше)) Надеюсь, Вы микрофон при изменении номиналов фильтра не двигаете? Мне кажется. полка мидбаса гульнула на -1,5дБ...
 

Пётр

1 ранг
Регистрация
29 Ноя 2019
Сообщения
1,582
Реакции
938
Репутация
55
А что с трёх метров видно?
Вот такое вот:
3.png

Разница - на грани точности измерения. Если можете наложить графики СЧ полосы с верхней точки измерения с 6,6 и и 5,1 Ом - покажите. Мне последний вариант нравится больше)) Надеюсь, Вы микрофон при изменении номиналов фильтра не двигаете?
Микрофон при измерениях и при изменении номиналов - теперь не двигаю. Единственное - между этими двумя замерами микрофон ездил вверх-вниз, так как замерял в двух положениях каждый вариант. А полосы в электронном виде - не сохранил.
 
Регистрация
23 Июл 2019
Сообщения
6,677
Реакции
5,253
Репутация
203
Страна
Украина
Это с трёх метров на высоте НЧ/СЧ? Бас ровнее, чем вблизи, чудеса.
Горбик 300 Гц намекает на то, что в ФНЧ было бы неплохо попробовать цепочку 30 мкФ+10 Ом... Нет, это наверное нижний стык, а с трех метров надо всё с верхней точки смотреть.
Послушаете, потом попробуйте прикол: 0,5 мкФ в параллель 8 Ом в ФВЧ. Вдруг понравится. возраст всё-таки.
*****
Итого. НЧ полосу пока не трогали. СЧ полосе в 2 раза увеличили входное сопротивление на НЧ и чуть - в остальной полосе, саму полосу протянули выше. В ВЧ полосе на частоте 15 кГц, было 1 мкФ+5 Ом=11Ом комплексное, стало 2мкФ+8 Ом=9 Ом комплексное, полосу сузили. Харэ.
При желании поиграться с уровнями полок меняем номиналы гасилок 8,1 и 5,1 Ом.
До завтра.
 
Последнее редактирование:

Пётр

1 ранг
Регистрация
29 Ноя 2019
Сообщения
1,582
Реакции
938
Репутация
55
Это - с трёх метров на уровне ушей стоя. То есть - на высоте СЧ динамика

С утра послушал Queen - результатом очень доволен. Одним словом - могу характеризовать, как улучшение разборчивости, ясности (ближе к верхней части СЧ - женский голос, тарелки, синтезатор, электрогитара верхнего регистра). Бас - он тоже как бы без претензий по качеству. Но как-будто не хватает некой фундаментальности, которая на мой взгляд - появлялась при подключении PP в биампе на басовую секцию (Rвыф у PP у меня 4,1 Ом - может это как-то влияет. Может другое).
Ещё момент - во время прослушивания у меня правый канал на работающем усилителе (SE) был подключён к правой СЧ-ВЧ секции. И хоть я её развернул "мордой" в угол, чтоб не мешала - но в "Аудациос" я не смог найти ползунка, отключающего правый канал. Я к тому что - это тоже могло повлиять на восприятие баса.
Такой вопрос: а следует ли для СЧ/ВЧ второго канала проводить такие же замеры? Или же правильно - чтобы номиналы деталей пассивного фильтра были бы одинаковые и в правой и в левой АС?
Ещё раз - Николаю большое спасибо за проделанную для меня работу. Результат есть и он - 100% положительный. Я в восторге.
 

Пётр

1 ранг
Регистрация
29 Ноя 2019
Сообщения
1,582
Реакции
938
Репутация
55
Разница - на грани точности измерения. Если можете наложить графики СЧ полосы с верхней точки измерения с 6,6 и и 5,1 Ом - покажите. Мне последний вариант нравится больше)) Надеюсь, Вы микрофон при изменении номиналов фильтра не двигаете? Мне кажется. полка мидбаса гульнула на -1,5дБ...
Нашёл в Paint возможность прозрачного наложения. Наложил. За привязку - принял АЧХ пищалки:
1.png


Т.е. двухполосный усилитель прижился?
Нет пока ответа. С новыми фильтрами я ещё второй усилитель (PP на бас) не подключал. Надо сначала в порядок хоть что-то привести. У меня один канал на фанерке пока фильтров только имеется.
 

Сергей Z

1 ранг
Регистрация
14 Мар 2020
Сообщения
4,887
Реакции
1,088
Репутация
85
Страна
Россия
Я давно перестал слушать один канал. Делаю и потом слушаю сразу два.
Прослушивание только одного канала не даёт полного впечатления от содеянного. Очень сложно понять надо оно такое или нет.
 
Последнее редактирование:
Регистрация
23 Июл 2019
Сообщения
6,677
Реакции
5,253
Репутация
203
Страна
Украина
Это - с трёх метров на уровне ушей стоя. То есть - на высоте СЧ динамика
Посмотреть вложение 81411
Комната перекосила АЧХ в сторону НЧ за счет усреднённых переотражений, что не удивительно. Странно, что 4 кГц с метра были на уровне 2 кГц, а сейчас разница 3дБ.
следует ли для СЧ/ВЧ второго канала проводить такие же замеры? Или же правильно - чтобы номиналы деталей пассивного фильтра были бы одинаковые и в правой и в левой АС?
У Вас разные ВЧ, и разные только выше 2,5 кГц. В первом приближении ФВЧ одинаковые, на крайняк подстраивается ФВЧ. Кстати, Вы не сравнивали СЧ динамики, в том числе - по отдаче. В конце настройки надо будет с метра сравнить две АС и попробовать убрать расхождения на СЧ/ВЧ больше +/-2дБ, если будут.
Нашёл в Paint возможность прозрачного наложения. Наложил. За привязку - принял АЧХ пищалки:
Посмотреть вложение 81432
Видно, что 5 Ом пошло на пользу.
Делаете второй канал и слушаете?
Есть мысль подтянуть 4 кГц, два способа. Первый: несколько мкФ в параллель СЧ динамику для довернуть фазу на стыке и получить +6дБ вместо +3дБ. Второй: перейти на 3-й порядок ФВЧ, который тоже довернёт фазу на стыке и позволит получить перегиб АЧХ на частоте 3...4 кГц. Оба варианта можно протестировать на слух и оба увеличивают крутизну соответственных скатов.
Для фундаментальности баса я бы попробовал в ФНЧ цепочку 10 Ом+30 мкФ, чтобы изменить соотношение НЧ и мидбаса.
 

Aleph

1 ранг
Регистрация
31 Дек 2019
Сообщения
3,003
Реакции
2,489
Репутация
116
Возраст
40
Страна
ДНР
Город
Макеевка
Имя
Сергей

Статистика форума

Темы
3,072
Сообщения
234,848
Пользователи
2,375
Новый пользователь
Sergovlad
Сверху Снизу