Постройка басовой секции

Пётр

1 ранг
Регистрация
29 Ноя 2019
Сообщения
1,582
Реакции
938
Репутация
55
отдельно взятый ВЧ должен при такой АЧХ звучать противно. Это не заметно?
Я мерил розовым шумом. Шипит он себе... я бы не сказал, что прям противно.
Буду планировать с трёх метров перемерить. В надежде.
Ну и может - что другие люди подскажут чуть позже здесь...
 
Регистрация
23 Июл 2019
Сообщения
6,677
Реакции
5,252
Репутация
203
Страна
Украина
Как он мог появиться
Нехорошая догадка: с А.Б. измеряли один ВЧ, а сейчас - другой. ПосмОтрите завтра второй. Может, этот просто раскрутился или расклеился? Да, сч тоже разные, но это в самом конце (сведЕние левой с правой).
 
Регистрация
12 Ноя 2019
Сообщения
28,303
Реакции
13,620
Репутация
395
Нехорошая догадка: с А.Б. измеряли один ВЧ, а сейчас - другой. ПосмОтрите завтра второй. Может, этот просто раскрутился или расклеился? Да, сч тоже разные, но это в самом конце (сведЕние левой с правой).
Пишки 409-е я привез в тот раз. Других пока не предвидится. С емкостишкой в одну микру ачх крайне пологая, торчащих углов нет. шкварить некому.

Не отходя от кассы - зафиксировал АЧХ ВЧ динамика через фильтр (отдельно):
Посмотреть вложение 81154
На графике
- малиновым цветом это то, что засняли вместе с А. Бокарёвым в 2019
- синим цветом - это то, что наснимал я сейчас

Почему наверху отдача увеличилась - логичное объяснение как бы есть - были заменены выходные трансформаторы. А старые - имели завал наверху.
А вот, как получилось, что нижняя граница вниз по частоте уехала - объяснений не могу найти. Может ВЧ динамик со временем как бы "разрабатываться"? При замере с А.Б. - они были новые, из коробки.

Ну и заснял суммарную АЧХ (при работе СЧ и ВЧ секций одновременно)
Посмотреть вложение 81156
красная линия - результирующая
синяя линия- ВЧ отдельно
зелёная линия - СЧ отдельно (нормальное подключение делителя из резисторов)

В надежде что кто-нибудь даст комментарии...
сМОТРИ ВЫШЕ, где советую врезать в ВЧ контур катушку, сразу за кондером, в землю сидящую. бери 0,68-0,8 мгн, присядет резонансный торчок на 1300, подтянется полочка
в районе 507 кил. Сейчас фильтр отрезал слишком высоко.
Емкость можно добавить, сделав скажем, 1, 5 мкф.

Теперь только завтра. Смотал всё. Поздно.

Микрофон ставил - примерно 1 м напротив средней точки между СЧ и ВЧ по высоте. Ноя микрофон двигал - выше/ниже этот пычок - везде присутствовал. Если только стена напротив как-то может отражать... даже и не знаю.

Больше всего смущает, что с Александром этот же динамик мерили, с таким же фильтром - и этого горба не было. Как он мог появиться
Пик мог давиться высоким выходным усилителя.

Не отходя от кассы - зафиксировал АЧХ ВЧ динамика через фильтр (отдельно):
Посмотреть вложение 81154
На графике
- малиновым цветом это то, что засняли вместе с А. Бокарёвым в 2019
- синим цветом - это то, что наснимал я сейчас

Почему наверху отдача увеличилась - логичное объяснение как бы есть - были заменены выходные трансформаторы. А старые - имели завал наверху.
А вот, как получилось, что нижняя граница вниз по частоте уехала - объяснений не могу найти. Может ВЧ динамик со временем как бы "разрабатываться"? При замере с А.Б. - они были новые, из коробки.

Ну и заснял суммарную АЧХ (при работе СЧ и ВЧ секций одновременно)
Посмотреть вложение 81156
красная линия - результирующая
синяя линия- ВЧ отдельно
зелёная линия - СЧ отдельно (нормальное подключение делителя из резисторов)

В надежде что кто-нибудь даст комментарии...
Удавишь пик на пищалке, уровень ее убавишь, будет правильный стык.
Катуху ставь на пищалу. Непременно.
 

Пётр

1 ранг
Регистрация
29 Ноя 2019
Сообщения
1,582
Реакции
938
Репутация
55
Давайте по-порядку, пожалуйста. Сначала - разобраться с СЧ. Что я своим умишком уяснил. АЧХ СЧ с фильтром - можно считать, что совпадает - тот вариант, что замеряли с Александром в 2019, тот вариант что я подключил резисторы неправильно и тот вариант что я подключил резисторы-делитель как положено. Отсюда я как бы делаю вывод: нужно уяснить правильное расположение L-pad (делителя), сделать как правильно. И закрыть пока тему с СЧ. Хотелось бы услышать комментарий А. Бокарёва - насчёт того, можно ли считать, что АЧХ по СЧ одинаковые https://ldsound.club/attachments/2-png.81153/
Следующий вылезший момент - по ВЧ. Я конечно, могу перемерить с трёх метров - но спокойствия не будет, даже если там всплеска на частоте резонанса не будет. Я точно помню - с Александром мы мерили примерно метр от пищалки. И всплеска понизу на АЧХ - не было. Планирую подобным образом замерить второй ВЧ - есть ли там выброс АЧХ в районе 1700 Гц. И потом уже - читать ваши рекомендации по изменению фильтра ВЧ. Признаюсь - в этот тёмный лес не хотелось бы заходить. Но вижу - что АЧХ - совсем не такая, как тогда и с теми выходниками. Ситуация абсурдная - ущербные выходные трансформаторы, с завалом поверху - выравнивали АЧХ пищалки. Теперь же, с нормальными трансами - АЧХ стала задираться вверх к 20 кГц.
 

Rezvoy

1 ранг
Регистрация
19 Окт 2020
Сообщения
2,427
Реакции
794
Репутация
58
Возраст
68
Страна
Россия
Имя
Александр
А сейчас тем же микрофоном измеряли?
 

Пётр

1 ранг
Регистрация
29 Ноя 2019
Сообщения
1,582
Реакции
938
Репутация
55
А сейчас тем же микрофоном измеряли?
да

Замерил второй ВЧ динамик.
1.png

красным - замеры с Александром в 2019
синим - мои замеры сейчас

чуть ниже уехал нижний срез по частоте. Но такое впечатление, что Марков Николай прав - с Александром мы мерили похоже именно этот ВЧ динамик. Ну и похоже - что они отличаются (два ВЧ динамика друг от друга)

вот как бы сравнение двух ВЧ (наложенных на эталонный для меня - замер 2019):
2.png


Что делать дальше?
Совет от А. Бокарёва услышал - увеличивать номинал конденсатора в фильтре ВЧ с 1 мкФ до 1,5 мкФ и поставить катушку индуктивности (сразу за кондёром в землю) - я так понимаю, это переход с 1-го порядка фильтра на 2-ой. Ну и хотелось бы услышать - в связи с моими замерами по второму ВЧ динамику - что-то меняется? Или - рекомендации по моим действиям остаются те же?
 
Последнее редактирование:
Регистрация
23 Июл 2019
Сообщения
6,677
Реакции
5,252
Репутация
203
Страна
Украина
Пик мог давиться высоким выходным усилителя.
Ну и шуточки у тебя, боцман!(С) Оно как раз повышает пик резонанса, уменьшая демпфирование. Но реактивное сопротивление 1 мкФ на частоте 1,6 кГц равно 100 Ом (!), и добротность подвижки ВЧ головки равна механической добротности.
Если в зазоре высохла магнитная жижа (просто предположение), то запросто...
Рабочая версия для СЧ из Ямахи!
сМОТРИ ВЫШЕ, где советую врезать в ВЧ контур катушку, сразу за кондером, в землю сидящую. бери 0,68-0,8 мгн, присядет резонансный торчок на 1300, подтянется полочка
в районе 507 кил. Сейчас фильтр отрезал слишком высоко.
Емкость можно добавить, сделав скажем, 1, 5 мкф.
Можно и так. Частоту раздела надо вернуть на 3 кГц минимум. Но последовательным контуром если править пик, то крутизна ската снижается, а если просто катушкой, то повышается.
да

Замерил второй ВЧ динамик.
Посмотреть вложение 81162
красным - замеры с Александром в 2019
синим - мои замеры сейчас

чуть ниже уехал нижний срез по частоте. Но такое впечатление, что Марков Николай прав - с Александром мы мерили похоже именно этот ВЧ динамик. Ну и похоже - что они отличаются (два ВЧ динамика друг от друга)

вот как бы сравнение двух ВЧ (наложенных на эталонный для меня - замер 2019):
Посмотреть вложение 81163

Что делать дальше?
Совет от А. Бокарёва услышал - увеличивать номинал конденсатора в фильтре ВЧ с 1 мкФ до 1,5 мкФ и поставить катушку индуктивности (сразу за кондёром в землю) - я так понимаю, это переход с 1-го порядка фильтра на 2-ой. Ну и хотелось бы услышать - в связи с моими замерами по второму ВЧ динамику - что-то меняется? Или - рекомендации по моим действиям остаются те же?
Ну вот. а ты боялась... Оба ВЧ растоптались, но по-разному. Выше 2,5 кГц - никакой разницы.
Не вижу кайфа в том, чтобы ВЧ работали до частоты своего резонанса (1,5 и 1,8 кГц), независимо от того, пик там или ровно. (А динамики-то точно против.) Следовательно, частота раздела 3 кГц. Идя по пути наименьшего сопротивления, добавляем просто катушку на землю по заветам А. Б., и для ДВУХ ВЧ смотрим картинку. Если АЧХ резко приближаются друг к дружке - обойдёмся без последовательного контура, уменьшив номинал катушки для болящей ВЧ.. В противном случае (уйди, працивный) лучше поставить последовательные контуры на частоты резонанса, и резистором в них вырулить идентичные АЧХ. Напоминаю: на этих частотах для данной конструкции идентичная АЧХ = идентичная ФЧХ. И чем АЧХ мягче валится, тем линейнее ФЧХ.
Хотелось бы услышать комментарий А. Бокарёва - насчёт того, можно ли считать, что АЧХ по СЧ одинаковые https://ldsound.club/attachments/2-png.81153/
Были бы разные - он "рассказал" бы Вам за СЧ, а не за ВЧ.
Ситуация абсурдная - ущербные выходные трансформаторы, с завалом поверху - выравнивали АЧХ пищалки. Теперь же, с нормальными трансами - АЧХ стала задираться вверх к 20 кГц.
Всё логично, сэр. Посмотрите на монотонно задирающуюся АЧХ ФВЧ первого порядка #3,447 . А Пишка вверху - ровная. Это - работа фильтра.

Совет от А. Бокарёва услышал - увеличивать номинал конденсатора в фильтре ВЧ с 1 мкФ до 1,5 мкФ и поставить катушку индуктивности (сразу за кондёром в землю) - я так понимаю, это переход с 1-го порядка фильтра на 2-ой. Ну и хотелось бы услышать - в связи с моими замерами по второму ВЧ динамику - что-то меняется? Или - рекомендации по моим действиям остаются те же?
Возьмите лучший ВЧ, добавьте катушку на землю (сначала не трогая номинал 1 мкФ), посмотрите верхний стык.
*****
Сложно плыть против водопада. Вы пока-что всё измеряете в предположении возврата к трёхполосной АС? Дело в том, что настраивать всю лабуду надо с тем УМ, с которым и будет фильтр работать. Причём, при выходном сопротивлении УМ 6 Ом, подключение полосы НЧ скажется на уровне полосы СЧ и наоборот, причём с Вашими 60 мкФ (Вы их пока не изменили?) ФСЧ повлияет на НЧ полосу сильнее. Надо определиться сейчас: какой УМ, сколько УМ. Надо для того, чтобы мы увидели полку НЧ. Пока мы её не видим, мы не знаем: поднимать уровень для СЧ или валить горб вверху для ВЧ. В биампинге не так критично: полки НЧ и СЧ/ВЧ ровняются регулировкой уровня УМ СЧ/ВЧ в сторону уменьшения. А в трёхполоске...
 
Последнее редактирование:

Пётр

1 ранг
Регистрация
29 Ноя 2019
Сообщения
1,582
Реакции
938
Репутация
55
Сложно плыть против водопада. Вы пока-что всё измеряете в предположении возврата к трёхполосной АС? Дело в том, что настраивать всю лабуду надо с тем УМ, с которым и будет фильтр работать. Причём, при выходном сопротивлении УМ 6 Ом, подключение полосы НЧ скажется на уровне полосы СЧ и наоборот, причём с Вашими 60 мкФ (Вы их пока не изменили?) ФСЧ повлияет на НЧ полосу сильнее. Надо определиться сейчас: какой УМ, сколько УМ. Надо для того, чтобы мы увидели полку НЧ. Пока мы её не видим, мы не знаем: поднимать уровень для СЧ или валить горб вверху для ВЧ. В биампинге не так критично: полки НЧ и СЧ/ВЧ ровняются регулировкой уровня УМ СЧ/ВЧ в сторону уменьшения. А в трёхполоске...
Николай, то что Вы говорите (руководство к действию) - для меня страшно (не понятно).
Александр - уже имел дела с подобными пищалками PHT-409. Я как бы склонен считать что у него именно с этими пищалками - именно опыт. Ну и пишет он в шуточно-лёгкой форме - мозгу легче поверить, легче довериться. Не в обиду Вам. Вы мне - тоже многими советами тут уже помогли.
Что касается биамп/не биамп. В идеале - я хотел бы иметь SE 6С4С на всю трёхполосную АС. Но если по-новой покажется "каша" на басу - уже мыслями почти смирился с тем, чтобы PP 6П41С отдельно на басовую секцию работал (биамп). СЧ/ВЧ же секция - в любом случае планируется подключаться к SE 6С4С. И свои замеры АЧХ по СЧ/ВЧ сейчас - я делаю именно через усилитель SE 6С4С. Так как АЧХ сравниваю с полученной в 19 году - то и детали применяю те же, что в 19 году: 5,1 Ом, 3 Ом (2 шт.), 60 мкФ, 1 мкФ, 0,68 мГн. Если и переходить на другие номиналы - то постепенно осознанно. А не так - что возьму и махом заменю на 1,5 мкФ, 40 мкФ и т.д. Надеюсь - поймёте.
1.jpg
 
Последнее редактирование:
Регистрация
23 Июл 2019
Сообщения
6,677
Реакции
5,252
Репутация
203
Страна
Украина
Николай, то что Вы говорите (руководство к действию) - для меня страшно (не понятно).
Александр - уже имел дела с подобными пищалками PHT-409. Я как бы склонен считать что у него именно с этими пищалками - именно опыт. Ну и пишет он в шуточно-лёгкой форме - мозгу легче поверить, легче довериться. Не в обиду Вам. Вы мне - тоже многими советами тут уже помогли.
Что касается биамп/не биамп. В идеале - я хотел бы иметь SE 6С4С на всю трёхполосную АС. Но если по-новой покажется "каша" на басу - уже мыслями почти смирился с тем, чтобы PP 6П41С отдельно на басовую секцию работал (биамп). СЧ/ВЧ же секция - в любом случае планируется подключаться к SE 6С4С. И свои замеры АЧХ по СЧ/ВЧ сейчас - я делаю именно через усилитель SE 6С4С. Так как АЧХ сравниваю с полученной в 19 году - то и детали применяю те же, что в 19 году: 5,1 Ом, 3 Ом (2 шт.), 60 мкФ, 1 мкФ, 0,68 мГн. Если и переходить на другие номиналы - то постепенно осознанно. А не так - что возьму и махом заменю на 1,5 мкФ, 40 мкФ и т.д. Надеюсь - поймёте.
Всё делаете правильно.
 

Пётр

1 ранг
Регистрация
29 Ноя 2019
Сообщения
1,582
Реакции
938
Репутация
55
Не дождался дополнительных комментариев А.Б., - полез ваять.
Припаял катушку индуктивности 0,68 мГн в цепь ВЧ, сразу после конденсатора на землю:
1.jpg

Замерил АЧХ:
1.png

красным цветом - АЧХ ВЧ в 2019;
синим цветом - то что получилось сейчас с катушкой 0,68 мГн.
Динамик замерялся - тот, у которого вчера был всплеск побольше в районе 1,7 кГц. Этот выброс - ушёл. Но АЧХ - с наклоном уходит вверх по отдаче, с увеличением частоты. Что мне делать дальше?
P.S. Замер данного синего графика пришёлся на момент усиления дождя за окном - поэтому спад слева пологий. В более тихой обстановке этот вариант ниже сообщением.
 
Последнее редактирование:

Ёшкин Кот

1 ранг
Регистрация
1 Фев 2020
Сообщения
727
Реакции
365
Репутация
37
Тут такое дело, что собственное низкое активное сопротивление катушки (проволока) должно помогать "давить" резонанс. А резистор 3 (Ома, если я правильно понял) препятствует этому. Здесь для достижения лучшего результата, наверное, имеет смысл "подвигать" как самими детальками, так и их номиналами. ИМХО
 

Пётр

1 ранг
Регистрация
29 Ноя 2019
Сообщения
1,582
Реакции
938
Репутация
55
Сделал доп измерения (динамик левый, у которого всплеск на АЧХ на частоте резонанса)
3.png

На графике:
красная линия - правый ВЧ динамик, 2019
малиновая линия - левый динамик без индуктивности сейчас
синяя линия - левый динамик с индуктивностью сейчас

Ещё одно наложение:
4.png

здесь:
синяя линия - левый динамик с индуктивностью сейчас
зелёная линия - правый динамик без индуктивности сейчас
Мистика, фантастика. Такие графики приводят меня в ступор и к осознанию - что я ничего не понимаю. Хоть целую вечность замерять. Лишь на ваши советы надежда.
Здесь для достижения лучшего результата, наверное, имеет смысл "подвигать" как самими детальками, так и их номиналами. ИМХО
К сожалению, "подвигать" (т.е. - самого важного) я не умею

Сделал ещё замер. Поменял конденсатор с 1 мкФ на 1,5 мкФ. Схемка такая:
2.jpg

Динамик левый, у которого всплеск на Fрез был больше
1.png

Здесь
красная линия - правый ВЧ, 2019
зелёная линия - конденсатор 1 мкФ
синяя линия - конденсатор 1,5 мкФ
Что лично я могу отметить. При увеличении номинала конденсатора - можно считать, что АЧХ чуть выровнялась - т.к. вверху они сходятся, а внизу у синего - отдача побольше. Ну и общее - в нижней части АЧХ поднялась по отдаче при увеличении номинала конденсатора до 1,5 мкФ. Уровни и замеры - были те же что и при зелёной линии (с конденсатором 1 мкФ).
Таким образом, я выполнил советы (по внедрению катушки и по увеличению конденсатора). Но итог не вижу, и куда дальше двигаться.
 
Последнее редактирование:
Регистрация
23 Июл 2019
Сообщения
6,677
Реакции
5,252
Репутация
203
Страна
Украина
Даешь ФВЧ в составе 1мкФ, катушка на землю, 3 Ома, и к нему - СЧ полосу! Смотрим стык. Чуйка, что катушку надо будет убавить там, где она есть (где ВЧ с выбросом), и поставить 0,68 там, где сейчас нет. Патамушта перегиб АЧХ ВЧ полосы на 2 кГц вылезет горбом на суммарной АЧХ в ненужном месте 2,5 кГц - раз, и резонансная частота ВЧ головок находится в полосе рабочих частот - два.
Видно, что вторым порядком обойдется.
 

apalych

1 ранг
Регистрация
7 Июн 2021
Сообщения
2,825
Реакции
2,782
Репутация
113
Страна
UA
Город
Кам'янець-Подільський
Имя
Андрій
К сожалению, "подвигать" (т.е. - самого важного) я не умею
Размотать катуху на половину.
Намотахать обратно, делая отводы через 10-15 витков.
(аналогично, втыкая в дырку катухи железяку – магнетик/диамагнетик, а потом замеряя всякие Генри)
Ну и несколько кондёров и резючков, которые последовательно/параллельно.
То будет "подвигать" (номиналами);)
 
Последнее редактирование:

Пётр

1 ранг
Регистрация
29 Ноя 2019
Сообщения
1,582
Реакции
938
Репутация
55
Даешь ФВЧ в составе 1мкФ, катушка на землю, 3 Ома, и к нему - СЧ полосу! Смотрим стык. Чуйка, что катушку надо будет убавить там, где она есть (где ВЧ с выбросом), и поставить 0,68 там, где сейчас нет. Патамушта перегиб АЧХ ВЧ полосы на 2 кГц вылезет горбом на суммарной АЧХ в ненужном месте 2,5 кГц - раз, и резонансная частота ВЧ головок находится в полосе рабочих частот - два.
Видно, что вторым порядком обойдется.
Чувствую, что какая-то мысль вложена. Но ничего не понял. Можете чуть проще, для чайников? "И к нему СЧ полосу" - это как? Это замер совместный попробовать сделать АЧХ (СЧ+ВЧ), в надежде что как-то на суммарной компенсируется что-то?
 
Регистрация
23 Июл 2019
Сообщения
6,677
Реакции
5,252
Репутация
203
Страна
Украина
"И к нему СЧ полосу" - это как? Это замер совместный попробовать сделать АЧХ (СЧ+ВЧ), в надежде что как-то на суммарной компенсируется что-то?
Да, именно так. Если стык получится нормальный, уровень на стыке вырастет на 5...6дБ, и 1,5 мкФ будут не нужны, хватит и 1 мкФ в ФВЧ. А там посмотрим, уменьшать катушку или нет.
Не бойтесь, меняйте, измеряйте, выкладывайте.
 

Пётр

1 ранг
Регистрация
29 Ноя 2019
Сообщения
1,582
Реакции
938
Репутация
55
Проделал. Так как я понял.
Схема такая (ВЧ динамик левый):
1.jpg

Замерял АЧХ суммарно СЧ+ВЧ и отдельно - СЧ и ВЧ. Графики получил такие:
1.png


Дабы не терять время в ожидании советов - сделал ещё замеры. С конденсатором 1,5 мкФ в ВЧ звене. Левый ВЧ динамик.
Схемка:
2.jpg

Результаты:
2.png
 
Последнее редактирование:
Регистрация
23 Июл 2019
Сообщения
6,677
Реакции
5,252
Репутация
203
Страна
Украина
Проделал. Так как я понял.
Схема такая (ВЧ динамик левый):
Посмотреть вложение 81215
Замерял АЧХ суммарно СЧ+ВЧ и отдельно - СЧ и ВЧ. Графики получил такие:
Посмотреть вложение 81216
Неплохо по суммарной АЧХ, но странно на стыке. Взаимопомощь по-прежнему слабая, выше 3кГц отсутствует напрочь. Наблюдается перехлёст полос в зоне 1,8...3кГц, а суммарный горб 2,3 кГц к удивлению несильный.
Спрошу кой-чего. Когда Вы снимаете эти три АЧХи, микрофон не двигается с места? Я к тому, что суммарная ВЧ должны бы совпадать с полосой ВЧ, а у Вас - расхождение до 3дБ.
Если уровень СЧ здесь достаточный (а это не видно, пока Вы не добавили НЧ полосу), то достаточно увеличить на Ома четыре гасящий резистор и таки уменьшить катушку, до 0,5 мГн, чтобы ушло наложение полос.

Дабы не терять время в ожидании советов - сделал ещё замеры. С конденсатором 1,5 мкФ в ВЧ звене. Левый ВЧ динамик.
Схемка:
Посмотреть вложение 81217
Результаты:
Посмотреть вложение 81218
Тут ВЧ пашет на частоте резонанса вовсю. Весь стык влез в 1,5...1,8кГц, и это печалька. Его надо поднимать вверх, и сильно. Вариант с 1 мкФ лучшее.
 
Последнее редактирование:

Пётр

1 ранг
Регистрация
29 Ноя 2019
Сообщения
1,582
Реакции
938
Репутация
55
Спрошу кой-чего. Когда Вы снимаете эти три АЧХи, микрофон не двигается с места? Я к тому, что суммарная ВЧ должны бы совпадать с полосой ВЧ, а у Вас - расхождение до 3дБ.
Я при съёмке АЧХ - держу микрофон в руке, примерно метр от динамика. При этом - позволяю себе его (микрофон) двигать: 20 см вверх/вниз и ещё 20 см вправо/влево. И, откровенно говоря, ищу при этих движениях такое положение, где нет острых всплесков на АЧХ. Нашёл такое - фиксирую как итог. То есть, как бы - пытаюсь найти наиболее красивый вариант, подсознательно.
А мне что - поставить микрофон на стойку мёртво и снимать? Там не так красиво (хоть и это не особо красиво) может получиться.
Если уровень СЧ здесь достаточный (а это не видно, пока Вы не добавили НЧ полосу), то достаточно увеличить на Ома четыре гасящий резистор и таки уменьшить катушку, до 0,5 мГн, чтобы ушло наложение полос.
Пока что предлагаю считать, что уровень СЧ достаточный для НЧ полосы. Вроде с СЧ примерно совпало с тем что было в 2019. Хоть на что-то надо опереться.

Перезамерил. Благо - все спят уже, не мешают.
Микрофон установил жёстко. Напротив средины между СЧ и ВЧ по высоте и на расстоянии от динамиков на 1 м. Во время всех измерений он оставался строго на одном и том же месте.
Результаты:
1.jpg

2.png


и

2.jpg

1.png



По мотивам Николая (и исходя из наличия деталей) собрал и замерил ещё пару схем. Может это поспособствует вам дать мне совет далее действовать.
4.jpg

4.png


и

5.jpg

5.png
 
Последнее редактирование:

kolobrkin

1 ранг
Регистрация
4 Дек 2019
Сообщения
524
Реакции
256
Репутация
30
Я бы ограничился увеличением резистора 8,1ом(в несколько приемов, ом до 20), выравнивая уровень СЧ-ВЧ, а индуктивность вернуть для начала 0,68 мгн и потом изменять(увеличивать), ликвидируя появившийся провал на стыке полос.
 
Последнее редактирование:
Регистрация
11 Окт 2019
Сообщения
1,220
Реакции
1,129
Репутация
65
Страна
Россия
Предупреждений
1
А я бы измериловку перепроверил...Сколько раз было непонятное, то обновление винды прошло и все не так, то файл коррекции "отпал", то "линейность" пропала, и опять все по другому. В конце концов сделал отдельный ноут, только для измерений. и перед измерением брал подписанный динамик с "эталонной АЧХ" и "поверял".
Сейчас попроще, с нормальным капсюлем, постабильнее стало :).
 

Alex TV

1 ранг
Регистрация
28 Мар 2021
Сообщения
3,916
Реакции
1,146
Репутация
79
Имя
Александр Т
В конце концов сделал отдельный ноут, только для измерений. и перед измерением брал подписанный динамик с "эталонной АЧХ" и "поверял".
Все как доктор велел.
Инструмент отдельный, и специальная приблуда для его калибровки. А иначе только цену бананов в зимбабве показывать будет.
 
Регистрация
23 Июл 2019
Сообщения
6,677
Реакции
5,252
Репутация
203
Страна
Украина
Я при съёмке АЧХ - держу микрофон в руке, примерно метр от динамика. При этом - позволяю себе его (микрофон) двигать: 20 см вверх/вниз и ещё 20 см вправо/влево. И, откровенно говоря, ищу при этих движениях такое положение, где нет острых всплесков на АЧХ. Нашёл такое - фиксирую как итог. То есть, как бы - пытаюсь найти наиболее красивый вариант, подсознательно.
А мне что - поставить микрофон на стойку мёртво и снимать? Там не так красиво (хоть и это не особо красиво) может получиться.
Спалились. smile_1
Пока что предлагаю считать, что уровень СЧ достаточный для НЧ полосы. Вроде с СЧ примерно совпало с тем что было в 2019. Хоть на что-то надо опереться.
А я бы измериловку перепроверил...
Сведём две полосы. Потом окажется - надо было на 2дБ выше. Хотя, есть гасилки, ими и вырулим, ОК.
Перезамерил. Благо - все спят уже, не мешают.
Микрофон установил жёстко.
Поздравляю с нормальными стыками, наконец!
Напротив средины между СЧ и ВЧ по высоте и на расстоянии от динамиков на 1 м. Во время всех измерений он оставался строго на одном и том же месте.
Результаты:
Посмотреть вложение 81219
Посмотреть вложение 81220
Стык - протяжённый, но добавка на переходе 2,7 кГц всего 3дБ, не 6дБ. Есть перехлёст полос и перебор ВЧ.
Стык умер, ВЧ пашет на частоте резонанса.
По мотивам Николая (и исходя из наличия деталей) собрал и замерил ещё пару схем. Может это поспособствует вам дать мне совет далее действовать.
Посмотреть вложение 81223
Посмотреть вложение 81224
Правильным путём!
Особо интересный вариант. Хотя стык уехал на 4 с лишним кГц, есть желанные +6дБ на стыке! Спляшем отсюда. Увеличьте ёмкость на 220 нФ или 500 нФ, гасящий дальше увеличиваем, ещё на 4 Ома. Хорошо ввести второй гасящий резистор, перед всем фильтром. Резистор перед фильтром снижает крутизну среза фильтра, резистор перед динамиком - повышает крутизну, будет дополнительный инструмент влияния на АЧХ. Катушка пусть стоИт эта.
Особо радует, что ВЧ избавился от частот, близких к резонансной.
 

Пётр

1 ранг
Регистрация
29 Ноя 2019
Сообщения
1,582
Реакции
938
Репутация
55
Николай, спасибо. Александр Бокарёв - занят наверное своими делами. А Вы - прониклись уже моей ситуацией, хотя бы отчасти (думаю). Выходные на исходе - поэтому попробую рулить под Вашим началом. Хотя - мне не понятно как рулится именно по этому пути. Предложение от kolobrkin мне казалось более понятным.
Особо интересный вариант. Хотя стык уехал на 4 с лишним кГц, есть желанные +6дБ на стыке! Спляшем отсюда. Увеличьте ёмкость на 220 нФ или 500 нФ, гасящий дальше увеличиваем, ещё на 4 Ома. Хорошо ввести второй гасящий резистор, перед всем фильтром. Резистор перед фильтром снижает крутизну среза фильтра, резистор перед динамиком - повышает крутизну, будет дополнительный инструмент влияния на АЧХ. Катушка пусть стоИт эта.
Особо радует, что ВЧ избавился от частот, близких к резонансной.
Конденсатор 1,5 мкФ, резистор перед динамиком ВЧ 12 Ом - верно?
 
Регистрация
23 Июл 2019
Сообщения
6,677
Реакции
5,252
Репутация
203
Страна
Украина
Николай, спасибо. Александр Бокарёв - занят наверное своими делами. А Вы - прониклись уже моей ситуацией, хотя бы отчасти (думаю). Выходные на исходе - поэтому попробую рулить под Вашим началом. Хотя - мне не понятно как рулится именно по этому пути. Предложение от kolobrkin мне казалось более понятным.

Конденсатор 1,5 мкФ, резистор перед динамиком ВЧ 12 Ом - верно?
Судя по предлагаемым Вами номиналам, с элементами не густо... Да, пробуйте.
Такая мысля. Пишка очень туго реагирует на гасящий резистор. Попробуйте вариант с 16 Ом в параллель Пишке.
 

Пётр

1 ранг
Регистрация
29 Ноя 2019
Сообщения
1,582
Реакции
938
Репутация
55
Николай, вот такой результат:
1.jpg

1.png



а с индуктивностью поменьше, получается так:

2.jpg

2.png


Такая мысля. Пишка очень туго реагирует на гасящий резистор. Попробуйте вариант с 16 Ом в параллель Пишке.
А 12 Ом последовательно Пишке при этом остаются?

Не дождавшись ответа, попробовал:
3.jpg

3.png



Далее самовольничал. В катушку индуктивности вставил стальные кусачки:
4.jpg

4.png

если та же схема, но без кусачек:
5.png
 
Последнее редактирование:
Регистрация
23 Июл 2019
Сообщения
6,677
Реакции
5,252
Репутация
203
Страна
Украина
Николай, вот такой результат
Шыкардос.
Попробуйте
ф.png
Смысл происходящего: подтянуть зону 3...4 кГц с обеих сторон. Дальше пробуйте с 2,5 мкФ в ФВЧ.
Вот я провёл средний уровень: Зелёная - суммарная с НЧ полосой (прогноз).
ф3.png
НЧ добавит уровень ниже 1,5 кГц, гарантия. А 3...4 кГц останутся там же. Вы бы таки посмотрели полку НЧ.
И опробуйте такую топологию ФВЧ. Она более спокойная по ФЧХ и импедансу.
ф4.png
 
Последнее редактирование:

Пётр

1 ранг
Регистрация
29 Ноя 2019
Сообщения
1,582
Реакции
938
Репутация
55
Последнее редактирование:
Регистрация
23 Июл 2019
Сообщения
6,677
Реакции
5,252
Репутация
203
Страна
Украина
ОК! СЧ полосе пошло на пользу, ибо акцент на зону нижних СЧ уменьшился или даже исчез, есть полочка 500...2000 Гц . ВЧ полосе и стыку в целом пошло не на пользу изменение топологии: крутизна ската упала, и резонансная частота опять вылезла.
То же самое, перемерил при сглаживании 1/9 октавы (против 1/6 ранее):
Не надо 1/9, лучше уж 1/3!
СЧ пока фиксируем, по -6дБ сверху есть искомые 3,5 кГц.
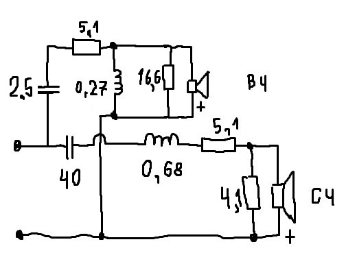
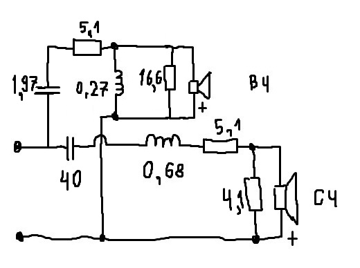
ВЧ снимите со схемой 2 мкФ; 0,27мГн; 14 Ом; 16 Ом.
Не успел... Топология не годится для Пишки: пролезла резонансная частота ВЧ головки.
А по суммарной АЧХ посмотришь и скажешь - почти отлично ))) Средник- то действительно ляля.
Перейдите к сглаживанию 1/3 и добавьте НЧ полосу. Микрофон пусть стоИт, где стоял.
 
Последнее редактирование:

Последние сообщения

Статистика форума

Темы
3,071
Сообщения
234,770
Пользователи
2,375
Новый пользователь
Sergovlad
Сверху Снизу