Постройка басовой секции

Сергей Z

1 ранг
Регистрация
14 Мар 2020
Сообщения
4,887
Реакции
1,088
Репутация
85
Страна
Россия
Регистрация
23 Июл 2019
Сообщения
6,677
Реакции
5,253
Репутация
203
Страна
Украина
6ГД1__1.2,8 мгн-233вит1,12ммнакаркасе40 мм,габарит-20на20 мм,щёки-80 мм.2.0,68 мгн-127вит1,25 ...jpg
АЧХ полос по напряжению
20.png

Импеданс
21.png
Отдача ВЧ-шника вытянута за счет провала импеданса вдвое.
 

Сергей Z

1 ранг
Регистрация
14 Мар 2020
Сообщения
4,887
Реакции
1,088
Репутация
85
Страна
Россия
Я? Интересно, как.
Ессно на месте. А как ещё. И лучше со своим микрофоном.

У Николая красивые картинки, у Петра какие-то движения. Всё тихо и долго.
Может быть в конце концов что-нибудь вымучеется.

Я помню как долго сводил свои шкафоразмерные трехполоски. Вроде и на неплохих динамиках, а получилось совсем не то что хотелось.
Потом бросил это своё чудо, продал динамики, вернул деньги. И в качестве подарка от жены купил приличные АС с правильным тональным балансом. Единственный косяк - сопротивление колонок 4 Ома. Но это не самая большая беда. Всё решится и, думаю, скоро.
Я к тому, что в тупиковой ситуации полезно не лезть в дебри, а обойти их стороной. Просто надо принять решение.
Причём не обязательно резко и сразу, можно ещё помучиться. Однако готовить себя к принятию такого решения надо уже сейчас, потому как ни с Беймами, ни с 6ГД-1РРЗ ничего хорошего в существующей концепции не получится.
Комната для гробов и щитов неподходящая, а другой нет.
 
Последнее редактирование:
Регистрация
12 Ноя 2019
Сообщения
28,303
Реакции
13,621
Репутация
395
Ессно на месте. А как ещё. И лучше со своим микрофоном.

У Николая красивые картинки, у Петра какие-то движения. Всё тихо и долго.
Может быть в конце концов что-нибудь вымучеется.

Я помню как долго сводил свои шкафоразмерные трехполоски. Вроде и на неплохих динамиках, а получилось совсем не то что хотелось.
Потом бросил это своё чудо, продал динамики, вернул деньги. И в качестве подарка от жены купил приличные АС с правильным тональным балансом. Единственный косяк - сопротивление колонок 4 Ома. Но это не самая большая беда. Всё решится и, думаю, скоро.
Я к тому, что в тупиковой ситуации полезно не лезть в дебри, а обойти их стороной. Просто надо принять решение.
Причём не обязательно резко и сразу, можно ещё помучиться. Однако готовить себя к принятию такого решения надо уже сейчас, потому как ни с Беймами, ни с 6ГД-1РРЗ ничего хорошего в существующей концепции не получится.
Комната для гробов и щитов неподходящая, а другой нет.
Новости спорта. Группа опытных альпинистов обошла гору Эверест.
 

Alex TV

1 ранг
Регистрация
28 Мар 2021
Сообщения
3,916
Реакции
1,146
Репутация
79
Имя
Александр Т

Alex TV

1 ранг
Регистрация
28 Мар 2021
Сообщения
3,916
Реакции
1,146
Репутация
79
Имя
Александр Т
Не знаю как насчёт звука, а визуально кошмар
 
Регистрация
12 Ноя 2019
Сообщения
28,303
Реакции
13,621
Репутация
395
По обеим сторонам дивана и разместить щиты. Хаенд-наушники , они же компакт-параболики. Комната курит в бессильной злобе.
 
Регистрация
12 Ноя 2019
Сообщения
28,303
Реакции
13,621
Репутация
395
Любой выход из углов приветствуется. Потом щиты можно будет преобразовать во что-то менее уродское.


Имеется ввиду спереди и сзади? Или сверху и снизу?
а у тебя пара ушей как расположена на голове, напомни, а то я забыл.
 

Пётр

1 ранг
Регистрация
29 Ноя 2019
Сообщения
1,582
Реакции
938
Репутация
55
2.jpg

1.jpg

1.png

микрофон - 1 м по оси между динами...

3.png

зелёным - басовик напрямую
красным - всё то же, но с фильтром из этого сообщения
Пётр! Мы не видели АЧХ 5ГД-1 без фильтра!
4.png

5ГД-1 без фильтра
синим - ближнее поле, свип сигнал
красным - 1 м по оси, розовый шум
 
Последнее редактирование:
Регистрация
23 Июл 2019
Сообщения
6,677
Реакции
5,253
Репутация
203
Страна
Украина
Бардак, конечно, но - прикольный! Дело в том, что Пишка обогнала партнёра на период или больше. На частоте нынешнего раздела 6 кГц 6см = 360 градусов, а она торчит далеко впереди. Но в целом - я думал, будет гораздо хуже. Вы выбрали номиналы режектора на 350 Гц, а у Вас дин немного другой, с пиком на 300. Попробуйте 100 мкФ заместо 60, и резистор 10 Ом пошевелить на +/-2 Ома. На 4 кГц вылез шиш, завтра прикину, куда его деть. Стыка как такового нет, но пока не поставите Пишку заподлицо с панелью, нет смысла его сводить. Главный вопрос: что слышно? Где стоИт щит и где точка слушания?
 
Регистрация
12 Ноя 2019
Сообщения
28,303
Реакции
13,621
Репутация
395
Посмотреть вложение 83993
Посмотреть вложение 83992
Посмотреть вложение 83994
микрофон - 1 м по оси между динами...

Посмотреть вложение 83998
зелёным - басовик напрямую
красным - всё то же, но с фильтром из этого сообщения

Посмотреть вложение 84004
5ГД-1 без фильтра
синим - ближнее поле, свип сигнал
красным - 1 м по оси, розовый шум
Будешь мне не верить, но все более чем достойно, я ждал худшего. Сшивка СЧ-ВЧ нормальная, ачх ширика с фильтром ровная, да тьфу!
 

Пётр

1 ранг
Регистрация
29 Ноя 2019
Сообщения
1,582
Реакции
938
Репутация
55
Главный вопрос: что слышно? Где стоИт щит и где точка слушания?
Щит стоит на старом месте (опёрт на ЗЯ в углу) - то есть можно считать, что центр динамика - у короткой стены, на 1 м отодвинут от длинной стены. Слушал - сразу за микрофоном - это примерно 1,5 м по оси от динамиков. Слышно: какой-то несуразный бардак, похоже в зоне стыка - вплоть до полного пропадания некоторых звуков. А ещё слышно - драйв с баса ушёл. Я уже начинаю подозревать - что только в тандеме с 5ГД-1 - я слышу что-то нравящееся. Понять и объяснить - не могу. Возможно, заблуждаюсь...
В общем - звучание более спокойное, более мягкое. Чем я привык.
 
Регистрация
12 Ноя 2019
Сообщения
28,303
Реакции
13,621
Репутация
395
Щит стоит на старом месте (опёрт на ЗЯ в углу) - то есть можно считать, что центр динамика - у короткой стены, на 1 м отодвинут от длинной стены. Слушал - сразу за микрофоном - это примерно 1,5 м по оси от динамиков. Слышно: какой-то несуразный бардак, похоже в зоне стыка - вплоть до полного пропадания некоторых звуков. А ещё слышно - драйв с баса ушёл. Я уже начинаю подозревать - что только в тандеме с 5ГД-1 - я слышу что-то нравящееся. Понять и объяснить - не могу. Возможно, заблуждаюсь...
У тебя бардак за колонкой, отраженка лютая. Её надо гасить матрасом позади а еще оттаскивать колонку от стены. То, что сейчас со звуком- - ж... с большой буквы Ж. Но - в лучшем смысле этого слова, АЧХ свидетель.
И вдогонку.
У тебя фильтр вч настроен шибко высоко, на этой частоте конусы излучения обоих динамиков , точнее.ширика, схлопываются. И в стороне от оси верха исчезнут. Оттащи микрофон на 60 градусов в сторону. сам увидишь.
 
Регистрация
12 Ноя 2019
Сообщения
28,303
Реакции
13,621
Репутация
395
и ЕЩЕ , СМОТРИ. У тебя область 1, 5-4 кгц торчит выше среднего уровня, нужно катушку увеличить , которая валит верхний край ширика. излишек средины присядет, баланс восстановится, вопли уйдут.
 
Регистрация
23 Июл 2019
Сообщения
6,677
Реакции
5,253
Репутация
203
Страна
Украина
Посмотреть вложение 83998зелёным - басовик напрямую
красным - всё то же, но с фильтром из этого сообщения
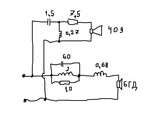
100 мкФ и 7 Ом в режектор.
Посмотреть вложение 84004
5ГД-1 без фильтра
синим - ближнее поле, свип сигнал
красным - 1 м по оси, розовый шум
У него 65 Гц резонанс? А сзади его щитка - сколько см до стены, и сколько там ЗПМ? НУль? А почему??
Будешь мне не верить, но все более чем достойно, я ждал худшего. Сшивка СЧ-ВЧ нормальная, ачх ширика с фильтром ровная, да тьфу!
И тут же:
У тебя бардак за колонкой, отраженка лютая. Её надо гасить матрасом позади а еще оттаскивать колонку от стены. То, что сейчас со звуком- - ж... с большой буквы Ж. Но - в лучшем смысле этого слова, АЧХ свидетель.
Вас понять может только медик-радиолюбитель, и только - после кружки Эсмарха с шампанским.
У тебя фильтр вч настроен шибко высоко, на этой частоте конусы излучения обоих динамиков , точнее. ширика, схлопываются. И в стороне от оси верха исчезнут. Оттащи микрофон на 60 градусов в сторону. сам увидишь.
Вот так понятнее! Отдать 4 кГц Пишке.
Слышно: какой-то несуразный бардак, похоже в зоне стыка - вплоть до полного пропадания некоторых звуков. А ещё слышно - драйв с баса ушёл.
В первое верю - Пишка стоИт не на месте, во второе - нет. Ибо бас - тот же, другие СЧ. А драйв задаётся ними.
Я уже начинаю подозревать - что только в тандеме с 5ГД-1 - я слышу что-то нравящееся. Понять и объяснить - не могу. Возможно, заблуждаюсь...
Возможно. Я думаю, дыра 400...700 даёт о себе знать. А 5ГД удачно её заполняет.
В общем - звучание более спокойное, более мягкое. Чем я привык.
У тебя область 1, 5-4 кгц торчит выше среднего уровня, нужно катушку увеличить , которая валит верхний край ширика. излишек средины присядет, баланс восстановится, вопли уйдут.
Вы договоритесь как-то...
 
Последнее редактирование:
Регистрация
12 Ноя 2019
Сообщения
28,303
Реакции
13,621
Репутация
395
100 мкФ и 7 Ом в режектор.

У него 65 Гц резонанс? А сзади его щитка - сколько см до стены, и сколько там ЗПМ? НУль? А почему??

И тут же:

Вас понять может только медик-радиолюбитель, и только - после кружки Эсмарха с шампанским.

Вот так понятнее! Отдать 4 кГц Пишке.

В первое верю, во второе - нет. Ибо бас - тот же, другие СЧ.

Возможно. Я думаю, дыра 400...700 даёт о себе знать. А 5ГД удачно её заполняет.


Вы договоритесь как-то...
Гну свою линию. Не бывает домашки с мониторной ачх. Ухи отвалятся.
 
Регистрация
23 Июл 2019
Сообщения
6,677
Реакции
5,253
Репутация
203
Страна
Украина
Регистрация
12 Ноя 2019
Сообщения
28,303
Реакции
13,621
Репутация
395
в общем, нужно дождаться, когда дядя Пётр наиграется в акустика и устанет. идеи кончатся. Вот тогда нужно к нему заехать и между чаем настроить как надо. Думаю. на пару лет этого хватит, до появления новых идей))))
 
Регистрация
23 Июл 2019
Сообщения
6,677
Реакции
5,253
Репутация
203
Страна
Украина
в общем, нужно дождаться, когда дядя Пётр наиграется в акустика и устанет. идеи кончатся. Вот тогда нужно к нему заехать и между чаем настроить как надо. Думаю. на пару лет этого хватит, до появления новых идей))))
Новая идея. Раз в большом щите есть вставка меньшего, который коричневого цвета, то в это вставку врезать 5ГД рядом, не важно, что справа, а Пишку уцепить по-человечески над 5ГД, типа
2.jpg , и щит немного наклонить от себя.
С 1,5...2 метра сойдутся, схема трёхполоски. Послушать. Насчёт матрасика сзади - сильно ЗА, особенно сзади 5ГД, показавшего большую добротность при измерении - 1,5 единицы.
*****
Тут вот uriy написал(а):
В общем, насколько я понимаю проблематику звуковоспроизведения в бытовых условиях, то рассуждать о получении идеальной АС без учёта акустического окружения АС, это утопическое занятие по простой причине - АС работает вместе с комнатой, это единый инструмент и производя разработку АС в отрыве от свойств комнаты, мы очень сильно усложняем себе жизнь.
Пётр, это - для Вас. Подумайте.
 
Последнее редактирование:

Пётр

1 ранг
Регистрация
29 Ноя 2019
Сообщения
1,582
Реакции
938
Репутация
55
А что тут думать. Я уже и сам услышал. Как один и тот же ящик в разных местах комнаты звучит и что при этом микрофон фиксирует. Что касается ЗЯ в наличии - меня больше устроит он в углу с гулом, но зато с басищем. Чем в центре, в качестве "детского сада". Но, конечно, пока что - лучший эффект показал щит, при приближении к углу.
 

Сергей Z

1 ранг
Регистрация
14 Мар 2020
Сообщения
4,887
Реакции
1,088
Репутация
85
Страна
Россия
Замечательно. Нормальный ответ живого человека. Линейная АЧХ не нужна, нужен подъем на НЧ и, как следствие, на ВЧ. Типа стандартный регулятор тембра.
Цель - сделать так, но без явных горбов.
Понято верно?

Мелкие полочники благополучно отвалились.
 
Последнее редактирование:

Пётр

1 ранг
Регистрация
29 Ноя 2019
Сообщения
1,582
Реакции
938
Репутация
55
Замечательно. Нормальный ответ живого человека. Линейная АЧХ не нужна, нужен подъем на НЧ и, как следствие, на ВЧ. Типа стандартный регулятор тембра.
Цель - сделать так, но без явных горбов.
Понято верно?
Мне кажется - да.
Сегодня с утра ещё послушал, то что вчера слепил. Создалось ощущение "малобаса". По ВЧ - достаточно. Видимо - рупорок PHT-409 на расстоянии пробивает сильнее, чем то что излучает 6ГД-1.
Непонятно другое - почему 6ГД-1 вкупе с 5ГД-1 - создаёт такой грандиозный звук и бас. А как только 6ГД-1 (казалось бы - тот же басовик) но без 5ГД-1 - то создаётся звук "полочник". Либо это - из-за АЧХ, похожей "в линию".
 
Регистрация
12 Ноя 2019
Сообщения
28,303
Реакции
13,621
Репутация
395
Мне кажется - да.
Сегодня с утра ещё послушал, то что вчера слепил. Создалось ощущение "малобаса". По ВЧ - достаточно. Видимо - рупорок PHT-409 на расстоянии пробивает сильнее, чем то что излучает 6ГД-1.
Непонятно другое - почему 6ГД-1 вкупе с 5ГД-1 - создаёт такой грандиозный звук и бас. А как только 6ГД-1 (казалось бы - тот же басовик) но без 5ГД-1 - то создаётся звук "полочник". Либо это - из-за АЧХ, похожей "в линию".
Найдешь перекос баланса в сторону средины- найдешь потерянный малабаса.
 

Rezvoy

1 ранг
Регистрация
19 Окт 2020
Сообщения
2,427
Реакции
794
Репутация
58
Возраст
68
Страна
Россия
Имя
Александр
Непонятно другое - почему 6ГД-1 вкупе с 5ГД-1 - создаёт такой грандиозный звук и бас. А как только 6ГД-1 (казалось бы - тот же басовик) но без 5ГД-1 - то создаётся звук "полочник".
Сто герц завсегда звучнее сорока!
 
Регистрация
12 Ноя 2019
Сообщения
28,303
Реакции
13,621
Репутация
395
Сто герц завсегда звучнее сорока!
Ага! Этот, как его.....Панч! Вот. Энергичная музыка, так сказать. 40 герц отзываются в пузе, а панчевая сотка звучит в голове, эффект сильнее выражен.
 
Регистрация
23 Июл 2019
Сообщения
6,677
Реакции
5,253
Репутация
203
Страна
Украина
Мысля человека относительно полос, при больших лопухах на НЧ #302
Непонятно другое - почему 6ГД-1 вкупе с 5ГД-1 - создаёт такой грандиозный звук и бас. А как только 6ГД-1 (казалось бы - тот же басовик) но без 5ГД-1 - то создаётся звук "полочник". Либо это - из-за АЧХ, похожей "в линию".
У Вашего 6ГД - дыра на 500 Гц, а у 5ГД там пик, прекрасно дополняют друг друга. У условно "нормального" 6ГД дыры 500 Гц нет. КМК, проблема не в басе, а в том, что диффузор 6ГД изменил параметры от времени и условий хранения, и его СЧ не поддерживают его же бас.
Что касается ЗЯ в наличии - меня больше устроит он в углу с гулом, но зато с басищем. Чем в центре, в качестве "детского сада".
По центру ни ЗЯ, ни щит не будут стоять. почему не попробовали ЗЯ, смещённый вперёд на 80 см? Там его не будет по семейным обстоятельствам?
Но, конечно, пока что - лучший эффект показал щит, при приближении к углу.
Поймите правильно. Все оформления при влезании в угол сильне возбуждают стоячие волны. Все оформления при приближении к слушателю дают лучше отношение прямая волна/комнатные отражения. Даже на 80 см ближе - уже лучше.
 
Последнее редактирование:

Пётр

1 ранг
Регистрация
29 Ноя 2019
Сообщения
1,582
Реакции
938
Репутация
55
почему не попробовали ЗЯ, смещённый вперёд на 80 см? Там его не будет по семейным обстоятельствам?
Я думаю - Вы представляете. У меня сейчас - всё раскурочено, раскидано, навалено. И собрать чтобы хотя бы послушать - это кучу времени тратить.
Вчера уже - остановились (да, нифига не остановились...) на том, чтобы пищалку - в одну плоскость с фланцем 6ГД-1 загнать... режектор немного изменить... частоту пищалки (раздел) снизить... потом - вариант был высказан - в этот коричневый щиток ещё и 5ГД-1 залепить... и вот теперь уже оказывается - надо басовые ящики с СЧ/ВЧ секциями пододвинуть на 80 см и послушать... А там - ещё на горизонте опен-бафл с коррекцией от ИМС. Понимаете - это невозможно так вот - всё и сразу.
Потому и не попробовал - уже раскурочено было.
Тут, чтобы не утонуть - приходится кое-как, наскоком, вывернуто - услышать, сделать какой-то вывод (весьма прикидочный) и переходить к следующему.
У меня же - тоже выдержки надолго не хватит. А время идёт. Закончится мой "музыкальный" сезон. Начнётся строительный. Надо чтобы хоть какой-то итог к тому моменту сформировался. ЗЯ свои - я слушал долго. У них особый бас. Я понимаю - что смогу получить (выдвинув на 80 см) - нечто среднее, между заведённой комнатой в углу - и отсутствием НЧ при расположении ящика в центре. Да - можно остановиться на таком варианте, как итог - но это ближе к итогу. А пока - столько интересного... и к тому же - не сегодня, завтра - возвращать надо будет 6ГД-1. А меня зацепило там что-то (не знаю что - но к данному моменту кажется, что связка 5ГД-1 и 6ГД-1).
 

Статистика форума

Темы
3,074
Сообщения
235,078
Пользователи
2,376
Новый пользователь
Sergovlad
Сверху Снизу