Двухтакт с КО и УЛ на 6П14П

  • Автор темы Автор темы Aleph
  • Дата начала Дата начала
6Ж51П в триоде. питание 400-450, в аноде кил 20 по памяти, нужно лезть искать ВАХи. Усиление под 80, самое то.
Многофункциональная лампа. Малошумящая, с умеренным микрофоном, высокой крутизной и магнитным экраном на аноде. Импортный аналог EF184. Есть у неё сестра EF183. Практически то же самое, только сетка варимю. Это наша 6К13П. Внешне не отличить от 6Ж51П. Пробовал обе на входе винил-корректора. У второй усиление чуть меньше и вторая гармоника больше, что иногда может быть полезно для компенсации второй гармоники выходной лампы.
 
Набор ламп что имею 6н1п,6н2п,6н23п,6ф1п,6ж1п,вот и все .
 
6н1п, 6н23п пробуй с них.
Остановился на 6н23п ЕВ Дмитрий с Питера посоветовал, сложилось замечательно, но у меня база комплектующих с отбором по номиналу вся японамама.
Конденсаторы от вспышек топовых Canon, Nikon в БП как и в плате уся ваще вещь!
 
с 6п1п кабы тоже гуд.
 
Многофункциональная лампа. Малошумящая, с умеренным микрофоном, высокой крутизной и магнитным экраном на аноде. Импортный аналог EF184. Есть у неё сестра EF183. Практически то же самое, только сетка варимю. Это наша 6К13П. Внешне не отличить от 6Ж51П. Пробовал обе на входе винил-корректора. У второй усиление чуть меньше и вторая гармоника больше, что иногда может быть полезно для компенсации второй гармоники выходной лампы.
С меньшим усилением, примерно 35, такой же цоколевкой, импортные EF80 EF800 EF860 , шикарные по звуку, 860-е можно на входе корректора ставить,Юрий Робертович советовал.
 

Александр

Ну как гуру в этом что использовать для раскачки выходных ламп.
 
Ну то что написал то пока есть,там еще выходники надо мотать,ну на питание есть пару тс-180,и тса-270,тс270.ну пару танов.
Я так понимаю, вы ТВЗ будете мотать? А может сразу заложите возможность не только КО 10-15%, а как у МакИнтошах в катоде половину первички?
Я для мелких 6п14п поленился. Это же нужен драйвер с крутым усилением. Получается драйвер чуть ли не круче самой 6п14п. А вот для мощных ламп я бы попробовал. Делов то, чуть иначе расположить секции первички.

(Да, я знаю что в МакИнтошах мотают в 2 провода, но это совсем не обязательное требование, а их фишка.)
 
А драйвер и должен быть "круче" выхлопа. Во всех смыслах и по полосе и по искажениям.
 
А драйвер и должен быть "круче" выхлопа. Во всех смыслах и по полосе и по искажениям.
6Н3П на вход, отличная ламп, хоть ее многие незаслуженно ругают
 
6ж38п,6ж9п в триоде
 
Ну вот сейчас чисто 6п14п при питании 260вольт и выходной от теле ,первичка 3000витков вторичка 91виток динамик 10гд36 раскачиваю магнитофон комета-225 через наушники звук так и прет ватта так 3есть.
 
домотай вторичку,Кт=32 много для 6п14п,надо 25 для 8ом,у тебя для 5ом сейчас
 
Так динамики у меня 4ома,это заводская намотка.

Это проверка для использования как драйвер для гу-50,сейчас так на музыке проверил переменка около 70вольт на аноде.

я так понял это петодом.
 

Вложения

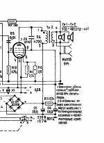
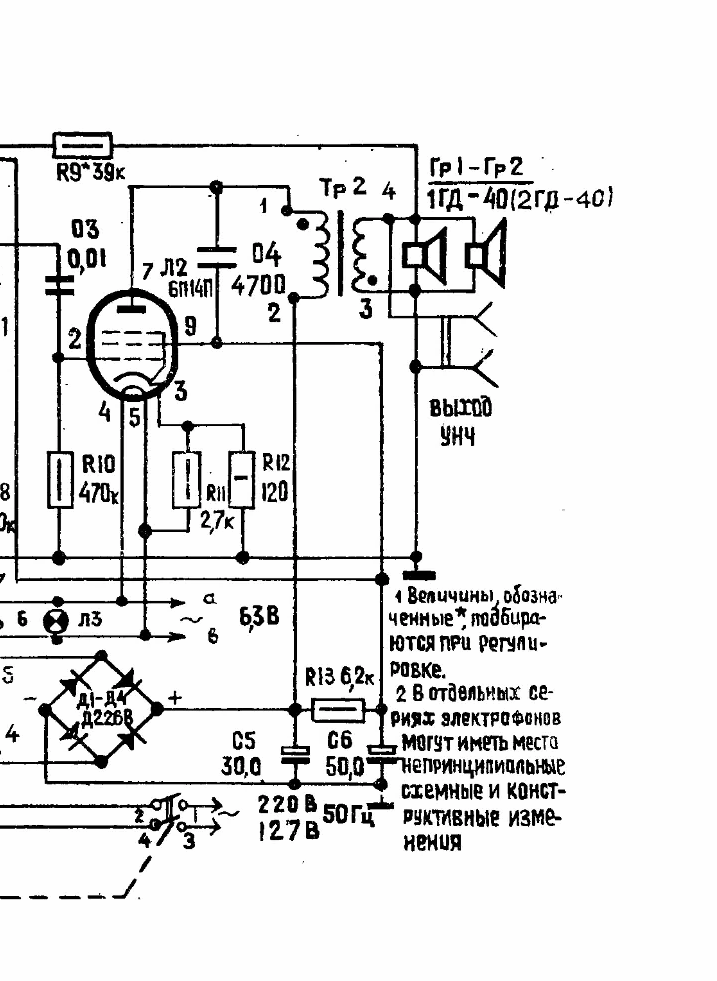
  • Юность-301-1.png
    Юность-301-1.png
    159.2 KB · Просмотры: 0
если есть хотя бы 450в то лучше 6н1п 6н8с нет
 
6Н3П ее ставили в укв в радиолах,и цеколевка все наоборот.

Ну вот дело дошло до проверки выходников что в своих закромах нашел.
 
6н3п я слушал довольно долго. Почитал мнения что не надо её бояться, звук у неё нормальный. Ну и ВАХи видно что ровные, красивее чем у 6н1п. Я не могу сказать что она плохо звучит в дифкаскаде у меня, но после, через годик меня уговорили тут попробовать 6н1п. Сильно лень было, но перепаял, разумеется с новой обвязкой.
Всё же 6н1п чуть душевнее звучит. 6н3п излишне нейтральная, прям скучная.
 
6Н3П на вход, отличная ламп, хоть ее многие незаслуженно ругают
Стояли в ламповых магнитофонах "Тембр" кстати, а со звуком, как известно, у них проблем не было.
 
Можете описать её преимущества в чём она хороша?
Так же ку 30 как и у 6н1п, 6н23п.
Очень хорошая идентичность триодов в баллоне, ровные вах, в балансных схемах идеальны, да и при заменах, по циферкам касательно THD и IMD очень недурной оказалась, я предпочитаю 6Н3П Фотон и 6Н3П-И (только не от Истока), да и есть у данной лампы старшая сестра с одинаковой цоколевкой в ней я нашел свой звук (среди пальчиковых ламп) ….
 
Ну вот 4 твз есть можно и однотакт собрать.

Даже попробовал транс ТАН-104-50-220 соединил все его обмотки но сопротивление мало всего 120ом ,я так понял для лампы 6п14п нужно 400ом по мультиметру самое оптимальное.
 
Очень хорошая идентичность триодов в баллоне, ровные вах, в балансных схемах идеальны, да и при заменах, по циферкам касательно THD и IMD очень недурной оказалась, я предпочитаю 6Н3П Фотон и 6Н3П-И (только не от Истока),
Распространенная, дешевая. Такие лампы всегда ругают.
Есть у нее и долговечные варианты.
да и есть у данной лампы старшая сестра с одинаковой цоколевкой в ней я нашел свой звук (среди пальчиковых ламп) ….
6Н14П? только єто младшая сестра. Еще моложе, того же надначения, 6Н23П

Недавно приобрел почти даром 6С1П. Ее как то не ругают. По возрасту она может быть чуть старше 6Н3П.
 
я так понял для лампы 6п14п нужно 400ом по мультиметру самое оптимальное.
важна индуктивность,а омическое чем меньше тем лучше,но для пентода ТАН шлак тк нужна малая емкость
 
Так твз-1-9,заводской и его сопротивление показало 410ом,2800витков первички и 91виток вторички.
 
А подскажите пожалуйста низкоомные пальчиковые лампы кроме 6с19п? Есть что-то меньше килоома внутреннего?
 
Так твз-1-9,заводской и его сопротивление показало 410ом,2800витков первички и 91виток вторички.
так твз1-9 можно сдвоить только Ш пластины. под 6п14п пойдет. но не очень)
 

Статистика форума

Темы
3,196
Сообщения
248,065
Пользователи
2,455
Новый пользователь
Станислав В..
Назад
Сверху Снизу