Германиевые УНЧ

переделал оос теперь кондером меньше
и обмотку шунтанем от резонансов паразитных
 
Последнее редактирование:
а вы не меряли частоту при таком управлении как в моей последней схеме?там по входу германцы с ОЭ,а выход один ОЭ второй ОК,думаю если 20кгц есть то норм под оос ведь все
зато транс не нужен с конской индуктивностью как ОК
надо народный усь с трансом,пермаллой не у каждого есть
фольксваген жук эдакий)))))
Транс межкаскадник в унч Кёртинг имеет индуктивность первички в 1 генри. Вторички -куриные 015 гн, а то и меньше. не помню.
 
переделал оос теперь кондером меньше
Взял диод Д2е, дал ему ток в 10 мА от питания. Через резистор подал сигнал с генератора. На диоде сидит идеальный меандр и синус от входного сигнала. (Синус подрезан вверху, открытым диодом) .До единиц герц -идеально ровный меандр. Емкость начиная от 22 мк и выше. до 2200мкф сажая уровень самого меандра под плинтус, превращает его в пилу , с заваленными фронтом и спадом, не оставляя намека на былую красоту. Отсюда мораль. Шунтировать диод во всей полосе учитывая его низкое внутреннее, метод затратный .
 
Транс межкаскадник в унч Кёртинг имеет индуктивность первички в 1 генри. Вторички -куриные 015 гн, а то и меньше. не помню.
да транс я в курсе,мне интересна полоса транзюков тк они по входу оэ включены
тут помоему пофиг шунтировать нет тк обмотка в базе с большим по переменке сопр
так что упрощаем?
 
да транс я в курсе,мне интересна полоса транзюков тк они по входу оэ включены
тут помоему пофиг шунтировать нет тк обмотка в базе с большим по переменке сопр
так что упрощаем?
Что неожиданно, симметрия , полоса, выходное такого трансформаторника даже без ООС просто идеальные, хотя включение транзисторов по этажам разное .
 
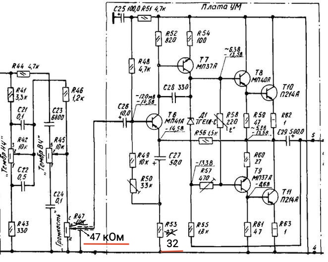
Вернёмся к астре 207 почти в стоке только идёт делитель 33 ком на входе (где-то между двумя ногами потенциометра громкости не уверен, что правильно нарисовал) потенциометр громкости заменил на 33 ком и плюс, и чувствительность R53 уменьшил с 27 до 32 ом

После этого искажения по входу вообще пропали.
И вот астра 2 гд 3- 8 ом включенные последовательно в 16ом
Выход заявлентноминал 2 Вт а на внешнюю акустическую систему 8 ом максимальный 10 Вт
Четырёх ват номинала на 8 ом я без преама не наблюдаю - наблюдаю не больше одного ватта.
IMG_20240430_094556.jpg
С преампом в качестве пульта
что-то там рядом с четырьмя ватами есть
Пришёл фирменный импульсник выставил 27 вольт, питание чистое без шумов, сегодня припаяю розетку, подключусь и нормально послушаю.
Но итак знаю что тихо, будет - на пределе громкости для заведения.
Комбик vox с его 5 Вт рмс на тда орет гораздо громче, не будем обсуждать на какой частоте но что-то 5 Вт у астры 207 мне пока что никак не 5 Вт


IMG_20240430_085333.jpgIMG_20240430_085308.jpgIMG_20240430_084843.jpg
 

Вложения

  • IMG_20240430_093126.jpg
    IMG_20240430_093126.jpg
    96.2 KB · Просмотры: 195
Последнее редактирование:
Вернёмся к астре 207 в стоке настроенная 2 гд 3- 8 ом включенные последовательно в 16ом
Выход номинал 2 Вт а на внешнюю акустическую систему 8 ом максимальный 10 Вт
Четырёх ват номинала я без преама не наблюдаю - наблюдаю не больше одного ватта.
Посмотреть вложение 95527
С преампом в качестве пульта
что-то там рядом с четырьмя ватами есть
Пришёл фирменный импульсник выставил 27 вольт, питание чистое без шумов, сегодня припаяю розетку, подключусь и нормально послушаю.
Но итак знаю что тихо, будет - на пределе громкости для заведения.
Комбик vox с его 5 Вт рмс на тда орет гораздо громче, не будем обсуждать на какой частоте но что-то 5 Вт у астры 207 мне пока что никак не 5 Вт


Посмотреть вложение 95520Посмотреть вложение 95521Посмотреть вложение 95522
Схема Астмы-207 какое-то издевательство. Резистор R48 вверху в цепи смещения входного транзистора своими 4 килоомами обрушит все входное сопротивление до пары килоом, закоротив и регулятор уровня и тембры . Какой баран это придумал...
 
на 16ом при питании 27в максимум это 5,5вт дальше ограничение
для 16 ом нужно 37в питание и снижать глубину оос чтобы поднять Ку или преампом добавлять входное напряжение
не нужно его трогать,нужно увеличивать R50 и выставлять смещение на выходе но для 16ом надо 37в теоретически даже на практике может и чуть меньше
 
на 16ом при питании 27в максимум это 5,5вт дальше ограничение
для 16 ом нужно 37в питание и снижать глубину оос чтобы поднять Ку или преампом добавлять входное напряжение
Считаем-с. Треть питания это чистый синус . 9 в на 16 Ом , 81 на 16 = 5 ватт, дальше грязь-с. И то, при условии стабильного питания. С просто выпрямителем верхушки пляшут с частотой 100герц, проваливаясь на величину пульсаций.
 
на 16ом при питании 27в максимум это 5,5вт дальше ограничение
для 16 ом нужно 37в питание и снижать глубину оос чтобы поднять Ку или преампом добавлять входное напряжение
не нужно его трогать,нужно увеличивать R50 и выставлять смещение на выходе но для 16ом надо 37в теоретически даже на практике может и чуть меньше
Я же выше дал инструкцию от астры 16 ом - это на внутренние динамики а мы подпаялись туда где заглушка -выход на внешние динамики, на выходе динамик8 ом, правда провода тонюсенькие по полметра если заменить на медь 1 мм я не думаю что она 1 ДБ вырастет громкость
 
Ну я говорю надежда на то что у астры её заявленые 10 Вт максималка что там будет 5 Вт чистого синуса такого нету я конечно резисторы не ставил ничего не ставил не замерял.
Про ток покоя Я не запомнил, когда товарищ проверял
 
Ну я говорю надежда на то что у астры её заявленые 10 Вт максималка что там будет 5 Вт чистого синуса такого нету я конечно резисторы не ставил ничего не ставил не замерял.
Про ток покоя Я не запомнил, когда товарищ проверял
9 вольт выходных с питанием 27 это 10 ватт на 8 Ом, так и будет.
Но. Под новую увеличенную нагрузку нужны радиаторы побольше.
 
надо поднимать питание,но только потом 8ом лучше не включать
и транзисторы входные замените на 3102 и 3107 как я писал выше
 
9 вольт выходных с питанием 27 это 10 ватт на 8 Ом, так и будет.
Но. Под новую увеличенную нагрузку нужны радиаторы побольше.
ВК не грелся Я вот подумал о том, что я слушал минусовки с гитарным динамиком, а если к нему через 1 микрофарад пристыковать восьмиомную пищалку....?
У меня пищалки только 2 дюйма от какого-то телевизора
1714457262047221131207223196526.jpg
либо тесловские уже огромные arv 161 и они 4 омные
 
Резистор R48 вверху в цепи смещения входного транзистора
его по уму можно заменить на цепь оос на выход и через динамик на землю и поднять R50 для сохранения режима я нарисую чуть позже сейчас некогда
И что с этим делать?
Переделывать всю схему только?
его не трогайте все будет работать пока,вам либо питание поднимать либо нагрузку 8ом цеплять
 
его не трогайте все будет работать пока,вам либо питание поднимать либо нагрузку 8ом цеплять
Питание импульсник позволяет поднять до 32 вольт
При этом надо кондёры все менять на 50 в, те, что на 35вольт
Нагрузка у меня итак восемь ом
 
Последнее редактирование:
но мп 37 30ти вольтовые туда надо или 3102 или гт402гт404Г,в,ж,и
кондеры
35 вольтовые выдержат и 40в но лучше 35 поставить,выдержат
от 32в получите 7вт на 16ом
 
его по уму можно заменить на цепь оос на выход и через динамик на землю и поднять R50 для сохранения режима я нарисую чуть позже сейчас некогда

его не трогайте все будет работать пока,вам либо питание поднимать либо нагрузку 8ом цеплять
Выкинуть входного паршивца МП40 , заменив на 3107 или перетыком на КТ208- 209 , все номиналы смещения увеличить в 5-10 раз. Емкости уменьшить.
 
УНЧ astra - это типичный унч магнитофона семидесятых восьмидесятых годов.
Под динамики 90-92 ДБ а я пытаюсь из него сделать что-то для чего он не предназначен.
Кт-3102 у меня нет и перелопачивать всю схему не получится.
Либо ставить в пару унч лён
Втыкать гитару в лён
А минусовку в астру, делать колонку 2 по 8"
Плюс пищалка
Тогда надо понижайку с 27 до 19 Вольт
На китайский преамп и на питание астры.
Или как вариант покупать два одинаковых импульсника опять же фирмовых mainвеловских и делать двухполярку на кинаповский усилок
Он даёт чистых 12 в номинала работает вообще без напряга
 
и главное с27 увеличить до 470мкф а R53 снизить до22ом
 
но мп 37 30ти вольтовые туда надо или 3102 или гт402гт404Г,в,ж,и
кондеры
35 вольтовые выдержат и 40в но лучше 35 поставить,выдержат
от 32в получите 7вт на 16ом
Увы дома нет этих букв, есть 3 шт гт 402б
И по 1 шт от 402 а и в с такого количества по усилению вряд ли что выберешь или они по вольтажу не проходят?
 
В Свердловске, потом Е-бурге есть профи-МУЗЫКАНТ, познакомился случайно в военном универмаге, покупал Корвет-стерео с АС, а я первый кто увидел это чудо, 1980г, и до сих пор дружим, и Корвет с АС.
 
Из pnp есть мп21а и е у буквы а пробивное 35 вольт
 
пнп да а нпн нету но 32в и 37й выдержит

R48 сделать 10к,только потом полпитания выставить на выходе
 

Вложения

  • астра.jpg
    астра.jpg
    109.2 KB · Просмотры: 128
Просто в стоке снижение r-53 давало перегруз по входу
при 35в питании и 16 ом не будет давать перегруз,главное полпитания на выходе выставить
Военная приёмка ромбик
пойдет но надо поставить еще один мп 37 тогда внизу вот так

мп21а и мп20а это самые лучшие мпшки и по частоте и по току и напряжению и с малым насыщением
но у него бэтта большая,поэтому надо внизу два мп37 дарлингтоном и квази этим улучшится как от баксандалла
вместо 37 в уне пока можете кт602б поставить если 3102 нет
но лучше купить 3107 3102 или импорт 2n5401 и 2n5501 или вс54хb bc55[b или 2sc1815 2sa1015 они дешевые
 

Вложения

  • Астра-207_мод.jpg
    Астра-207_мод.jpg
    281.4 KB · Просмотры: 117
мп21а и мп20а это самые лучшие мпшки и по частоте и по току и напряжению и с малым насыщением
но у него бэтта большая,поэтому надо внизу два мп37 дарлингтоном и квази этим улучшится как от баксандалла
Нашёл в запасах гт403 Г(1 шт),Д( 4 шт),ж( 2шт),и(1шт) - но короткие - срезка ,404 г несколько штук выбирать наверное будет сложно

пнп да а нпн нету но 32в и 37й выдержит
Гт404г нашёл только одну штуку
Есть одна штука кт-3102д февраль восемьдесят пятого года
 

Статистика форума

Темы
3,305
Сообщения
263,193
Пользователи
2,544
Новый пользователь
vlad'mir
Назад
Сверху Снизу