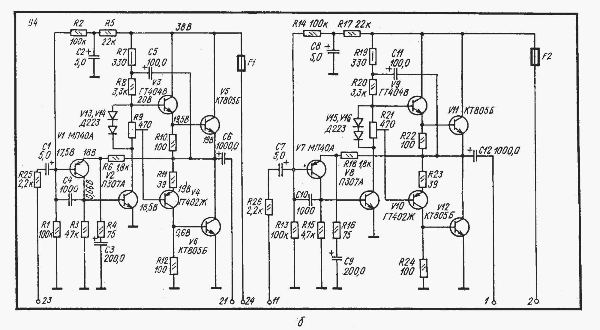
Германиевые УНЧ

да нормально миллер с А классом и германием тк ступеньки нет практически,а самый кривой это УН так его миллер и выравнивает за счет параллельной местной оос на вч
подозреваю что это никакой не А класс. А вот квазивыходной каскад дико кривой, и вполне может соревноваться по искажениям с УН.
 

Вложения

  • 1764312267332.jpg
    1764312267332.jpg
    264.1 KB · Просмотры: 131
Транзисторы MJW21193 21194 при напряжении питания +-25 В, в усилителе нет защиты, трансформатор 200 Вт, при КЗ нагрузки горит сетевой предохранитель 3 А, транзисторы целые.
Какая ёмкость электролитических конденсаторов по +-25 В,? Сопротивление вторичной обмотки?
 
Последнее редактирование:
Последнее редактирование:
Чудодейственные звуковые свойства германиевых транзисторов в чистом виде разводилово. Но конструктивно германиевые транзисторы очень удобны для обучения начинающим.
 
В этом ракурсе (от слова "рак") мне был бы интересен такой эксперимент: мастерски́ выдать кремниевый транзистор за германиевый (как бы шутка изготовителя) : в корпусе германца разместить кремний.
Думаю такие шутники и эксперименты уже были
В корпусе мп39 спокойно уместится кремний smd транзистор
 
В этом ракурсе (от слова "рак") мне был бы интересен такой эксперимент: мастерски́ выдать кремниевый транзистор за германиевый (как бы шутка изготовителя) : в корпусе германца разместить кремний.
можно ещё круче сделать- заявить о выпуске комплементарных германиевых транзисторов в корпусах как 3102/3107 , а потом просто перемаркировать кремний будто он крутой германий. ГТ3102/3107
 
В этом ракурсе (от слова "рак") мне был бы интересен такой эксперимент: мастерски́ выдать кремниевый транзистор за германиевый (как бы шутка изготовителя) : в корпусе германца разместить кремний.
Ваша мечта давно стала скучной реальностью. Хвирма ISC шлепает винтажный гарманий, такой желанный и долгожданный , в поиске запчастей к винтажным УНЧам, но с маленькой поправкой. Кристаллы там - настоящий кремний. С высокими параметрами, не то, что ваша германиевая размазня.
Даже у меня уже есть две пары германиевых транзисторов с одним названием, 2SB407 , но одна из них- чистый кремний.
 
Последнее редактирование:
А не надо за дешманом гнаться у барыг, халяву - 2Т903 можно найти среди барахла, на развалах.
903 слабые. КТ805Б и то лучше.
903-х полно, потому как на них КИПовские усилители делались к самописцам. То ли дело роскошные 908-е.
 
зачем 903 когда есть замечательная пара от тошибы 5198\1941
 
Так, не надо их в А «загонять», отбирать по постоянному, подачу на разные плечи сделать ровную, то 100мА достаточно.
903 - лучшие по характеристикам, у буржуев таких нет и не было.
Для «переключают на разных токах, ВАХи разные» - суммировать в каскаде «усилитель тока».
 
Последнее редактирование:
Так, не надо их в А «загонять», отбирать по постоянному, подачу на разные плечи сделать ровную, то 100мА достаточно.
903 - лучшие по характеристикам, у буржуев таких нет
тут по принципу - ставим то, что есть. И если есть лучшее, то ставим лучшее. Когда припрет - то на п214 собрать придется, куда денешься.
А когда зоопарк всякого импорта- и чего я стану на эти 903-е озираться?Не считал их никогда важными персонами. Разве что в УКВ передатчик)))) Но тема не моя.
 
тут по принципу - ставим то, что есть.
а зачем, если для себя, любимого? То, последнее звено, понятно, что начинать надо с первичных, и гадить как можно меньше (малоОсные, где вычитает мало).
Если тракт короткий, то Фет последнего решает.
А в курсе, что СверхЛинейники на «короткие», если подсели, то дома сидят, тихо слушают?
 
Последнее редактирование:
а зачем, если для себя, любимого? То, последнее звено, понятно, что начинать надо с первичных, и гадить как можно меньше (малоОсные, где вычитает мало)
Дык, малоООСными и вожусь большей частью. И ставлю туда что угодно. Но результат все же приятнее с достойными приборами, доступ к которым получил на закате жизни. До этого просто знал, что они есть, толку с этого.
Другая тонкость- возня с транзисторами не от безумной любви к этим схемам, а от желания сделать схемочку, чтобы похожа была на звук лампы, как можно ближе. Что-то вроде получается, с дикими трудностями. А есть просто неплохо звучащая схема, не лампа. но приятно звучащая. И пущай будет.

Понятно, там БП линейный нужно применять, они разные (ОСь). Тогда только потенциал открываться начнет триодов на полную
Чисто случайно спаял JLH на латералах 1058 на выходе. И лампа на входе , для пущей гармонии. И уже не первый год звучит у друга такой кунштюк. Он сказал, что не променяет этот волшебный звук ни на что другое. И он прав, там сложилась система с особой благодатью. Но там все работает в сумме. Первым делом колонки собрали особые, потом лампач к ним, потом DAC нашли роскошный. А уже после гибрид сделали и поняли, что он - на своем месте. Потому и сложилось. А главнее прочего- комната весьма удачная размерами. Нет мест с дрянным звучанием.
 
Последнее редактирование:
Понятно, там БП линейный нужно применять, они разные (ОСь). Тогда только потенциал открываться начнет триодов на полную.
Если «навалить» , то электролиты токовые, как ток в отдачу на НЧ - решают. Но про это Вы в курсе (банки, где вес, габарит, вольтаж с большим запасом - лучше)
Банки есть. Даже слышал байку про лучшее звучание D-шника от пары обычных банок. нежели от импульсника. Сам не проверял.

Худ Финн32 забраковал, с Веги Лес9 от Спара слушает (840, кажется, не помню), ТП 1,2А, референтные полочники.
Да, на входе ОУ из не быстрых.
А можно лучше? Можно, Вашу лампу на джифет поменять, но то слушать надо
На германии сработала схема Худа 1996 года, с мелкими доработками.без них со стабильностью беда бедовая.
Худ по традиционной схеме довелось послушать, придраться не смог, достойно звучит.
JLH-1996_SCH.png

Финик, не тот, каркасник строю, 6х6х3,2 фронт не отражает - вату тряпкой из стекловолокна закрою. Пусть улица слушает, мне не жалко
Хорошее решение. У приятеля зал плавно переходит в веранду, оттуда дальше по дому. Нет ни гула ни эха, АЧХ в точке прослушивания просто чудо ровная.
 
Худ Финн32 забраковал, с Веги Лес9 от Спара слушает (840, кажется, не помню), ТП 1,2А, референтные полочники.
Да, на входе ОУ из не быстрых.
А можно лучше? Можно, Вашу лампу на джифет поменять, но то слушать надо
Джифет -гармонизатор по идее Пасса тут есть уже, вырулил три варианта, применю скоро.
https://ldsound.club/threads/garmonizator-nelsona-passa.3482/page-5 от поста 143 и далее
 
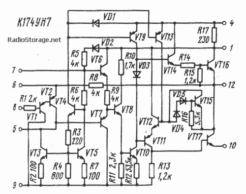
Господи, та візьміть вже, нарешті, К174УН7. Той само Худ, але на монокристалі і відтермокомпенсований, як потрібно.
Лише режим першого каскаду підрихтувати і зкорегувати за розумом. Такий підсилювач дасть величезну фору всим вашим недоробкам.
1765605895614.png
 
Последнее редактирование:
чтобы похожа была на звук лампы, как можно ближе.
всё дело в величинах проходных резисторов и rc - цепочках паралельно этим резисторам
Нужны от 10 кОм и выше (10 - 30 кОм)
Что бы выход преампа на унч работал как ИТУН
Тогда звук мягче, благозвучней

Весь звук - в правильных величинах проходных/межкаскадных R + RC,
и...наличии ГСТ в нужных местах
 
Последнее редактирование:
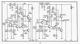
По обсуждайте.
 

Вложения

  • германий.jpg
    германий.jpg
    285.8 KB · Просмотры: 135
По обсуждайте.
Мне кажется, нет специальной схемотехники "только для германия", но возможно и ошибаюсь, есть хорошая схемотехника для звука, и не очень
На этой схеме, она " не очень"
Нечего обсуждать
 
По обсуждайте.
схема классическая,реализация гавно,сменить транзисторы на вч импорт
на сегодня вк квази на кремнии не актуальна,переделать на комплементар
 

Статистика форума

Темы
3,315
Сообщения
264,691
Пользователи
2,551
Новый пользователь
Dmaren55
Назад
Сверху Снизу