Усилитель по мотивам Симфонии 003

Да та же самая херня была в моем пушпуле на 6п14п, пока не успокоил ее емкостишкой с выхода на вход. Зато взамен одной херни пришла другая. Без нагрузки загенерил, касатик!
Пришлось на клеммы повесть по 50 Ом. Утих, сердешный...
Надо конкретно искать причину. Может земля неправильно разведена, может входные цепи требуют экранировки. А может на межкаскадные емкости наводится.
 
Надо конкретно искать причину. Может земля неправильно разведена, может входные цепи требуют экранировки. А может на межкаскадные емкости наводится.
Та нет, Саша. Разница была когда пробовал вместо 6п14п применить 6П15п. Они оказались особами нервическими, склонными к метаниям и истерическому поведению. Отсюда и вариантов коррекции попросили(нет, скорее, потребовали) больше и утонченнее, с выпендрежами. Оттого вернувшись к привычным 6П14п-К , выдохнул и выкинув нахрен автосмещение, заменил его на фиксу от выпрямленного накала, по советам великого Олега Чернышева.
 
Та нет, Саша. Разница была когда пробовал вместо 6п14п применить 6П15п. Они оказались особами нервическими, склонными к метаниям и истерическому поведению. Отсюда и вариантов коррекции попросили(нет, скорее, потребовали) больше и утонченнее, с выпендрежами. Оттого вернувшись к привычным 6П14п-К , выдохнул и выкинув нахрен автосмещение, заменил его на фиксу от выпрямленного накала, по советам великого Олега Чернышева.
А я не про твой случай, а про осциллограммы.
 
Для начала- цифровой меандр заменить на нормальный. А то, звенит он, понимаешь, перед началом заднего фронта)))
 
Там на синусоиде вспышки.
С хера там вспыхивать. Обычный Ашныйлампач РР
На синусе херятина цифровая зазубрины строит. Автор же умный. не докладывает, откуль сигнал берет. Не хочет марку смартфона светить.
 
Я думаю, если бы лет более полтинника назад тот лампово-симфонический УНЧ разными цифровыми клизм@ми на заводе мучали, то ни хрена бы его они ОТК не сдали!
 
Может земля неправильно разведена, может входные цепи требуют экранировки.
Да вроде все по фен-шую. Фона ноль, помех и наводок вроде не слыхать:unsure:
Оттого вернувшись к привычным 6П14п-К , выдохнул и выкинув нахрен автосмещение, заменил его на фиксу от выпрямленного накала, по советам великого Олега Чернышева.
позвольте этот момент поподробнее _da
Автор же умный. не докладывает, откуль сигнал берет
сигнал с компа, прога Аудиотестер, Спектралабы и пр. RMMA пока не осилил:(
ПС прилеплю 100 пф и посмотрю,
 
С хера там вспыхивать. Обычный Ашныйлампач РР
На синусе херятина цифровая зазубрины строит. Автор же умный. не докладывает, откуль сигнал берет. Не хочет марку смартфона светить.
Ну да, ну да! Я всего год в радиолюбительстве!
 
Ну да, ну да! Я всего год в радиолюбительстве!
Но тщательно это скрываешь. Из профи в любители- списали, что ли? _hm_
Или из любопытства освоил новый уровень, подземный?
 
Последнее редактирование:
Если мне не изменяет память это программа для измерения ТС параметров динамика. Не самая лучшая.
Это простенькая прога Аудиотест для измерения АЧХ, искажений, также есть генератор сигналов и осциллограф типа.
А для измерения ТС параметров Аудиотестер,более сложная, название похожее, и автор один- немец! Сам запутался в названиях! (немцы они всегда немцы _hm_)
Использовал только генератор
 
Последнее редактирование:
Запусти прогу APO ,создай в ней фнч,с крутым спадом,и тогда сигнал программного генератора намного чище будет
 
Да вроде все по фен-шую. Фона ноль, помех и наводок вроде не слыхать:unsure:

позвольте этот момент поподробнее _da

сигнал с компа, прога Аудиотестер, Спектралабы и пр. RMMA пока не осилил:(
ПС прилеплю 100 пф и посмотрю,
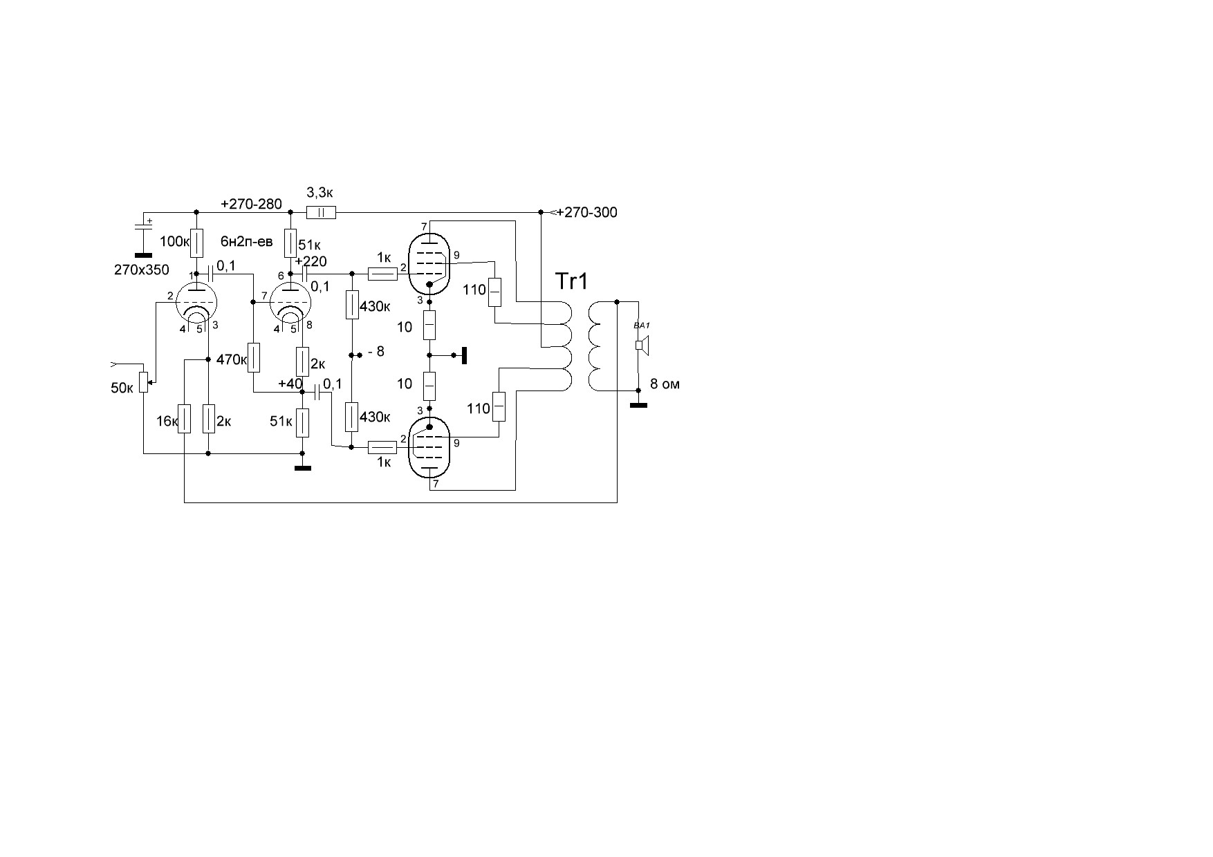
Все просто и понятно. Катоды всех 6п14п заземлить через измерительные резисторы на 10 Ом, земли сеточных резисторов от 6п14п посадить на минус 8 вольт от выпрямленного накала 6, 3 в. Диод +банка 22 мкф, разрядник 100 килоом в параллель. И усе. Ток покоя смотрим на резисторах 10 Ом, в норме 500 милливольт.50 ма.
 
глянул на входе, меандр грязный, значит карта говно
А в ОООС 16 ком. _da
Дело не в карте. а в цифровом меандре, он такой и есть.Накидайте ему емкость в землю ,с выхода карты, чтобы вздрыки прижать, тогда увидите внесенное усилителем.
 
Дело не в карте. а в цифровом меандре, он такой и есть.Накидайте ему емкость в землю ,с выхода карты, чтобы вздрыки прижать, тогда увидите внесенное усилителем.
да видимо так, поставил в комп другую карту,попробовал разные генераторы, картинка схожая
на какую примерно емкость ориентироваться?
единственно что выяснил, что приходит то и выходит из уся, уже радует
 
наверно будет правильно собрать простой генератор на логике делов минут на 30.
А вообще то подождите, что у Вас за осциллограф? (марка) Если есть выход калибратора то можно использовать его. Там стандартно 1кГц.
 
А вообще то подождите, что у Вас за осциллограф? (марка) Если есть выход калибратора то можно использовать его. Там стандартно 1кГц.
старый совковый простецкий ОМЛ-3М, вот сейчас ищу простенький девайс, осцил+генератор, например такой
 

Вложения

  • 2024-10-29_17-50-06.png
    2024-10-29_17-50-06.png
    561.7 KB · Просмотры: 58
Последнее редактирование:
У ОМЛ полоса частоты, если не врут - 5МГц.
У китайца выборка - только 5 МГц.
Грубо говоря, он в 10 раз хреновее.
Но - удобен. Плюс генератор.
 
У ОМЛ полоса частоты, если не врут - 5МГц.
У китайца выборка - только 5 МГц.
Грубо говоря, он в 10 раз хреновее.
Но - удобен. Плюс генератор.
Мне мегагерцы не нужны, да и информативность старья ни какая, и чтобы посмотреть на нем мне надо все хозяйство тащить к компу, а выход программного генератора как я убедился лажа.
А с этим девайсом подключился напрямую к усю и верти-крути, на столе рядом с паяльником _da
 
старый совковый простецкий ОМЛ-3М, вот сейчас ищу простенький девайс, осцил+генератор, например такой
Что то мне говорит, толку с него будет, как с програмного генератора.
 
Все просто и понятно. Катоды всех 6п14п заземлить через измерительные резисторы на 10 Ом, земли сеточных резисторов от 6п14п посадить на минус 8 вольт от выпрямленного накала 6, 3 в. Диод +банка 22 мкф, разрядник 100 килоом в параллель. И усе. Ток покоя смотрим на резисторах 10 Ом, в норме 500 милливольт.50 ма.
Это типо так? Не понял про диод,банку и разрядник куды?
 

Вложения

  • УМ Бокарева 29.10.JPG
    УМ Бокарева 29.10.JPG
    94.2 KB · Просмотры: 126
Это типо так? Не понял про диод,банку и разрядник куды?
По буквам. Накальная 6, 3 вольта к земле одним концом, вторым через диод пошустрее (КД 106 или Шоттки 5819 ) заряжаем баночку мкф на 20-100. Минусом ВВЕРХ!!! К баночке паяем разрядник кил на 100. Все сеточные концы сводим на минус банки. .
Теперь главное. Фикса попросит у вас ОДИНАКОВЫХ до жути лампочек, это вам не автосмещение , которому почти пофиг на разброс.
 
Мешок деталей вон из ящика . Ну и 8 вольт в анодную карму. А то и 9, ежели диод Шоттки.
ПС. У меня ДВЕ накальные обмотки, я их соединил со средней точкой двумя диодами, получил ДВУХполупериодное выпрямление накала. Не хухры.
Вроде как наоборот деталей прибавляется, катодных кондюков и так нет, а тут надо добавить диод, кондюк и резистор! При наличии лишней обмотки причем!
Ишо лампы близнецы нужны... :unsure:
ПС Ишо вопрос: анодное у мене порядка 270в, надо ли подкинуть вольт 20-30 для фен-шуя, свободная мелкая обмотка есть на трансе?
 
Последнее редактирование:
Вроде как наоборот деталей прибавляется, катодных кондюков и так нет, а тут надо добавить диод, кондюк и резистор! При наличии лишней обмотки причем!
Ишо лампы близнецы нужны... :unsure:
ПС Ишо вопрос: анодное у мене порядка 270в, надо ли подкинуть вольт 20-30 для фен-шуя, свободная мелкая обмотка есть на трансе?
Вы прикидываетесь или где?
У меня ДВЕ накальные обмотки. У вас ОДНА . И ваше дело читать сообщение 601, а не упираться в сообщение 603.Глядишь, и посветлеет.
 
старый совковый простецкий ОМЛ-3М, вот сейчас ищу простенький девайс, осцил+генератор, например такой
этот не не не - он без ацп чисто на мк. надо хоть zeeweii - 154pro
 
Вы прикидываетесь или где?
У меня ДВЕ накальные обмотки. У вас ОДНА . И ваше дело читать сообщение 601, а не упираться в сообщение 603.Глядишь, и посветлеет.
Уважаемый, вроде не прикидываюсь но не пойму как от одной обмотки подать минус 8 и запитать накалы, читая ваши сообщения?
 
Уважаемый, вроде не прикидываюсь но не пойму как от одной обмотки подать минус 8 и запитать накалы, читая ваши сообщения?
Уже по буквам. Накальная обмотка 6, 3 в. Одним концом прибита к земле. На ней сидят 4 накала выходных и два накала предвыходных. (Эт если стерео, у вас ваще моно и всех накалов три)
Висящий в воздухе вывод накальной вторички через диод заводим на сидящую в земле банку от 22 до 100мкф. Получаем там наши минус 8-9 вольт. Это понятно или повторить?
 

Статистика форума

Темы
3,295
Сообщения
262,538
Пользователи
2,545
Новый пользователь
vlad'mir
Назад
Сверху Снизу