vitamir
1 ранг
- Регистрация
- 2 Янв 2021
- Сообщения
- 2,345
- Реакции
- 1,708
- Баллы
- 84
- Возраст
- 64
- Страна
- Україна
- Город
- Київ
- Имя
- Віталій
Смотрите видео ниже, чтобы узнать, как установить наш сайт в качестве веб-приложения на домашнем экране.
Примечание: Эта возможность может быть недоступна в некоторых браузерах.
Из небольшой практики работы с даймондом, я пришел к выводу,что он хорош при работе с небольшими токами и амплитудами,то есть - на входе схемы, но делать на нем ВК,это на любителя. Поначалу звук такого ВК нравится,а потом начинает утомлять,он немного ярчит, немного навязчивый что - ли, с обычной двойкой - тройкой, такого нетВикористаний Бокарьовим diamond buffer, так званий "агеєвський виход"(С), то "квазиодиниця". Вхідний опір лише в бета разів вищий за опір навантаження. Хто заважає використати повноцінну "двійку", або "трійку"? В такому випадку і сполучена вхідна ємність виходу менша.
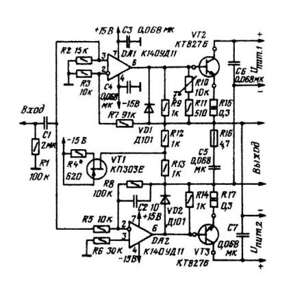
Я признаю по входу только инверты,там где и вход и ООС сходятся в одной гальванической точке.Вот этот усилитель
имеет сравнительно неглубокую общую ООС - всего 32 дБ. Но у него очень линейный встроенный ИТУН на операционнике со своей собственной ООС.Шмидт-Стоунколд
Зачем усложнять там,где можно не усложнять ? Если прогрев кристалла извне , даст такой же результат по звуку, что и прогрев изнутри, то наверное логично выбрать первый вариант. Это и, упрощает схемотехнику, ( класс В ) и возможно, может дать какие то новые варианты звучания, даже...ldsound.club
По итогу в приборе на выходе победила двойка с термотранзистором, как выдающая наибольший ток без просадки на нагрузке, с полосой до Мегагерца на полную и без сквозного тока. Условие- нормальные транзисторы на выходе.Двійка та трійка мають свої граблі. Краще вже замінити їх польовими одиночними транзисторами.
Хоча ніхто не заважає скласти двійку з низькобетистих транзисторів.
Наприклад 20 у першого з двійки, і п'ятнадцять у другого.
В результаті маємо супербета транзистор з показником триста одиниць.
Не двійка і не одиничка, - "полуторка".
На ниькобетистих ще й лінійності більшої можна нашкребти. Часто горб бети у них дальше по струму, аніж у нормальнобетистих. Бонусом така спарка менше буде схильна до "сквозняка". Бо максимальний струм виходу буде помітно залежний від вихідного опору попереднього каскаду.
Просто цікаво, чи випускаються сучасні потужні комплементарні транзистори з низькою бетою?
тут соглашусь. Хотя германиевый выход по Агееву порадовал совершенно роскошным звуком. А с кремнием все было как вы пишете. Ярчит .Из небольшой практики работы с даймондом, я пришел к выводу,что он хорош при работе с небольшими токами и амплитудами,то есть - на входе схемы, но делать на нем ВК,это на любителя. Поначалу звук такого ВК нравится,а потом начинает утомлять,он немного ярчит, немного навязчивый что - ли, с обычной двойкой - тройкой, такого нет
Для данной схемы это не актуально. Общая ООС не заводится ни на один из входов ОУ. Только местная. При желании легко передать и на инверт.Я признаю по входу только инверты,там где и вход и ООС сходятся в одной гальванической точке.
Раньше мне нравились навороченные схемы, и в принципе, мои гитарные перегрузы до сих пор навороченные,потому что там и узлы частотной коррекции и модуляции,и коррекции модуляторов и и много чего ещё,для того,что бы всё было автономным и звучало, но линейные УМ?....зачем их наворачивать,если они и в минимуме могут звучать как надо, когда все сбалансировано...конечно же я про Формату.Для данной схемы это не актуально. Общая ООС не заводится ни на один из входов ОУ. Только местная. При желании легко передать и на инверт.
А схема интересная. Остроумно решена балансировка нуля на выходе.
Не знаю, кто проектировал, но сделано грамотно.
Ага. Давай так померий мне , будь другом, хотя бы -100-110дБ искажений как в "третьей дьябле", вот таким методом.Симуляторщики все считают КНИ и Кг, хотя, если взять обычный двухканальный осцилл, подключить его ко входу и выходу , нагруженному хотя бы на эквивалент, выровнять по уровням и посмотреть на реальном музыкальном сигнале, то даже просто глазом видно уплотнение спектра сигнала на выходе ( относительно входа), по крайней мере в параллельнике я это наблюдал.
А ещё можно подать сигнал входа и выхода выровненные по уровню, на сумматор в противофазе, и глянуть осциллом , там где начнут появляться искажения, на выходе появится сигнал искажений, а пока их нет, на выходе будет просто прямая линия.
Надо бы у товарища финика спросить какие наркотики он принимает. Я на рцл не бываю, может вы спросите? А то после последнего фейла с его АС, у которых оказались "шибилянты" , к его слуховым экспертизам доверие не особо то.. Прямо скажем.Я иногда почитываю РЦЛ, и вот что пишет тов. finn32 - "По верхам скажу так: у сверхлинейников у всех такие верха, немного как бы приглушенные, но очень точные, бо привычных среднестатистическому уху искажений там просто нет. Кому-то это не понравится, конечно."
Я этому человеку верю в его оценке звука, потому что знаю, он работает над этой темой оч.давно,плотно и плодотворно
И я это к чему...а к тому,что чуть -ранее говорил про звук Форматы,что он плотный,нейтральный и...немного матовый. Вот эта матовость,и есть небольшая приглушенность верхов, но это только на малых уровнях,если ему поддать жару,то там всё становится на свои места, верха в том числе. Они именно - точные, хай-хэт звучит как надо,тарелки тоже натурально звучат,и прочее железо.
Да кто они такие эти симуляторщики? Что они вообще себе позволяют? То ли дело наш друг СТТЛ(который был ТТЛА раньше) , вот его бредни всем близки. Да..90% симуляторщиков живой звук и не слушают. Уж очень он искаженный.
усиление его 3,3+1Вроде все ясно, R604~R607. Общий коэффициент усиления равен 3,3 раза при питании +/-65В.
http://archive.radio.ru/web/1997/03/013/ - на эту тему, но Шмидт Стоунколд тут нипричёмЁшкин Кот - большое спасибо!!!
Вот этот усилительhttp://archive.radio.ru/web/1997/03/013/ - на эту тему, но Шмидт Стоунколд тут нипричём
ldsound.club
Ну...не знаю..мне думается,выход линейного УНЧ, должен быть как танк, он не должен реагировать на изменения нагрузки, но выдавать точный и усиленный сигнал на все диапазоны изменений импенданса и индуктивности АС, а все манипуляции с тонкостями импенданса,надо решать как то иначе, но не внутри линейного УНЧ.Вот этот усилитель
сделан по схеме с рисунка №5, но есть нюанс - на выходе усилителя сигнала ошибки стоит НЧ-фильтр, благодаря чему выходное сопротивление становится частотно-зависимым. Как вариант, вместо усилителя ошибки ставится интегратор.УМЗЧ с частотозависимым выходным сопротивлением
В режиме читателя периодически посещаю этот и другие форумы, посвящённые аудио. Скучно как-то стало за последние лет 10, и даже более. Ничего нового в сехемотехнике. Народ обсуждает схему 1969-го года. Спору нет, схема гениальная, но сколько ж можно? А все новые схемы по своей сути так похожи...ldsound.club
Это если вы делаете усилитель с нулевым выходным сопротивлением.Ну...не знаю..мне думается,выход линейного УНЧ, должен быть как танк, он не должен реагировать на изменения нагрузки, но выдавать точный и усиленный сигнал на все диапазоны изменений импенданса и индуктивности АС,
ПротивоЭДС характерна на НЧ, где все всё успевают. Комплексная нагрузка увеличивает рассеиваемую мощность и пытается изменить фазу сигнала ООС.Самые злобные искажения даёт именно спад сигнала,когда транзюки зкрв, а ПЭДС динамиков, пытается удержать уровень потенциала,и так как ООС включена именно в этой точке,она как то пытается реагировать, но толку мало, потому что она не может закрыть транзисторы быстрее чем может.
И здесь на сегодня вижу только один путь - сделать последний каскад ВК без ООС, а ООС снимать с драйвера/предвыхода ВК, тогда ПЭДС не будет влиять на ООС, и возможно, так будет лучше для звука,чем традиционное подключение ООС.
Но это надо проверять на практике.
. То есть, на ней очень просто испытать Вашу концепцию.А не один ли чёрт, сколько микросекунд выходит из ограничения усилитель?Именно это решение применял Маршалл Лич в своих мощниках, по его словам, выходной каскад быстрее возвращался в норму после захода в ограничение.
Было такое чюдо, автор Сырицорезультат почти один - от чего то он бедолага заводится ,потом мгновенный сквозной ток и как результат дохлые пред и выходники...если повезет то и колонки.
итог все на него плюнули (кажется слюной) и вроде забыли .
так вот интересно , кто нить в курсе , что в итоге за все эти годы ?
кому нить получилось сделать его "случайноневыгорающим"?
кто в курсе , делитесь ибо сам делал , был поражен звучанием и подачей особенно низа , пока не переткнул входной разьем и все не сгорело моментально

Тема Реактивное сопротивление АСДаже так!...буду знать.
В даташитном включении - не задействована, пин 11.такую фичу делают даже в промышленных ИНТЕГРАЛЬНЫХ УНЧ, это прикольно.
Пряма мова від автора статті, на яку трьома дописами вище посилається дизайнер. Для тих, хто писати навчився раніше, ніж читати.Это если вы делаете усилитель с нулевым выходным сопротивлением.
Но
Должен ли УМЗЧ иметь малое выходное сопротивление?
Должен ли УМЗЧ иметь малое выходное сопротивление?cxem.net

"На коленке" - на столе - эта схема работала около полугода и не горела. Микрухи были 544УД2 в металле, плата из журнала, но добавлены разъёмы, питание на 4-х мостах на кд213 и от одного перемотанного ТС-180, это то, что помню. звук был неплох. Нагружал на 35АС-028. До корпуса не дошёл, как и почти все мои поделки школьныеБыло такое чюдо, автор Сырицо
Посмотреть вложение 77843
Не считая неправильной полярности одного диода, вроде норм. Ещё в школе собирали с другом. Несмотря на простоту, звучание было... ну балдёжным на то время. Раз включили, два, на третий - всё, кроме полевика, выгорело. И так - несколько раз. Специально не выключали, грели, слушали - работает. Процесс включения - фатален. Схема другая, но причина может быть подобной. Стояли именно указанные детали.
Тема Реактивное сопротивление АС
В даташитном включении - не задействована, пин 11.

Чому - ні? Для ШП, наприклад? ось це ганяв в симулі і макетував, але закинув - час від часу схема збуджувалась на ІНЧ, окрім того АС, які зробив - геть не сподобалися.Пряма мова від автора статті, на яку трьома дописами вище посилається дизайнер. Для тих, хто писати навчився раніше, ніж читати.
"Конечно, автор понимает, что предлагаемый метод снижения искажений не является панацеей. Кроме того, в случае использования готового многополосного громкоговорителя осуществление токового питания его отдельных ГГ без переделки невозможна. Попытка же подключения многополосного громкоговорителя в целом к усилителю с повышенным выходным сопротивлением приведёт не столько к снижению искажений, сколько к резкому искажению АЧХ и соответственно, сбою тонального баланса. Тем не менее снижение интермодуляционных искажений ГГ почти на порядок, причем столь доступным методом, явно заслуживает достойного внимания.
С.АГЕЕВ, г. Москва"
Завіса.![]()
Когда я понял,насколько несовершенны реальные ДГ, насколько они компромиссны и ограниченны для музыкального сигнала, то плюнул на это дело, и переключился на другие темы, линейные УМ и гитарные перегрузы. Типа...подожду, когда научатся делать идеальные ДГ.Это если вы делаете усилитель с нулевым выходным сопротивлением.
Но
Должен ли УМЗЧ иметь малое выходное сопротивление?
Должен ли УМЗЧ иметь малое выходное сопротивление?cxem.net
Кивну, хорошее решение со многих сторон. Перекуем реактивности на активности.Когда я понял,насколько несовершенны реальные ДГ, насколько они компромиссны и ограниченны для музыкального сигнала, то плюнул на это дело, и переключился на другие темы, линейные УМ и гитарные перегрузы. Типа...подожду, когда научатся делать идеальные ДГ.
Хотя...в моих последних мощниках, последовательно с выходом я ставил мощный резистор на 1 Ом, намотанный из нихрома, сначала это была типа - доп.защита УНЧ от случайного кратковременного КЗ, но потом заметил что, и звук вроде как стал почище и помягче, у колонок из 4-х ШП 4а-32.
А ещё,в самой колонке у меня стоял шунт на 15 Ом,паралельно динамикам, для лучшего демпфирования.
Типа того.Кивну, хорошее решение со многих сторон. Перекуем реактивности на активности.
ДГ разные бывают. Профессиональные, рассчитанные на озвучивание больших залов или улицы, и домашние, для небольших комнат. Естественно, им разные усилители нужны. В первом случае - моща под киловатт и низкое выходное сопротивление. А во втором случае не всё так однозначно.Когда я понял,насколько несовершенны реальные ДГ, насколько они компромиссны и ограниченны для музыкального сигнала,
Низкое выходное?....насколько я понимаю, низкое выходное делается паралелью выходных трнз-ров - на атаке, и большим током покоя - на спаде сигнала.ДГ разные бывают. Профессиональные, рассчитанные на озвучивание больших залов или улицы, и домашние, для небольших комнат. Естественно, им разные усилители нужны. В первом случае - моща под киловатт и низкое выходное сопротивление. А во втором случае не всё так однозначно.
Не умаляю ваших находок и решений по акустике,, но народ под все пляшет, лишь бы было громко и низ качал )В бытность работы на фирме скидал двухполоску на профессиональной двенашке от Селешина Трювокс 1225 кажись и пищалке от Эминенс APT50 , ими торговал один музмаг.
И получилась на удивление звучная и компактная колоночка, причем, хватило тогда моих куриных знаний ее настроить . Через много лет встретил владельца колонок, он очень доволен результатом, говорил, что дома слушает их, а если на улице какой-то праздник. то вытаскивает на улицу и озвучивает событие, вся деревня пляшет. Приятно слышать такое.

ну не скажите. Красивый звук такая штука. на него все сбегаются. А потом вспоминают, как классно играло у такого-то.Низкое выходное?....насколько я понимаю, низкое выходное делается паралелью выходных трнз-ров - на атаке, и большим током покоя - на спаде сигнала.
Не умаляю ваших находок и решений по акустике,, но народ под все пляшет, лишь бы было громко и низ качал )
Им пофигу какой там усилок, цифровой или аналоговый, тупой звук или изящный, главное погромче да покачовее.![]()
Не розумієте, від слова зовсім. Але для розуміння недостатньо фрумної балаканини. Потрібно вивчати електронну схемотехніку в дійсний спосіб років зо три у виші на відповідній спеціальності. Тому, живіть так, сприймайте. як вмієте, але не давайте порад іншим, це робить шанованому панству смішно.Низкое выходное?....насколько я понимаю, низкое выходное делается паралелью выходных трнз-ров - на атаке, и большим током покоя - на спаде сигнала.
Красивий звук річ інтимна.Красивый звук такая штука. на него все сбегаются. А потом вспоминают, как классно играло у такого-то.

Я уже рассказывал, как усилкм в классе В, после хорошего прогрева звуковой мощностью, начинали - звучать.Ага. Вот прям, верю!! Как в том мультике: "Слушаю- и заранее верю каждому твоему слову!"
(Кто расскажет небылицу)
Осталось вспомнить, откуда растут ноги у В-шника или С-шника. И на каком месте там качество звучания.
Я думаю, чем выше частота, тем более высокий порядок пассивного фильтра можно ( а может и нужно) применять.В нашому випадку, клас підсилення річ другорядна, або річ з іншого виміру.
Згадайте за частинні похідні(куди подівся трєзвий?).
В нашому випадку має сенс лише вихідний опір підсилювача, який сам складається з двох суттєво різних частин.
Взаємодія вихідного опору підсилювача з імпедансом акустичної системи породжує переважно лінійні спотворення, які є чинником впливу на якість звуку. Мінімум вихідного опору підсилювача і стабільність його значення в робочих діапазонах частот і струмів в навантаження мінімізує залежність якості звуку від підсилювача, але виставляє на огляд вади акустичної системи. Тому, євреї. не шкодуйте заварки. Якість АС понад усе. І ховатись за широкою спиною підсилювача соромно.
А чёт у меня усилок всегда холодным почти работает, радиатор наверное градусов 30-35. Что же я делаю не так, что он и в таком виде и звучит и измеряется отлично? Может потому что ток покоя аж цельных 4мА? Или из за оос глубиной 96дБ? Или это оттого что он неделями не выключался и прогрелся? Да чёт разницы в звуке нет что при включении что после недели работы- один хрен.Ohm my!
Access denied under U.S. Export Administration Regulations.
Я уже рассказывал, как усилкм в классе В, после хорошего прогрева звуковой мощностью, начинали - звучать.
А что у нас там с JLH ?...какая там темература радиатора, что позволяет звучать даже такому простому УНЧ...
Потому что резко возрастает Бета и снижается порог открывания ( не мое, но я тоже так думаю)
Так с Ваших слов - там и мощности - не особо... Чему греться?А чёт у меня усилок всегда холодным почти работает, радиаторы наверное градусов 30-35. Что же я делаю не так, что он и в таком виде и звучит и измеряется отлично? Может потому что ток покоя аж цельных 4мА? Или из за оос глубиной 96дБ? Или это оттого что он неделями не выключался и прогрелся? Да чёт разницы в звуке нет что при включении что после недели работы- один хрен.