Усилитель Шушурина (50 Вт/8 Ом)

Tehnar

3 ранг
Регистрация
17 Янв 2024
Сообщения
207
Реакции
9
Репутация
6
Страна
Беларусь
Город
Могилев
Имя
Александр
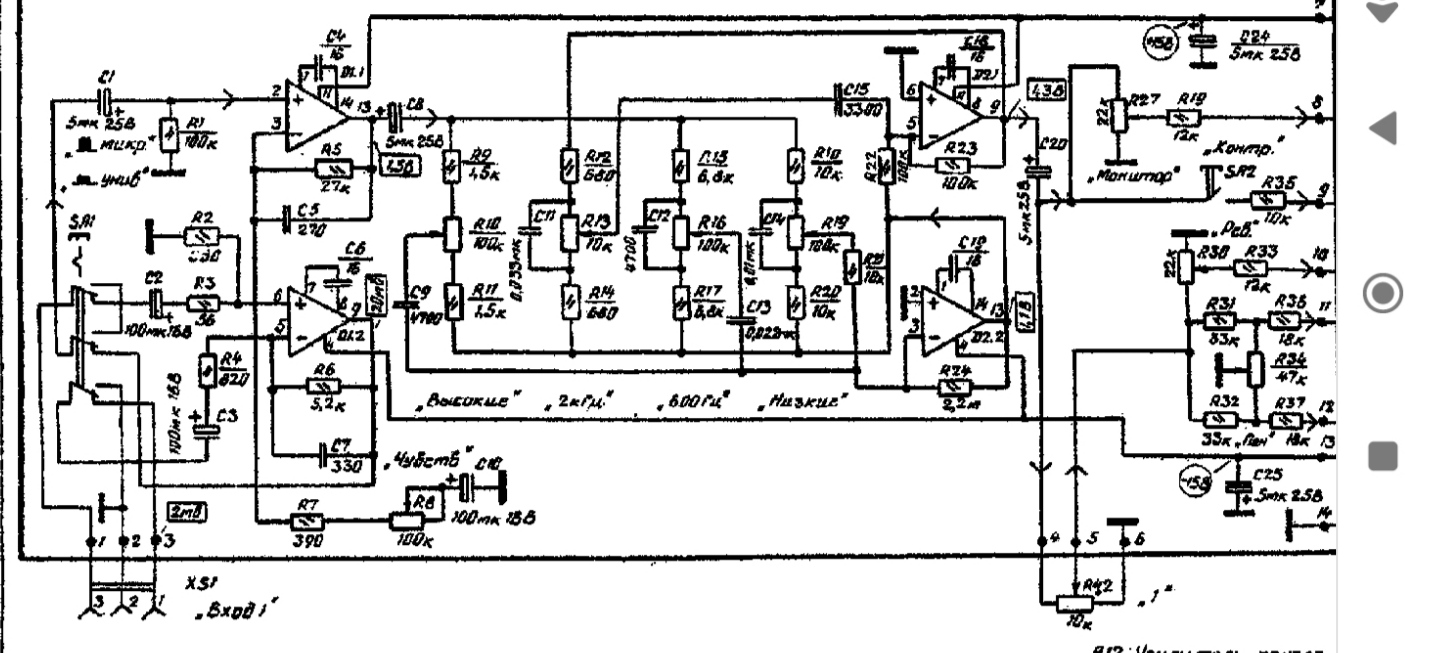
Из простых, мне нравится вот эта схема. Как раз оч.музыкальный предвак и эквалайзер.
Микросхема К157УД2
Никаких транзюков здесь не нужно,выход микрухи - тянет.
Если разберётесь в схеме и не поленитесь сделать, возможно и подойдёт.
Посмотреть вложение 84541
Он не суперлинейный,в нем есть окрас, но музыка

Из простых, мне нравится вот эта схема. Как раз оч.музыкальный предвак и эквалайзер.
Микросхема К157УД2
Никаких транзюков здесь не нужно,выход микрухи - тянет.
Если разберётесь в схеме и не поленитесь сделать, возможно и подойдёт.
Посмотреть вложение 84541
Он не суперлинейный,в нем есть окрас, но музыкальный
Можно узнать от чего эта схема? Я вижу что она очень старая, много проходных электролитов, я их вообще стараюсь не использовать. Например пред на К157УД2 в Радиотехнике У-101 мне очень не понравился.
 

STTL

2 ранг
Регистрация
12 Дек 2022
Сообщения
930
Реакции
54
Репутация
16
Страна
Россия
Можно узнать от чего эта схема? Я вижу что она очень старая, много проходных электролитов, я их вообще стараюсь не использовать.

Например пред на К157УД2 в Радиотехнике У-101 мне очень не понравился.
Вообще. 157уд2 специально разрабатывалась как звуковая. И она вообщем то соответсвует этому, кмк.
Схема линейки канала от микшерского пульта Электроника ПМ-01
Электролиты ставить не обязательно, можно вообще напрямую , кроме входного конденсатора.
Я и не говорю что он должен понравится, просто предложил вариант, который меня устраивал.
Частоты среза там можно менять, меняя емкости в темброблоке.
 

Tehnar

3 ранг
Регистрация
17 Янв 2024
Сообщения
207
Реакции
9
Репутация
6
Страна
Беларусь
Город
Могилев
Имя
Александр
Вообще. 157уд2 специально разрабатывалась как звуковая. И она вообщем то соответсвует этому, кмк.
Схема линейки канала от микшерского пульта Электроника ПМ-01
Электролиты ставить не обязательно, можно вообще напрямую , кроме входного конденсатора.
Я и не говорю что он должен понравится, просто предложил вариант, который меня устраивал.
Частоты среза там можно менять, меняя емкости в темброблоке.
Вы случайно не собирали или может слушали Пред Сухова, он как раз вроде на К157УД2, очень многие его советуют?
 

STTL

2 ранг
Регистрация
12 Дек 2022
Сообщения
930
Реакции
54
Репутация
16
Страна
Россия
Вы случайно не собирали или может слушали Пред Сухова, он как раз вроде на К157УД2, очень многие его советуют?
Не собирал.
Надо схему глянуть.
Вообще,, даже в типовом включении 157уд2 звучит нормально, кмк, там ничего не нужно наворачивать.
Это сейчас пошла мода на сверхлинейность, а в типовом включении, он просто линеен.
Я Суховские схемы кроме ВВ 89 не собирал, но зная, что он тоже поддался поветрию сверхлинейности, вряд ли она(схема преда) мне будет интересна.
Я считаю как раз наоборот - преамп ДОЛЖЕН окрашивать звук, делать его более музыкальным, насыщенным, подготовленным для УМ, а вот УМ желательно уже брать\делать - линейным - без окраса.
 

Tehnar

3 ранг
Регистрация
17 Янв 2024
Сообщения
207
Реакции
9
Репутация
6
Страна
Беларусь
Город
Могилев
Имя
Александр
обе схемы мои. У первой РТ более высокого качества. Ну не нужны большие подъемы . Пора уже отвыкнуть от заблуждений.
Сземка Предвака ваша мне напоминает схемку Тарасова, вам не кажется так?
 

М.Васильев

1 ранг
Регистрация
25 Янв 2022
Сообщения
2,297
Реакции
698
Репутация
54
Возраст
68
Страна
Россия
Город
Пестово
Имя
Максим
ну а чем пред Сухова от моего отличается ? Те же малые +/-10 дб регулировка по краям, да шумов более и все. Ну еще ТКРГ активный. Ток максимальный значительно выше.
оф умощнение не Тарасов придумал . а принципиальное отличие у меня в РТ
 

Tehnar

3 ранг
Регистрация
17 Янв 2024
Сообщения
207
Реакции
9
Репутация
6
Страна
Беларусь
Город
Могилев
Имя
Александр
При наличии компа элементарно выровнять огрехи АС в цифре. А остальное приложится и денег не понадобится
Мне эта тема очень интересна. Компы у меня есть. Тем более что музыку я как раз с компа слушаю. Можно более подробно, как сделать звук с компа более качественный? Может подскажите какую статью, хочу почитать, ознакомиться, как люди с компа добиваются хорошего звука? Какой проигрыватель обычно используют? ЦАПа у меня нет.
 
Регистрация
12 Ноя 2019
Сообщения
28,311
Реакции
13,622
Репутация
395
Мне эта тема очень интересна. Компы у меня есть. Тем более что музыку я как раз с компа слушаю. Можно более подробно, как сделать звук с компа более качественный? Может подскажите какую статью, хочу почитать, ознакомиться, как люди с компа добиваются хорошего звука? Какой проигрыватель обычно используют? ЦАПа у меня нет.
Вот наверное кто не парится проблемой вытащить звук с компа, так это я. Есть звуковуха выносная, ее к нотебуку тык, выходы в усилитель, и смотри , что нового ютуп вывалил. Качество в паре с лампачом предостаточное для счастья.
 

Tehnar

3 ранг
Регистрация
17 Янв 2024
Сообщения
207
Реакции
9
Репутация
6
Страна
Беларусь
Город
Могилев
Имя
Александр
Вот наверное кто не парится проблемой вытащить звук с компа, так это я. Есть звуковуха выносная, ее к нотебуку тык, выходы в усилитель, и смотри , что нового ютуп вывалил. Качество в паре с лампачом предостаточное для счастья.
У меня ещё проще, есть комп, в нем встроенная звуковая карта, выход сзади на материнской плате, зелененький такой, обыкновенный шнурок к усилителю, Шушурина 78, никакой лампы ! И кололнки С-50 или Вега 50 АС. Проигрыватель Винамп или АИМП или Jetaudio одно время долго его слушал. И всё.
 

М.Васильев

1 ранг
Регистрация
25 Янв 2022
Сообщения
2,297
Реакции
698
Репутация
54
Возраст
68
Страна
Россия
Город
Пестово
Имя
Максим
мне для моих полочников надо было немного на 5-6дб прибавить в эквалайзере на частоте 32 герца и поддержать на те же 4-6дб на 16 кгц .
 

Tehnar

3 ранг
Регистрация
17 Янв 2024
Сообщения
207
Реакции
9
Репутация
6
Страна
Беларусь
Город
Могилев
Имя
Александр
Вот наверное кто не парится проблемой вытащить звук с компа, так это я. Есть звуковуха выносная, ее к нотебуку тык, выходы в усилитель, и смотри , что нового ютуп вывалил. Качество в паре с лампачом предостаточное для счастья.
Усилители типа АБ1 - это ваше творение?
 
Регистрация
12 Ноя 2019
Сообщения
28,311
Реакции
13,622
Репутация
395
Усилители типа АБ1 - это ваше творение?
Угу. Позже по просьбам трудящихся сочинил схему Ашника по мотивам худа на латералах, ватт на 8, трудится у друга в его домашке, звук сложился лучше всех прежних вариантов. даже лампач однотакт ушел на покой. Телек через него смотрят.
 

Tehnar

3 ранг
Регистрация
17 Янв 2024
Сообщения
207
Реакции
9
Репутация
6
Страна
Беларусь
Город
Могилев
Имя
Александр
Угу. Позже по просьбам трудящихся сочинил схему Ашника по мотивам худа на латералах, ватт на 8, трудится у друга в его домашке, звук сложился лучше всех прежних вариантов. даже лампач однотакт ушел на покой. Телек через него смотрят.
Я так понимаю, они все А класса, т.е греются сильно?

ну а чем пред Сухова от моего отличается ? Те же малые +/-10 дб регулировка по краям, да шумов более и все. Ну еще ТКРГ активный. Ток максимальный значительно выше.
оф умощнение не Тарасов придумал . а принципиальное отличие у меня в РТ
Вы мне так и подсказали, как увеличить ВЧ во второй схеме? Что нужно поменять в ТБ? Хочу поэкспериментировать, если понравится, возможно соберу рабочую схемку на плате, пока собрана на монтажке.
 

М.Васильев

1 ранг
Регистрация
25 Янв 2022
Сообщения
2,297
Реакции
698
Репутация
54
Возраст
68
Страна
Россия
Город
Пестово
Имя
Максим
Ответ по регулировке пределов в статье Сухова в радио 10 за 90 год. крайние резисторы уменьшай в обвязке переменников в РТ. и только
 
Последнее редактирование:

KSV

1 ранг
Регистрация
10 Июн 2020
Сообщения
7,000
Реакции
7,239
Репутация
257
Страна
Россия
Город
Москва
Имя
Сергей
собрал Шушурина 78, менял разные транзисторы по выходу, больше всех понравились КТ808А и 2SC2625 из компьютерных блоков питания. D209 и 13009 играют чуть тише
Тише - это "мне так показалось" или было измерено на нагрузке? Уверен - первое.
можно разные пробовать ставить, но обязательно прослушивать и каждый раз выставлять ток покоя. А вот КТ803А у меня играли с хрипцой, почему я так и не понял, но они вообще не грелись.
А патамушта ток покоя как раз не выставлялся. Доказательство - резко меньший нагрев, значит работали в классе В, значит ток покоя выставлен не был.
Кстати, ток покоя выходного каскада тоже надо уметь выставлять, просто в разрыв цепи совать тестер нельзя.
И без осциллографа и ГПИ говорить о настройке можно очень условно.
Относительно "2SC2625 из компьютерных блоков питания", как в песне поётся "я тебя слепила из того что было, а потом и полюбила".
Ставить подножные транзисторы не есть хорошо. Эти высоковольтные переключательные, напряжение 400 В здесь не нужно, а то что h21э от 10 - это печально. Кроме того, смена транзисторов, особенно на быстрые, может выйти боком и вызвать нестабильность вплоть до возбуждения (которое часто бывает на ВЧ а потому явно не слышно). В данном случае, при замене транзисторов на подножные, нужен контроль осциллографом и, возможно, подстройка цепей коррекции. Поэтому просто перетыком меня транзисторы не есть хорошо.
Схема была разработана из возможностей "доставания" транзисторов в то время. Доставание - это не совсем покупка т. к. в радиомагазинах деталей практически не было, а их стоимость действовала отрезвляюще. Поэтому или спекули, или друзья-приятели, работающие где-то на производстве или в НИИ.
 

Tehnar

3 ранг
Регистрация
17 Янв 2024
Сообщения
207
Реакции
9
Репутация
6
Страна
Беларусь
Город
Могилев
Имя
Александр
Тише - это "мне так показалось" или было измерено на нагрузке? Уверен - первое.

А патамушта ток покоя как раз не выставлялся. Доказательство - резко меньший нагрев, значит работали в классе В, значит ток покоя выставлен не был.
Кстати, ток покоя выходного каскада тоже надо уметь выставлять, просто в разрыв цепи совать тестер нельзя.
И без осциллографа и ГПИ говорить о настройке можно очень условно.
Относительно "2SC2625 из компьютерных блоков питания", как в песне поётся "я тебя слепила из того что было, а потом и полюбила".
Ставить подножные транзисторы не есть хорошо. Эти высоковольтные переключательные, напряжение 400 В здесь не нужно, а то что h21э от 10 - это печально. Кроме того, смена транзисторов, особенно на быстрые, может выйти боком и вызвать нестабильность вплоть до возбуждения (которое часто бывает на ВЧ а потому явно не слышно). В данном случае, при замене транзисторов на подножные, нужен контроль осциллографом и, возможно, подстройка цепей коррекции. Поэтому просто перетыком меня транзисторы не есть хорошо.
Схема была разработана из возможностей "доставания" транзисторов в то время. Доставание - это не совсем покупка т. к. в радиомагазинах деталей практически не было, а их стоимость действовала отрезвляюще. Поэтому или спекули, или друзья-приятели, работающие где-то на производстве или в НИИ.
На самом деле играли чуть тише, у них Ку меньше. Я ничем не измерял. Всё на слух. Оставил КТ808А, просто потому что они у меня были. Их и планировал ставить. Многие оставляют транзисторы из комп блоков питания и не жалуются на возбуды. А ток покоя я контролирую на резисторе 0,51 Ом, в разрыв ничего не включаю. Смотрю в миллиВольтах. Примерно 11-12 мВ. Ток не более 40-45 мА. у меня Шушурин 78. Схема из Радио.
 
Регистрация
17 Июл 2022
Сообщения
3,250
Реакции
682
Репутация
59
Страна
Россия
Город
Санкт-Петербург
Предупреждений
1
На самом деле играли чуть тише, у них Ку меньше.
Этого не может быть, так как в усилителе работает ООС, хоть и не глубокая.
Изменения величины h21 выходных транзисторов сказываются только на уровне искажений УНЧ, но никак не на его "громкости".
 

Tehnar

3 ранг
Регистрация
17 Янв 2024
Сообщения
207
Реакции
9
Репутация
6
Страна
Беларусь
Город
Могилев
Имя
Александр
Тише - это "мне так показалось" или было измерено на нагрузке? Уверен - первое.

А патамушта ток покоя как раз не выставлялся. Доказательство - резко меньший нагрев, значит работали в классе В, значит ток покоя выставлен не был.
Кстати, ток покоя выходного каскада тоже надо уметь выставлять, просто в разрыв цепи совать тестер нельзя.
И без осциллографа и ГПИ говорить о настройке можно очень условно.
Относительно "2SC2625 из компьютерных блоков питания", как в песне поётся "я тебя слепила из того что было, а потом и полюбила".
Ставить подножные транзисторы не есть хорошо. Эти высоковольтные переключательные, напряжение 400 В здесь не нужно, а то что h21э от 10 - это печально. Кроме того, смена транзисторов, особенно на быстрые, может выйти боком и вызвать нестабильность вплоть до возбуждения (которое часто бывает на ВЧ а потому явно не слышно). В данном случае, при замене транзисторов на подножные, нужен контроль осциллографом и, возможно, подстройка цепей коррекции. Поэтому просто перетыком меня транзисторы не есть хорошо.
Схема была разработана из возможностей "доставания" транзисторов в то время. Доставание - это не совсем покупка т. к. в радиомагазинах деталей практически не было, а их стоимость действовала отрезвляюще. Поэтому или спекули, или друзья-приятели, работающие где-то на производстве или в НИИ.
Вот ещё интересный момент- на схеме указаны выходные КТ805, напряжение питания усилителя +36 В. Лично я их ставить не рискнул. Они же работают на грани. У них малое напряжение К-Э. Поэтому поставил КТ808А. Почему автор 805-е поставил? В те времена уже были 808-е.
 
Регистрация
12 Ноя 2019
Сообщения
28,311
Реакции
13,622
Репутация
395
Этого не может быть, так как в усилителе работает ООС, хоть и не глубокая.
Изменения величины h21 выходных транзисторов сказываются только на уровне искажений УНЧ, но никак не на его "громкости".
Абсолютно так. Громкость , то есть, усиление. задано парой резисторов в цепи ООС и ничем другим .

Вот ещё интересный момент- на схеме указаны выходные КТ805, напряжение питания усилителя +36 В. Лично я их ставить не рискнул. Они же работают на грани. У них малое напряжение К-Э. Поэтому поставил КТ808А. Почему автор 805-е поставил? В те времена уже были 808-е.
у 805-х малое К-Э? Они ж в телеках стояли в строчке...Кажется...
 

Вакула

2 ранг
Регистрация
6 Окт 2019
Сообщения
367
Реакции
132
Репутация
25
Страна
СССР
Предупреждений
5
Вот ещё интересный момент- на схеме указаны выходные КТ805, напряжение питания усилителя +36 В. Лично я их ставить не рискнул. Они же работают на грани. У них малое напряжение К-Э. Поэтому поставил КТ808А. Почему автор 805-е поставил? В те времена уже были 808-е.
У 805 малое напр. К-Э? Да ви што!
 

Tehnar

3 ранг
Регистрация
17 Янв 2024
Сообщения
207
Реакции
9
Репутация
6
Страна
Беларусь
Город
Могилев
Имя
Александр
у 805-х малое К-Э? Они ж в телеках стояли в строчке...Кажется...
А не КТ838 там стояли?

У 805 малое напр. К-Э? Да ви што!
Постоянное напряжение К-Э 60 В. Так в справочнике написано.

у 805-х малое К-Э? Они ж в телеках стояли в строчке...Кажется...
КТ805 напр. К-Э 60 В.
 

NEULO

1 ранг
Регистрация
14 Июл 2019
Сообщения
3,844
Реакции
1,960
Репутация
93
Возраст
52
Страна
Россия
Город
Одинцово
Предупреждений
4
1706302945163.png

КТ805 напр. К-Э 60 В.
это у КТ803
 
Регистрация
17 Июл 2022
Сообщения
3,250
Реакции
682
Репутация
59
Страна
Россия
Город
Санкт-Петербург
Предупреждений
1

М.Васильев

1 ранг
Регистрация
25 Янв 2022
Сообщения
2,297
Реакции
698
Репутация
54
Возраст
68
Страна
Россия
Город
Пестово
Имя
Максим
КТ805 напр. К-Э 60 В.
С каких это пор стовольтовые транзисторы стали 60 вольтовыми. А точнее 160 серии А и 135 остальные. Ток у них меньше, всего 5ампер, но емкость перехода 250 пф всего и 20мгц частотка
 
Регистрация
12 Ноя 2019
Сообщения
28,311
Реакции
13,622
Репутация
395
С каких это пор стовольтовые транзисторы стали 60 вольтовыми. А точнее 160 серии А и 135 остальные. Ток у них меньше, всего 5ампер, но емкость перехода 250 пф всего и 20мгц частотка
В том и фокус, что такие казалось бы слабые как КТ805б транзисторы применены в схеме мощника. А с другой стороны, для тех небогатых лет , 805-е уверенно были в продаже, в тех же телеателье, сам их там покупал. А с другой стороны, их частотные свойства повыше, чем у 808-х , питание намеренно взято под 8-омную нагрузку и если не пихать в схему все, что под руку попало, то усилитель работает на все сто проц.

У меня ещё проще, есть комп, в нем встроенная звуковая карта, выход сзади на материнской плате, зелененький такой, обыкновенный шнурок к усилителю, Шушурина 78, никакой лампы ! И кололнки С-50 или Вега 50 АС. Проигрыватель Винамп или АИМП или Jetaudio одно время долго его слушал. И всё.
Звуковуха внутри системного блока обычного кантупера вполне качественная .

А не КТ838 там стояли?
838-е стояли уже позднее в 3УСЦТ, рассчитаны на 1, 5 киловольта, аналог импортного BU208 .А 805-е в какой-то черно-белой гибридке. Или в кадровую шли, там импульсы обратного хода под 140 вольт.

Я так понимаю, они все А класса, т.е греются сильно?
да, по 20 -40 ватт тепловых высаживается на радиаторе . рука не держит, примерно 60-65 град.
 

Vik

2 ранг
Регистрация
21 Авг 2020
Сообщения
751
Реакции
427
Репутация
36
Имя
Виктор
А 805-е в какой-то черно-белой гибридке. Или в кадровую шли, там импульсы обратного хода под 140 вольт.
В моей "Виктория-001-стерео" на выходе стояли. Всяко было - и ток покоя накручивал, в клип вгонял - ни один не выгорел, несмотря на хилые радиаторы.
 

KSV

1 ранг
Регистрация
10 Июн 2020
Сообщения
7,000
Реакции
7,239
Репутация
257
Страна
Россия
Город
Москва
Имя
Сергей
На самом деле играли чуть тише, у них Ку меньше. Я ничем не измерял. Всё на слух.
Александр! Не хочу Вас обижать, но теорию схемотехники надо понемножку почитывать. Выходные каскады "тройки" в этом, да и почти во всех подобных усилителях собраны по схеме с ОК (общим коллектором), усиление по напряжению в них отсутствует вообще, они ослабляют сигнал по напряжению, уменьшают амплитуду. Но усиливает по току, чем выше усиление по току, тем меньшую по номиналу нагрузку можно подключать. Поэтому часто подобные УНЧ хорошо справляются с колонками 8 ом и хуже с 4 ом. Для второго случая нередко на выходе ставят по два транзистора параллельно вместо одного.
Слух он субъективен, Человек очень уязвим к внушению и самовнушению, поэтому приборы покажут т очно. Срвременные цифровые тесттеры терпимо работают на частотах до 1 кГц. Генератор можно взять от компьютера, поэтому лучше измерить, чем опираться на эмоции.
Оставил КТ808А, просто потому что они у меня были.
Это и понятно, и здесь они к месту. Но добавлю бочку дёгтя - желательно провести подбор транзисторов (особенно если их много) как по парметрам, так и по парности. И не только выходных транзисторов.
Увы, встроенные в тестеры измерители транзисторов, для транзисторов средней и большой мощности, не годятся. Надо научиться собирать наипростейшие схемы, и печатные платы здесь не нужны, достаточно картонок.
Многие оставляют транзисторы из комп блоков питания и не жалуются на возбуды.
А многие из этих не жалующихся способны определить возбуд? НЕТ. Без осциллографа иногда можно определить ЯВНОЕ возбуждение, если оно на звуковых частотах, а на ультразвуке часто можно определить по ненормальному нагреву транзисторов и повышенному току потребления.
Но есть такая вещь как неустойчивая работа, "подвозбуждение" которую покажет только осциллограф, а хороший слух поймёт что звук хуже ожидаемого.
А ток покоя я контролирую на резисторе 0,51 Ом, в разрыв ничего не включаю.
Правильно! Номинал можнео и уменьшить. Но так делают далеко не все.
Особенно нехорошо когда ждут тока в мА и включают на этом пределе тестер, а в момент включения ток может быть и амперный что не понравится тестеру.
Смотрю в миллиВольтах. Примерно 11-12 мВ. Ток не более 40-45 мА. у меня Шушурин 78. Схема из Радио.
Хорошо раз так. И напомню что ток покоя можно настроить любительским методом. Подают на вход очень слабый музыкальный сигнал, на выходе громкость минимальная, и регулируют ток покоя от минимума. При малом токе слышны искажения "ступенька", характерные хрипы. При увеличении тока до нормы, звук резко становится чистым.
Лишний ток покоя приводит к перегреву транзисторов, поэтому он не нужен.
 

М.Васильев

1 ранг
Регистрация
25 Янв 2022
Сообщения
2,297
Реакции
698
Репутация
54
Возраст
68
Страна
Россия
Город
Пестово
Имя
Максим
без установки одного из диодов на радиатор делать ток покоя выше 50-60 ма недопустимо. Словите саморазогрев мощника. Надоело одно и тоже повторять.
 
Регистрация
12 Ноя 2019
Сообщения
28,311
Реакции
13,622
Репутация
395
без установки одного из диодов на радиатор делать ток покоя выше 50-60 ма недопустимо. Словите саморазогрев мощника. Надоело одно и тоже повторять.
Неплохой вариант распаять линейку диодов у самого радиатора, пущай все греются.
 

Статистика форума

Темы
3,096
Сообщения
236,251
Пользователи
2,388
Новый пользователь
AlexxxV
Сверху Снизу